TOP
|
特許
|
意匠
|
商標
特許ウォッチ
Twitter
他の特許を見る
10個以上の画像は省略されています。
公開番号
2025170870
公報種別
公開特許公報(A)
公開日
2025-11-20
出願番号
2024075688
出願日
2024-05-08
発明の名称
ボールねじ装置
出願人
日本精工株式会社
代理人
弁理士法人酒井国際特許事務所
主分類
F16H
25/22 20060101AFI20251113BHJP(機械要素または単位;機械または装置の効果的機能を生じ維持するための一般的手段)
要約
【課題】圧入以外の方法以外で固定されるコマを備えたボールねじ装置を提供する。
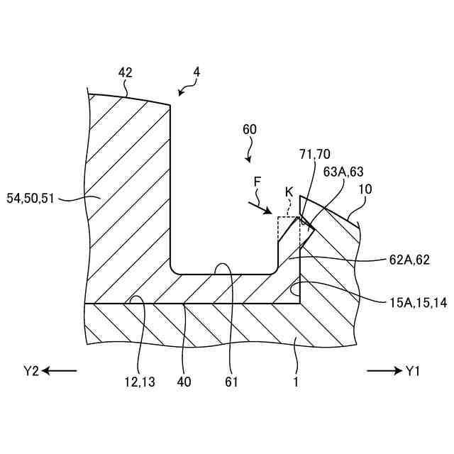
【解決手段】本開示のボールねじ装置は、外周面に外周軌道面が形成されたねじ軸と、内周面に内周軌道面が形成されたナットと、外周軌道面と内周軌道面との間に配置された複数のボールと、ボールを循環させるS字溝面が形成されたコマと、を備え、ねじ軸の外周面には、コマが挿入される取付穴が形成され、取付穴の内面は、コマの側面を囲む内周面を有し、コマは、S字溝面を挟んで軸方向の両側に配置される一対の横壁部を有し、一対の横壁部のうち少なくとも一方には、横壁部のうち内周面に接する部位に固定部が形成され、固定部は、横壁部の径方向外側を向く外径面の一部を径方向内側に凹ませてなる段差面と、段差面から径方向外側に延在する縦壁部と、縦壁部から内周面に向かって突出する凸部と、を有し、内周面には、凸部が入り込む凹部が形成されている。
【選択図】図5
特許請求の範囲
【請求項1】
外周面に外周軌道面が形成されたねじ軸と、
前記ねじ軸に挿入され、内周面に内周軌道面が形成されたナットと、
前記外周軌道面と前記内周軌道面との間に配置された複数のボールと、
前記ボールを循環させるS字溝面が形成されたコマと、
を備え、
前記ねじ軸の中心軸と平行な方向を軸方向とし、
前記ねじ軸の外周面には、前記コマが挿入される取付穴が形成され、
前記取付穴の内面は、前記コマの側面を囲む内周面を有し、
前記コマは、前記S字溝面を挟んで前記軸方向の両側に配置される一対の横壁部を有し、
一対の前記横壁部のうち少なくとも一方には、前記横壁部のうち前記内周面に接する部位に固定部が形成され、
前記固定部は、
前記横壁部の径方向外側を向く外径面の一部を径方向内側に凹ませてなる段差面と、
前記段差面から径方向外側に延在する縦壁部と、
前記縦壁部から前記内周面に向かって突出する凸部と、
を有し、
前記内周面には、前記凸部が入り込む凹部が形成されている
ボールねじ装置。
続きを表示(約 1,200 文字)
【請求項2】
前記コマ及び前記取付穴は、径方向から見て、前記コマの中央部を中心に点対称に形成され、
前記固定部及び前記凹部が2つ形成されている
請求項1に記載のボールねじ装置。
【請求項3】
前記凸部は、
前記縦壁部から周方向に突出する第1凸部と、
前記縦壁部から前記軸方向に突出する第2凸部と、
を有し、
前記凹部は、
前記第1凸部が入り込む第1凹部と、
前記第2凸部が入り込む第2凹部と、
を有している
請求項1又は請求項2に記載のボールねじ装置。
【請求項4】
前記凸部は、
前記縦壁部から周方向に突出する第1凸部、
又は、前記縦壁部から前記軸方向に突出する第2凸部、
であり、
前記凹部は、
前記第1凸部が入り込む第1凹部、
又は、前記第2凸部が入り込む第2凹部、
である
請求項1又は請求項2に記載のボールねじ装置。
【請求項5】
前記凸部は、前記取付穴に前記コマを挿入した後、前記縦壁部の径方向外側の端部を加締めることで形成された加締め部である
請求項1又は請求項2に記載のボールねじ装置。
【請求項6】
前記縦壁部は、弾性変形可能であり、
前記コマを前記取付穴に挿入するとき、前記縦壁部が弾性変形することで、前記凸部が前記凹部に入り込む
請求項1又は請求項2に記載のボールねじ装置。
【請求項7】
前記ねじ軸の前記外周面には、螺旋方向に延在するねじ溝面が形成され、
前記ねじ溝面は、前記コマの前記S字溝面に接続する前記外周軌道面のみを有している
請求項1又は請求項2に記載のボールねじ装置。
【請求項8】
前記ねじ軸の前記外周面には、螺旋方向に延在するねじ溝面が形成され、
前記ねじ溝面は、
前記コマの前記S字溝面に接続する前記外周軌道面と、
前記S字溝面と接続しない回路外ねじ溝面と、
を有している
請求項1又は請求項2に記載のボールねじ装置。
【請求項9】
前記取付穴の内周面には、前記外周軌道面を取付穴に開口させる一対の開口部が形成され、
前記コマは、一対の前記横壁部の間に配置され、前記S字溝面の径方向外側を覆う外壁部を有し、
前記外壁部には、前記S字溝面の径方向外側に配置され、かつ前記開口部に向かって突出する一対のタングが形成されている
請求項1又は請求項2に記載のボールねじ装置。
【請求項10】
前記コマの前記S字溝面の径方向外側は開口している
請求項1又は請求項2に記載のボールねじ装置。
発明の詳細な説明
【技術分野】
【0001】
本開示は、ボールねじ装置に関する。
続きを表示(約 1,500 文字)
【背景技術】
【0002】
ボールねじ装置は、回転運動を直線運動に変換したり、直線運動を回転運動に変換したりする装置である。ボールねじ装置は、ねじ軸と、ねじ軸に挿入されるナットと、ねじ軸とナットの間に配置される複数のボールと、循環部品と、を備えている。循環部品の一例として、ボールを約1リード戻すコマが挙げられる。また、下記特許文献1のボールねじ装置では、ねじ軸の外周面に取付穴が形成され、その取付穴にコマが挿入されている。
【先行技術文献】
【特許文献】
【0003】
国際公開第2023/145595号公報
【発明の概要】
【発明が解決しようとする課題】
【0004】
ところで、コマを取付穴に固定するため、コマに締め代を設け、コマを取付穴に圧入する方法が挙げられる。しかし、圧入する場合、コマや取付穴に高い寸法精度が要求され、生産性が低くなる。よって、圧入以外の方法によりコマを固定できることが望まれている。
【0005】
本開示は、上記に鑑みてなされたものであり、圧入以外の方法以外で固定されるコマを備えたボールねじ装置を提供することを目的とする。
【課題を解決するための手段】
【0006】
上記の目的を達成するため、本開示の一態様に係るボールねじ装置は、外周面に外周軌道面が形成されたねじ軸と、前記ねじ軸に挿入され、内周面に内周軌道面が形成されたナットと、前記外周軌道面と前記内周軌道面との間に配置された複数のボールと、前記ボールを循環させるS字溝面が形成されたコマと、を備えている。前記ねじ軸の中心軸と平行な方向を軸方向とする。前記ねじ軸の外周面には、前記コマが挿入される取付穴が形成されている。前記取付穴の内面は、前記コマの側面を囲む内周面を有している。前記コマは、前記S字溝面を挟んで前記軸方向の両側に配置される一対の横壁部を有している。一対の前記横壁部のうち少なくとも一方には、前記横壁部のうち前記内周面に接する部位に固定部が形成されている。前記固定部は、前記横壁部の径方向外側を向く外径面の一部を径方向内側に凹ませてなる段差面と、前記段差面から径方向外側に延在する縦壁部と、前記縦壁部から前記内周面に向かって突出する凸部と、を有している。前記内周面には、前記凸部が入り込む凹部が形成されている。
【0007】
本開示によれば、凸部が凹部に引っ掛かり、コマが取付穴から脱落しない。つまり、本会によれば、コマ及び取付穴に高い寸法精度が要求されず、生産性が向上する。
【0008】
また、前記したボールねじ装置において、前記コマ及び前記取付穴は、径方向から見て、前記コマの中央部を中心に点対称に形成されている。前記固定部及び前記凹部が2つ形成されている。
【0009】
固定部及び凹部が1つの場合、コマのうち、固定部に対し点対称となる部分が径方向外側に持ち上がり、コマがガタつく可能性がある。仮にコマがガタつくと、コマのS字溝面と外周軌道面との間でボールの受け渡しが円滑に行われない。一方、前記構成によれば、コマは、1つの固定部と、もう一つの固定部と、が点対称の位置に配置される。よって、コマのガタつきが回避される。よって、S字溝面と外周軌道面との間でボールの受け渡しが円滑に行われる。
【0010】
また、前記したボールねじ装置において、前記凸部は、前記縦壁部から周方向に突出する第1凸部と、前記縦壁部から前記軸方向に突出する第2凸部と、を有している。前記凹部は、前記第1凸部が入り込む第1凹部と、前記第2凸部が入り込む第2凹部と、を有している。
(【0011】以降は省略されています)
この特許をJ-PlatPat(特許庁公式サイト)で参照する
関連特許
日本精工株式会社
ボールねじ
3日前
日本精工株式会社
温度検出装置
25日前
日本精工株式会社
アクチュエータ
1か月前
日本精工株式会社
ボールねじ装置
2日前
日本精工株式会社
転がり案内装置
1か月前
日本精工株式会社
ボールねじ装置
1か月前
日本精工株式会社
円すいころ軸受
1か月前
日本精工株式会社
密封型転がり軸受
1か月前
日本精工株式会社
密封型転がり軸受
1か月前
日本精工株式会社
密封型転がり軸受
1か月前
日本精工株式会社
密封型転がり軸受
1か月前
日本精工株式会社
密封型転がり軸受
1か月前
日本精工株式会社
密封型転がり軸受
24日前
日本精工株式会社
密封型転がり軸受
1か月前
日本精工株式会社
密封型転がり軸受
1か月前
日本精工株式会社
モータ制御システム
1か月前
日本精工株式会社
磁歪式トルクセンサ
1か月前
日本精工株式会社
磁歪式トルクセンサ
2か月前
日本精工株式会社
逆入力遮断クラッチ
1か月前
日本精工株式会社
環境配慮型機械部品
15日前
日本精工株式会社
回転センサ一体型軸受
2日前
日本精工株式会社
アクチュエータシステム
1か月前
日本精工株式会社
直動案内装置の組立方法
1か月前
日本精工株式会社
ラジアルころ軸受用保持器
1か月前
日本精工株式会社
潤滑機能付き転がり軸受装置
2か月前
日本精工株式会社
ハブユニット軸受の製造方法
25日前
日本精工株式会社
直動案内装置及びその製造方法
1か月前
日本精工株式会社
片持ち回転ローラ配置型円形車輪
1か月前
日本精工株式会社
ころ軸受及びころ軸受の設計方法
1か月前
日本精工株式会社
ハブユニット軸受及びその製造方法
1か月前
協同油脂株式会社
グリース組成物
1か月前
日本精工株式会社
含油部材付歯車、直動アクチュエータ
1か月前
日本精工株式会社
歯車伝達機構および直動アクチュエータ
2日前
日本精工株式会社
深溝玉軸受用保持器、及びその製造方法
16日前
日本精工株式会社
細胞培養成形装置および細胞培養片の製造方法
2か月前
日本精工株式会社
光学式エンコーダユニット及び光学式エンコーダ
15日前
続きを見る
他の特許を見る