TOP
|
特許
|
意匠
|
商標
特許ウォッチ
Twitter
他の特許を見る
公開番号
2025158662
公報種別
公開特許公報(A)
公開日
2025-10-17
出願番号
2024061424
出願日
2024-04-05
発明の名称
円すいころ軸受
出願人
日本精工株式会社
代理人
弁理士法人栄光事務所
主分類
F16C
33/46 20060101AFI20251009BHJP(機械要素または単位;機械または装置の効果的機能を生じ維持するための一般的手段)
要約
【課題】円すいころの大径側端面の逃げと保持器との干渉を防止可能な円すいころ軸受を提供する。
【解決手段】保持器は、大径側円環部と、大径側円環部と同軸に配置される小径側円環部と、大径側円環部と小径側円環部とを軸方向に連結し、周方向に略等間隔に設けられる複数の柱部と、大径側円環部の軸方向内側面と、小径側円環部の軸方向内側面と、周方向に互いに隣り合う柱部と、の間にそれぞれ形成され、円すいころを転動可能に保持する複数のポケット部と、を備える。円すいころの大径側端面には、逃げが軸方向内側に向かって凹設される。大径側円環部の軸方向内側面のうち、少なくとも円すいころの逃げと重なる領域には、凹溝が軸方向外側に向かって凹設される。
【選択図】図1
特許請求の範囲
【請求項1】
内周面に外輪軌道面を有する外輪と、
外周面に内輪軌道面を有する内輪と、
前記外輪軌道面と前記内輪軌道面との間に転動可能に設けられる複数の円すいころと、
前記複数の円すいころを周方向に略等間隔に保持する保持器と、
を備える円すいころ軸受であって、
前記保持器は、
大径側円環部と、
前記大径側円環部と同軸に配置される小径側円環部と、
前記大径側円環部と前記小径側円環部とを軸方向に連結し、周方向に略等間隔に設けられる複数の柱部と、
前記大径側円環部の軸方向内側面と、前記小径側円環部の軸方向内側面と、周方向に互いに隣り合う前記柱部と、の間にそれぞれ形成され、前記円すいころを転動可能に保持する複数のポケット部と、
を備え、
前記円すいころの大径側端面には、逃げが軸方向内側に向かって凹設され、
前記大径側円環部の軸方向内側面のうち、少なくとも前記円すいころの前記逃げと重なる領域には、凹溝が軸方向外側に向かって凹設される、
ことを特徴とする円すいころ軸受。
続きを表示(約 540 文字)
【請求項2】
前記凹溝の周方向両端部は、前記大径側円環部の軸方向内側面と前記円すいころの前記逃げとが重なる領域よりも周方向外側に位置し、
前記凹溝の径方向外側端部は、前記大径側円環部の軸方向内側面と前記円すいころの前記逃げとが重なる領域よりも径方向外側に位置する、
請求項1に記載の円すいころ軸受。
【請求項3】
前記円すいころの大径側端面は、前記逃げの周囲に形成された環状面を含み、
前記凹溝の周方向両端部は、前記大径側円環部の軸方向内側面と前記円すいころの前記環状面とが重なる領域に形成される、
請求項2に記載の円すいころ軸受。
【請求項4】
前記凹溝は、前記大径側円環部の軸方向内側面の径方向内側端部から径方向外側端部までにわたって形成される、
請求項1に記載の円すいころ軸受。
【請求項5】
前記凹溝の周方向両端部は、径方向に向かって略直線状に延びる、
請求項1に記載の円すいころ軸受。
【請求項6】
前記凹溝の周方向両端部は、径方向内側から径方向外側に向かうにしたがって周方向に互いに近づくように延びる、
請求項1に記載の円すいころ軸受。
発明の詳細な説明
【技術分野】
【0001】
本発明は、円すいころ軸受に関する。
続きを表示(約 1,500 文字)
【背景技術】
【0002】
円すいころ軸受は、鉄道車両、自動車、建設機械、鉄鋼圧延機等の各種産業機械の回転軸を回転支持するために好適に用いられている。
【0003】
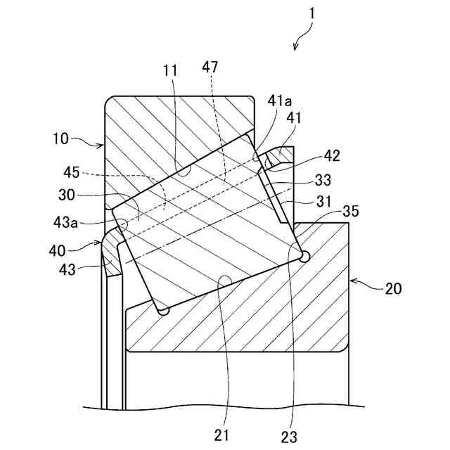
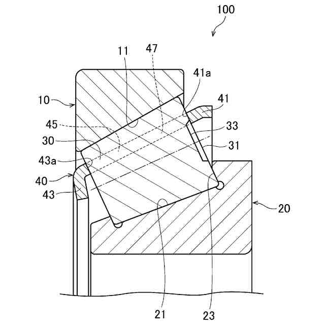
図5は、従来例に係る円すいころ軸受を示す断面図である。図5に示すように、円すいころ軸受100は、内周面に外輪軌道面11を有する外輪10と、外周面に内輪軌道面21を有する内輪20と、外輪軌道面11と内輪軌道面21との間に転動可能に設けられる複数の円すいころ30と、複数の円すいころ30を周方向に略等間隔に保持する保持器40と、を備える。
【0004】
保持器40は、大径側円環部41と、大径側円環部41と同軸に配置される小径側円環部43と、大径側円環部41と小径側円環部43とを軸方向に連結し、周方向に略等間隔に設けられる複数の柱部45と、大径側円環部41の軸方向内側面41aと、小径側円環部43の軸方向内側面43aと、周方向に互いに隣り合う柱部45と、の間にそれぞれ形成され、円すいころ30を転動可能に保持する複数のポケット部47と、を備える。
【0005】
このような、円すいころ軸受100においては、円すいころ30の大径側端面31が、内輪20の大鍔面23に案内されながら回転する。そのため、摩耗対策として、円すいころ30の大径側端面31や内輪20の大鍔面23には研削加工が施される。そして、円すいころ30の大径側端面31の中央部は、内輪20の大鍔面23に接しないため、加工コスト低減のために研削逃げ33が設けられる。
【0006】
図5の例のように、保持器40の大径側円環部41が円すいころ30の逃げ33と重なる場合、大径側円環部41の軸方向内側面41aと逃げ33とが干渉し、保持器40が摩耗する可能性がある。特に、接触角が急勾配の円すいころ軸受や、高速回転で使用される円すいころ軸受では、摩耗の可能性が高くなる傾向にある。発生した摩耗粉が、円すいころ軸受100の転動面や歯車の歯面に噛み込むと、不具合が生じることも有り得る。対策として、逃げ33の直径を小さくすることも考えられるが、研削加工時間の増加によるコスト増を招くことが懸念される。
【0007】
特許文献1には、円すいころの大端面の盗み部と内輪大鍔面とのエッジ当たりを防止して、円すいころの大端面や内輪の大鍔に摩耗やかじり等の使用初期から起こりやすい損傷を防止することを目的とした円すいころ軸受が開示されている。そのため、この円すいころ軸受では、円すいころの大端面の中央に盗み部を所定直径に形成し、この直径より外側の環状域に大鍔面との摺接部を設け、大鍔面と大鍔外周面との交差縁に面取り部を設け、この面取り部と大鍔面との境界に滑らかな逃げ面を設けている。これにより、面取り部と大鍔面との境界に形成されていたエッジがなくなり、エッジ当たりを起こさないことを図っている。
【先行技術文献】
【特許文献】
【0008】
特開2019-184018号公報
【発明の概要】
【発明が解決しようとする課題】
【0009】
しかしながら、特許文献1に記載の発明は、円すいころの大径側端面の盗み部と内輪の大鍔面とのエッジ当たり防止を目的とするものであり、円すいころの大径側端面の盗み部と保持器との干渉については考慮されていない。
【0010】
本発明は、前述した課題に鑑みてなされたものであり、その目的は、円すいころの大径側端面の逃げと保持器との干渉を防止可能な円すいころ軸受を提供することである。
【課題を解決するための手段】
(【0011】以降は省略されています)
この特許をJ-PlatPat(特許庁公式サイト)で参照する
関連特許
日本精工株式会社
ボールねじ
2日前
日本精工株式会社
温度検出装置
24日前
日本精工株式会社
ボールねじ装置
1日前
日本精工株式会社
転がり案内装置
1か月前
日本精工株式会社
ボールねじ装置
1か月前
日本精工株式会社
アクチュエータ
1か月前
日本精工株式会社
円すいころ軸受
1か月前
日本精工株式会社
密封型転がり軸受
1か月前
日本精工株式会社
密封型転がり軸受
1か月前
日本精工株式会社
密封型転がり軸受
1か月前
日本精工株式会社
密封型転がり軸受
1か月前
日本精工株式会社
密封型転がり軸受
1か月前
日本精工株式会社
密封型転がり軸受
1か月前
日本精工株式会社
密封型転がり軸受
23日前
日本精工株式会社
密封型転がり軸受
1か月前
日本精工株式会社
逆入力遮断クラッチ
29日前
日本精工株式会社
環境配慮型機械部品
14日前
日本精工株式会社
モータ制御システム
1か月前
日本精工株式会社
回転センサ一体型軸受
1日前
日本精工株式会社
ラジアルころ軸受用保持器
1か月前
日本精工株式会社
ハブユニット軸受の製造方法
24日前
日本精工株式会社
片持ち回転ローラ配置型円形車輪
1か月前
日本精工株式会社
ハブユニット軸受及びその製造方法
1か月前
日本精工株式会社
深溝玉軸受用保持器、及びその製造方法
15日前
日本精工株式会社
歯車伝達機構および直動アクチュエータ
1日前
日本精工株式会社
光学式エンコーダユニット及び光学式エンコーダ
14日前
日本精工株式会社
光学式エンコーダユニット及び光学式エンコーダ
14日前
日本精工株式会社
潤滑剤供給体及び潤滑剤供給体を配設した転動装置
1か月前
日本精工株式会社
データ読み取りシステムおよび設備保全管理システム
24日前
日本精工株式会社
圧電アクチュエータおよびマニピュレーションシステム
1日前
日本精工株式会社
圧電アクチュエータおよびマニピュレーションシステム
1か月前
日本精工株式会社
磁歪式トルクセンサの組立方法および磁歪式トルクセンサ
1か月前
日本精工株式会社
トルクセンサの補正値取得方法および回転軸のトルク測定方法
1か月前
日本精工株式会社
ボールねじの偏荷重検出装置、偏荷重検出方法、およびプログラム
1か月前
日本精工株式会社
軸受診断装置及び軸受診断方法
14日前
個人
留め具
1か月前
続きを見る
他の特許を見る