TOP
|
特許
|
意匠
|
商標
特許ウォッチ
Twitter
他の特許を見る
10個以上の画像は省略されています。
公開番号
2025166550
公報種別
公開特許公報(A)
公開日
2025-11-06
出願番号
2024070649
出願日
2024-04-24
発明の名称
保持具
出願人
株式会社パイオラックス
代理人
個人
主分類
F16B
7/04 20060101AFI20251029BHJP(機械要素または単位;機械または装置の効果的機能を生じ維持するための一般的手段)
要約
【課題】取付パネルに取り付けた際に保持具が取付パネルに当たって発生する異音を抑え、異音を抑える構成を容易に形成できる保持具を提供する。
【解決手段】保持具10は、長尺部材を保持する。保持具10は、取付パネルに沿って延出する第1ベース部材12と、第1ベース部材12に支持され、長尺部材に当接する第1弾性部材14と、を備える。第1ベース部材12は、第1貫通孔を有する。第1弾性部材14は、第1貫通孔から第1ベース部材12よりも取付パネル側に向かって突出する第1突出部を有する。第1突出部は、第1貫通孔に係止して、第1ベース部材12が取付パネルから離れる方向の第1弾性部材の動きを制限する。
【選択図】図1
特許請求の範囲
【請求項1】
長尺部材を保持する保持具であって、
取付パネルに沿って延出する第1ベース部材と、
前記第1ベース部材に支持され、前記長尺部材に当接する第1弾性部材と、を備え、
前記第1ベース部材は、第1貫通孔を有し、
前記第1弾性部材は、前記第1貫通孔から前記第1ベース部材よりも前記取付パネル側に向かって突出する第1突出部を有し、
前記第1突出部は、前記第1貫通孔に係止して、前記第1ベース部材が前記取付パネルから離れる方向の前記第1弾性部材の動きを制限することを特徴とする保持具。
続きを表示(約 430 文字)
【請求項2】
前記第1貫通孔は、前記第1貫通孔の対向する一対の内面に、前記取付パネルに向かって広がるように傾斜する傾斜面をそれぞれ有し、
前記突出部は、前記取付パネルに向かって広がるように傾斜して一対の前記傾斜面に係止する一対の当接面を有することを特徴とする請求項1に記載の保持具。
【請求項3】
前記突出部は、前記取付パネルに近づくにつれて離れるように形成される一対の可撓片を有し、
前記当接面は、前記可撓片の外面に形成されることを特徴とする請求項2に記載の保持具。
【請求項4】
前記第1弾性部材と前記長尺部材を挟んで保持する第2弾性部材と、
前記第2弾性部材を支持する第2ベース部材と、をさらに備え、
前記第2ベース部材は、第2貫通孔を有し、
前記第2弾性部材は、前記第2貫通孔の中に突出して前記第2貫通孔に係止する第2突出部を有することを特徴とする請求項1または2に記載の保持具。
発明の詳細な説明
【技術分野】
【0001】
本発明は、長尺部材を保持して取付パネルに取り付けられる保持具に関する。
続きを表示(約 1,500 文字)
【背景技術】
【0002】
特許文献1には、ボディパネルに取り付けられ、長尺部材を保持する防振クランプが開示されている。この防振クランプは、長尺部材を保持する保持部と、ボディパネルのボルトに係止するための係止部とを有するクランプ本体と、クランプ本体の保持部を覆うようにクランプ本体に連結されるカバーと、長尺部材の第1の半周部分の側面を保持するようにクランプ本体に取り付けられた複数の第1のゴム部材と、長尺部材の第2の半周部分の側面を保持するように、カバーに取り付けられた複数の第2のゴム部材とを備える。ボディパネルに取り付けた状態でカバーは、ボディパネルに沿って配置される。
【先行技術文献】
【特許文献】
【0003】
特開2016-56927号公報
【発明の概要】
【発明が解決しようとする課題】
【0004】
特許文献1に記載の技術では、防振クランプが長尺部材からの入力を受けると、ボルトに係止する係止部を支点として傾き、カバーがボディパネルに当たって異音を発生することがある。
【0005】
本発明の目的は、取付パネルに取り付けた際に保持具が取付パネルに当たって発生する異音を抑え、異音を抑える構成を容易に形成できる保持具を提供することにある。
【課題を解決するための手段】
【0006】
上記課題を解決するために、本発明のある態様の保持具は、長尺部材を保持する保持具であって、取付パネルに沿って延出する第1ベース部材と、第1ベース部材に支持され、長尺部材に当接する第1弾性部材と、を備える。第1ベース部材は、第1貫通孔を有する。第1弾性部材は、第1貫通孔から第1ベース部材よりも取付パネル側に向かって突出する第1突出部を有する。第1突出部は、第1貫通孔に係止して、第1ベース部材が取付パネルから離れる方向の第1弾性部材の動きを制限する。
【発明の効果】
【0007】
本発明によれば、取付パネルに取り付けた際に保持具が取付パネルに当たって発生する異音を抑え、異音を抑える構成を容易に形成できる保持具を提供できる。
【図面の簡単な説明】
【0008】
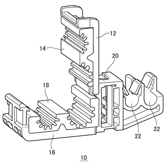
実施例の開状態の保持具の斜視図である。
長尺部材を保持して取付パネルに取り付けられた状態の保持具の斜視図である。
実施例の閉状態の保持具の斜視図である。
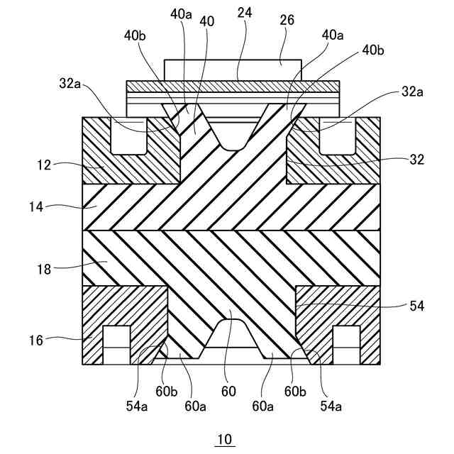
図4(a)は、保持具の正面図であり、図4(b)は、保持具の上面図である。
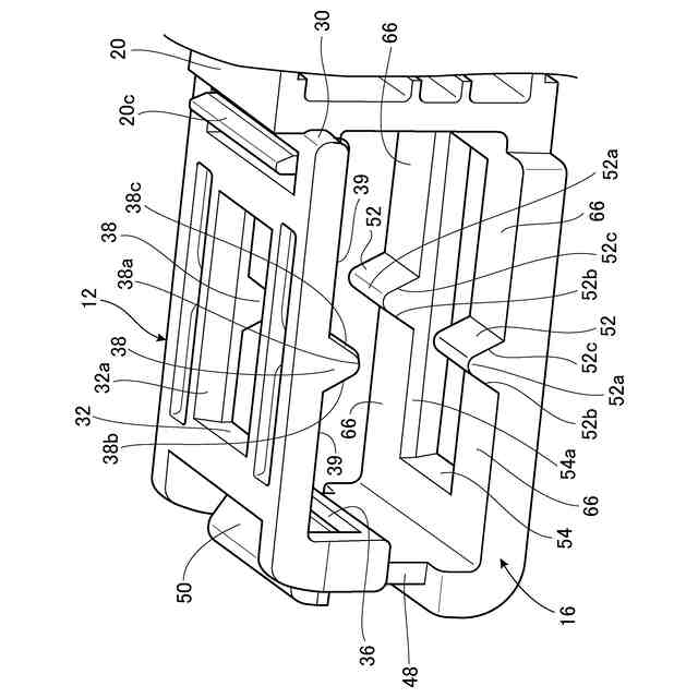
図4(b)に示す保持具の線分A-A断面図である。
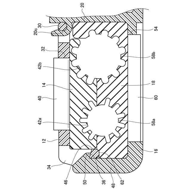
図4(b)に示す保持具の線分B-B断面図である。
取付状態の保持具の作用を説明するための図である。
第1ベース部材を閉状態にさせる動作について説明するための図である。
第1弾性部材および第2弾性部材を外した状態の保持具の斜視図である。
【発明を実施するための形態】
【0009】
図1は、実施例の開状態の保持具10の斜視図である。保持具10は、長尺部材を取付部材に取り付けるために用いられる。例えば、保持具10は、取付パネルに配管を固定するために使用される。長尺部材として配管や棒状体がある。
【0010】
保持具10は、第1ベース部材12、第1弾性部材14、第2ベース部材16、第2弾性部材18、固定部20および保持部22を備える。第2ベース部材16、固定部20および保持部22は一体に形成される。第1ベース部材12は、固定部20に軸支されて回転可能に設けられ、図1では開いた状態である。
(【0011】以降は省略されています)
この特許をJ-PlatPat(特許庁公式サイト)で参照する
関連特許
株式会社パイオラックス
留め具
3日前
株式会社パイオラックスメディカルデバイス
医療用線材
3日前
株式会社パイオラックス
回転アクチュエータ
10日前
個人
留め具
1か月前
個人
鍋虫ねじ
3か月前
個人
紛体用仕切弁
3か月前
個人
回転伝達機構
4か月前
個人
ホース保持具
7か月前
個人
差動歯車用歯形
5か月前
個人
給排気装置
2か月前
個人
ジョイント
2か月前
個人
地震の揺れ回避装置
4か月前
個人
ナット
2か月前
株式会社不二工機
電磁弁
5か月前
個人
ナット
1か月前
株式会社不二工機
電磁弁
6か月前
個人
吐出量監視装置
3か月前
個人
ゲート弁バルブ
18日前
カヤバ株式会社
緩衝器
5か月前
カヤバ株式会社
ダンパ
5か月前
カヤバ株式会社
ダンパ
5か月前
兼工業株式会社
バルブ
1か月前
カヤバ株式会社
緩衝器
5か月前
カヤバ株式会社
緩衝器
2か月前
柿沼金属精機株式会社
分岐管
3か月前
株式会社ノーリツ
分配弁
7か月前
個人
固着具と固着具の固定方法
6か月前
株式会社タカギ
水栓装置
4か月前
個人
固着具と固着具の固定方法
6か月前
株式会社不二工機
電動弁
2か月前
株式会社ニフコ
クリップ
18日前
株式会社ノーリツ
分配弁
2か月前
個人
固着具と固着具の固定方法
6か月前
日東電工株式会社
断熱材
7か月前
株式会社三五
ドライブシャフト
1か月前
アズビル株式会社
回転弁
2か月前
続きを見る
他の特許を見る