TOP
|
特許
|
意匠
|
商標
特許ウォッチ
Twitter
他の特許を見る
10個以上の画像は省略されています。
公開番号
2025170959
公報種別
公開特許公報(A)
公開日
2025-11-20
出願番号
2024075835
出願日
2024-05-08
発明の名称
回転センサ一体型軸受
出願人
日本精工株式会社
,
多摩川精機株式会社
代理人
個人
,
個人
,
個人
主分類
F16C
41/00 20060101AFI20251113BHJP(機械要素または単位;機械または装置の効果的機能を生じ維持するための一般的手段)
要約
【課題】回転軸の回転の検出精度が低下することを抑制する。
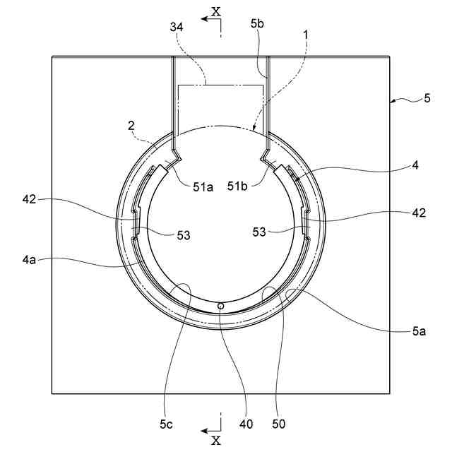
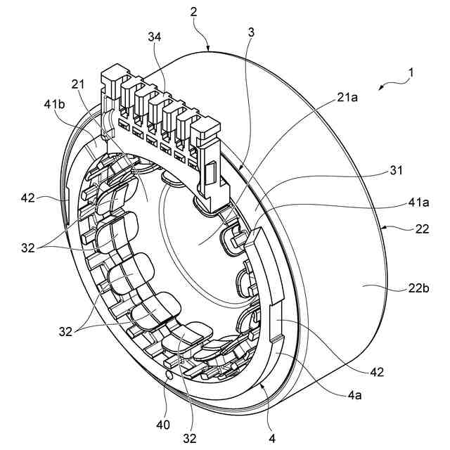
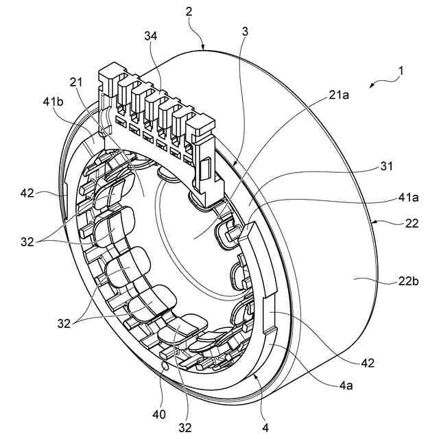
【解決手段】回転センサ一体型軸受1は、軸受2と、回転軸6の回転を検出するセンサステータ3と、センサステータ3に取り付けられた回転規制部材4とを備える。センサステータ3は、軸受2の外輪22の内径面22aに嵌め込まれる。回転規制部材4は、外輪22がハウジング5に取り付けられた状態において、軸受中心線Aを中心とするセンサステータ3の回転を規制するようにハウジング5に係合する。
【選択図】図2
特許請求の範囲
【請求項1】
回転軸が通される内輪、ハウジングに取り付けられる外輪、及び前記内輪と前記外輪との間に配置された複数の転動体を有する軸受と、
前記軸受の軸受中心線に沿った方向において前記内輪及び前記転動体と並んで配置され、前記回転軸の回転を検出する回転センサのセンサステータと、
前記センサステータに取り付けられた回転規制部材と、
を備え、
前記センサステータは、前記外輪の内径面に嵌め込まれ、
前記回転規制部材は、前記外輪が前記ハウジングに取り付けられた状態において、前記軸受中心線を中心とする前記センサステータの回転を規制するように前記ハウジングに係合する、回転センサ一体型軸受。
続きを表示(約 670 文字)
【請求項2】
前記回転規制部材は、
前記センサステータの外面のうち前記軸受中心線に沿った方向において前記内輪側とは反対側の部分に取り付けられると共に、前記軸受の径方向に変形可能又は変位可能に前記センサステータに取り付けられており、
前記外輪が前記ハウジングに取り付けられることによって前記ハウジングに設けられた押圧部に当接し、前記押圧部によって前記径方向の外側に押圧されることによって前記ハウジングの係合面に押し付けられて前記ハウジングに係合する、請求項1に記載の回転センサ一体型軸受。
【請求項3】
前記回転規制部材は、前記軸受中心線に沿った方向から見たときに一部が切り欠かれた環状を呈している、請求項2に記載の回転センサ一体型軸受。
【請求項4】
前記回転規制部材は、
前記センサステータの外面のうち、前記軸受中心線に沿った方向において前記内輪側とは反対側の部分に取り付けられており、
前記軸受の径方向の外側を向く面には、前記ハウジングの係合面に設けられた凸部又は凹部に係合する回転規制係合部が設けられている、請求項1に記載の回転センサ一体型軸受。
【請求項5】
前記回転規制係合部は、前記係合面に設けられた前記凸部に係合すると共に、前記軸受中心線に沿った方向に延在する溝状を呈し、
前記回転規制係合部における溝幅は、前記軸受中心線に沿った方向において前記センサステータに近づくにしたがって狭くなる、請求項4に記載の回転センサ一体型軸受。
発明の詳細な説明
【技術分野】
【0001】
本発明は、回転センサ一体型軸受に関する。
続きを表示(約 2,300 文字)
【背景技術】
【0002】
例えば特許文献1には、回転軸の回転を検出する回転センサが記載されている。このような回転センサでは、回転軸の回転を検出するセンサステータの位置(回転方向の位置)がずれると、回転の検出精度が低下する。このため、特許文献1に記載された回転センサでは、ハウジングに対してセンサステータのステータコアを複数のボルトによって固定することが行われている。
【先行技術文献】
【特許文献】
【0003】
特開2014-77693号公報
【発明の概要】
【発明が解決しようとする課題】
【0004】
ここで、回転センサのセンサステータと軸受の外輪とを一体化して、回転センサ一体型軸受とすることが考えられる。この場合、軸受の外輪にクリープが生じると、軸受に取り付けられたセンサステータもハウジングに対して回転してしまう。ハウジングに対してセンサステータの位置がずれることにより、回転センサ一体型軸受において回転軸の回転の検出精度が低下することが考えられる。
【0005】
そこで、本発明は、回転軸の回転の検出精度が低下することを抑制可能な回転センサ一体型軸受を提供することを目的とする。
【課題を解決するための手段】
【0006】
本発明に係る回転センサ一体型軸受は、[1]「回転軸が通される内輪、ハウジングに取り付けられる外輪、及び前記内輪と前記外輪との間に配置された複数の転動体を有する軸受と、前記軸受の軸受中心線に沿った方向において前記内輪及び前記転動体と並んで配置され、前記回転軸の回転を検出する回転センサのセンサステータと、前記センサステータに取り付けられた回転規制部材と、を備え、前記センサステータは、前記外輪の内径面に嵌め込まれ、前記回転規制部材は、前記外輪が前記ハウジングに取り付けられた状態において、前記軸受中心線を中心とする前記センサステータの回転を規制するように前記ハウジングに係合する、回転センサ一体型軸受。」である。
【0007】
センサステータには、センサステータの回転を規制する回転規制部材が取り付けられている。この回転規制部材は、回転センサ一体型軸受がハウジングに取り付けられたときに、ハウジングに係合することによってセンサステータの回転を規制する。このように、回転センサ一体型軸受は、センサステータの回転を規制することができ、回転軸の回転の検出精度が低下することを抑制することができる。
【0008】
本発明に係る回転センサ一体型軸受は、[2]「前記回転規制部材は、前記センサステータの外面のうち前記軸受中心線に沿った方向において前記内輪側とは反対側の部分に取り付けられると共に、前記軸受の径方向に変形可能又は変位可能に前記センサステータに取り付けられており、前記外輪が前記ハウジングに取り付けられることによって前記ハウジングに設けられた押圧部に当接し、前記押圧部によって前記径方向の外側に押圧されることによって前記ハウジングの係合面に押し付けられて前記ハウジングに係合する、上記[1]に記載の回転センサ一体型軸受。」であってもよい。この回転センサ一体型軸受では、ハウジングに取り付けられたときに、回転規制部材がハウジングに設けられた押圧部によって径方向の外側に押圧される。この押圧によって、回転規制部材がハウジングの係合面に押し付けられ、回転規制部材がハウジングに係合する。このように、この回転センサ一体型軸受では、回転規制部材がハウジングの係合面に押し付けられて係合することによって、センサステータの回転を規制することができる。
【0009】
本発明に係る回転センサ一体型軸受は、[3]「前記回転規制部材は、前記軸受中心線に沿った方向から見たときに一部が切り欠かれた環状を呈している、上記[2]に記載の回転センサ一体型軸受。」であってもよい。この場合、回転規制部材は、外輪がハウジングに取り付けられたときに切欠きの間隔が広がるように変形する。つまり、回転規制部材は、径方向の大きさが大きくなるように変形し、径方向の外側の面がハウジングの係合面に押し付けられる。このように、回転センサ一体型軸受は、径方向の大きさを変更可能な回転規制部材を用いて、センサステータの回転を規制することができる。
【0010】
本発明に係る回転センサ一体型軸受は、[4]「前記回転規制部材は、前記センサステータの外面のうち、前記軸受中心線に沿った方向において前記内輪側とは反対側の部分に取り付けられており、前記軸受の径方向の外側を向く面には、前記係合面に設けられた凸部又は凹部に係合する回転規制係合部が設けられている、上記[1]に記載の回転センサ一体型軸受。」であってもよい。この回転センサ一体型軸受は、回転規制部材に設けられた回転規制係合部が、係合面に設けられた凸部又は凹部に係合することによって、ハウジングに対するセンサステータの回転を規制する。つまり、このセンサステータは、直接ではなく、回転規制部材を介してハウジングに係合する。これにより、ハウジングの凸部等への係合に起因する応力(歪み)が、センサステータに直接加わることがない。したがって、回転センサ一体型軸受は、ハウジングに対するセンサステータの回転を抑制しつつ、センサステータの歪みに起因する回転の検出精度の低下を抑制することができる。
(【0011】以降は省略されています)
この特許をJ-PlatPat(特許庁公式サイト)で参照する
関連特許
日本精工株式会社
主軸装置
1日前
日本精工株式会社
搬送装置
14日前
日本精工株式会社
ボールねじ
23日前
日本精工株式会社
ボールねじ
7日前
日本精工株式会社
リニアガイド
16日前
日本精工株式会社
保持器及び軸受
3日前
日本精工株式会社
ボールねじ装置
22日前
日本精工株式会社
ボールねじ装置
3日前
日本精工株式会社
ハブユニット軸受
7日前
日本精工株式会社
直動案内装置の仮軸
7日前
日本精工株式会社
飛行体用回転支持装置
7日前
日本精工株式会社
飛行体用回転支持装置
7日前
日本精工株式会社
回転センサ一体型軸受
22日前
日本精工株式会社
センサ付き転がり軸受装置
14日前
日本精工株式会社
ねじ機構及びねじ機構の製造方法
7日前
日本精工株式会社
モータビルトイン方式の主軸装置
3日前
日本精工株式会社
モータビルトイン方式の主軸装置
14日前
日本精工株式会社
転動体の疲労き裂進展速度の測定方法
14日前
日本精工株式会社
歯車伝達機構および直動アクチュエータ
22日前
日本精工株式会社
円すいころ軸受用保持器及び円すいころ軸受
14日前
日本精工株式会社
引張強度予測方法及びダイカスト熱処理材の製造方法
7日前
日本精工株式会社
圧電アクチュエータおよびマニピュレーションシステム
22日前
日本精工株式会社
ホイールナット緩み検出システム及び該検出システムを備えるハブユニット軸受
14日前
日本精工株式会社
軸受診断装置及び軸受診断方法
1か月前
日本精工株式会社
サーボプレス機構、プレス加工方法、軸受の製造方法、機械装置の製造方法、及び車両の製造方法
9日前
日本精工株式会社
軸受要素の製造方法、筒状部材の製造方法、軸受要素、軸受、機械装置の製造方法、車両の製造方法、機械装置、および車両
16日前
個人
留め具
1か月前
個人
鍋虫ねじ
3か月前
個人
波動歯車装置
1日前
個人
回転伝達機構
4か月前
個人
紛体用仕切弁
3か月前
個人
給排気装置
2か月前
個人
ジョイント
2か月前
個人
ナット
2か月前
個人
地震の揺れ回避装置
4か月前
個人
ナット
1か月前
続きを見る
他の特許を見る