TOP
|
特許
|
意匠
|
商標
特許ウォッチ
Twitter
他の特許を見る
10個以上の画像は省略されています。
公開番号
2025181186
公報種別
公開特許公報(A)
公開日
2025-12-11
出願番号
2024089011
出願日
2024-05-31
発明の名称
主軸装置
出願人
日本精工株式会社
代理人
弁理士法人栄光事務所
主分類
F16C
33/76 20060101AFI20251204BHJP(機械要素または単位;機械または装置の効果的機能を生じ維持するための一般的手段)
要約
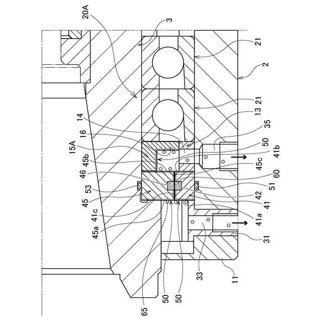
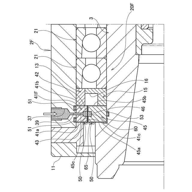
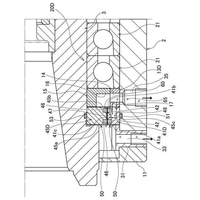
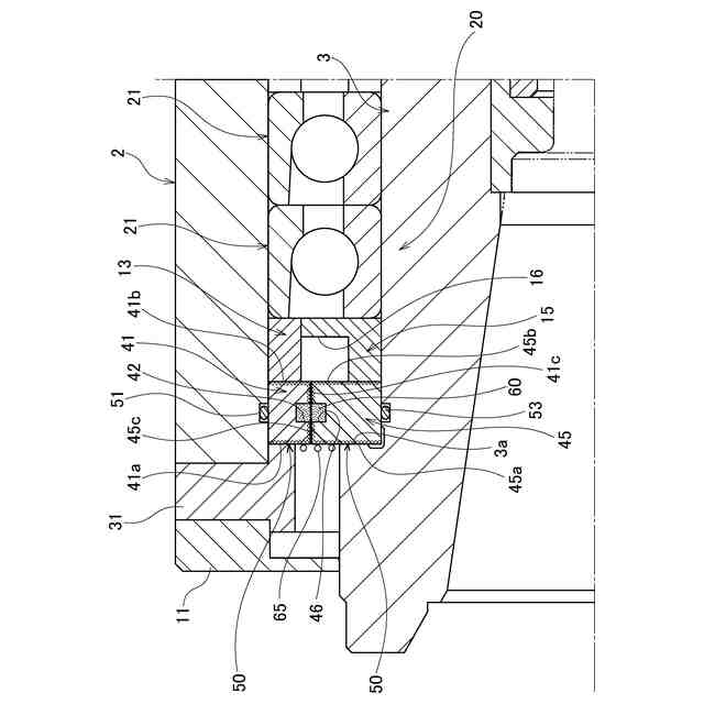
【課題】外部からの液体浸入を防止して防水性を高めることができる主軸装置を提供する。
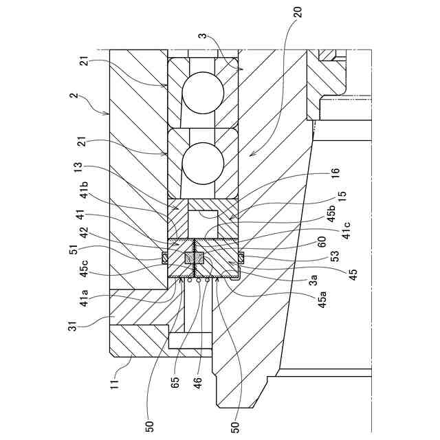
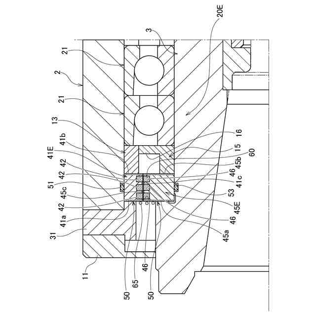
【解決手段】主軸装置は、ハウジング2と、ハウジング2に対して回転軸3を回転自在に支持する転がり軸受21と、液体雰囲気に曝される転がり軸受21の軸方向前方に配置されて転がり軸受21の外輪をハウジング2に対して軸方向に位置決めする第1外輪間座41と、第1外輪間座41の半径方向内方に配置されて転がり軸受21の内輪を回転軸3に対して軸方向に位置決めする第1内輪間座45と、互いに近接して対向する第1外輪間座41の内周面41c及び第1内輪間座45の外周面45cに設けられたグリース溜り凹部42,46と、第1外輪間座41及び第1内輪間座45の各表面に施された撥水・撥油効果を有する表面処理層50と、グリース溜り凹部42,46に充填されたグリース60と、を備える。
【選択図】図3
特許請求の範囲
【請求項1】
ハウジングと、
前記ハウジングに対して回転軸を回転自在に支持する転がり軸受と、
液体雰囲気に曝される前記転がり軸受の前方に配置されて前記転がり軸受の外輪を前記ハウジングに対して軸方向に位置決めする第1外輪間座と、
前記第1外輪間座の半径方向内方に配置されて前記転がり軸受の内輪を前記回転軸に対して軸方向に位置決めする第1内輪間座と、
互いに近接して対向する前記第1外輪間座の内周面及び前記第1内輪間座の外周面の少なくとも何れか一方に設けられたグリース溜り凹部と、
前記第1外輪間座及び前記第1内輪間座の各表面に施された撥水・撥油効果を有する表面処理層と、
前記グリース溜り凹部に充填されたグリースと、
を備えたことを特徴とする主軸装置。
続きを表示(約 690 文字)
【請求項2】
前記第1外輪間座の内周面及び前記第1内輪間座の外周面が、軸方向前方に向かって拡径するテーパ形状とされた、
ことを特徴とする請求項1に記載の主軸装置。
【請求項3】
前記グリース溜り凹部が、前記回転軸の軸方向に沿って配列された複数の周方向溝により構成された、
ことを特徴とする請求項1に記載の主軸装置。
【請求項4】
前記第1外輪間座の内周面に設けられた排出用周方向溝と、
前記排出用周方向溝と前記第1外輪間座の後方側端面とを連通する排出穴と、
を備えたことを特徴とする請求項3に記載の主軸装置。
【請求項5】
半径方向に貫通する排出口を有し、前記転がり軸受の外輪と前記第1外輪間座との間に介装された第2外輪間座と、
外周面の後方側端から半径方向内方に突設されたフランジ部を有し、前記転がり軸受の内輪と前記第1内輪間座との間に介装された第2内輪間座と、
前記第2内輪間座の表面に施された撥水・撥油効果を有する表面処理層と、
を備えたことを特徴とする請求項1に記載の主軸装置。
【請求項6】
前記グリース溜り凹部が、前記第1外輪間座の内周面にのみ設けられた、
ことを特徴とする請求項1に記載の主軸装置。
【請求項7】
前記第1外輪間座が、半径方向に貫通されて前記グリース溜り凹部に連通するグリース供給口を有し、
前記グリース溜り凹部にグリースを追加供給する、
ことを特徴とする請求項1に記載の主軸装置。
発明の詳細な説明
【技術分野】
【0001】
本発明は、主軸装置に関し、より詳細には、外部からの液体浸入を防止して防水性を高める主軸装置の改良に関する。
続きを表示(約 1,600 文字)
【背景技術】
【0002】
工作機械の主軸装置における主軸(スピンドル)の回転軸は、高速回転を行いながら切削加工や研削加工を行う。そして、その潤滑目的(例えば、被削特性(切れ味)の向上・工具刃先の磨耗を抑制し、工具寿命の延長を図るためなど)や、冷却目的(例えば、工具及び加工物の昇温抑制による加工精度向上・加工部位の発熱による溶着を抑え、加工効率の向上・熱(火花発生など)による被削物の表面性状や品位の劣化防止など)のため、多量の液体を加工部位に勢いよくかける必要がある。
【0003】
その結果、加工部位と主軸が近いこともあり、主軸前面にも液体が多量にかかることになる。この液体が軸受内部に入ると、軸受の潤滑不具合、焼付きなどをおこすことになるため、防水性能が重要となる。
【0004】
そこで、従来から主軸装置には、グリース封入潤滑やグリース補給潤滑、或いは、オイル&エア潤滑やオイルミスト潤滑などが用いられている。
特に、グリース封入潤滑やグリース補給潤滑の場合は、オイル&エア潤滑やオイルミスト潤滑と比べて、主軸内にエアを送り込んでいないため内圧が低く、防水性能が劣るため防水性能が重要となる。これに対し、オイル&エア潤滑やオイルミスト潤滑の場合は、内部にエアを送り込むことで、スピンドル内圧が外部圧(大気圧)より大きくなり、スピンドル内部から外部への空気流が発生し、外部からの液体が侵入しにくい。
【0005】
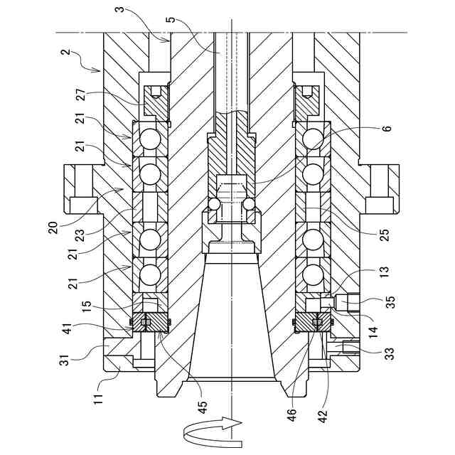
例えば、従来の主軸装置101は、図10に示すように、回転軸103に対して軸方向前方に配置される前側軸受装置120と、回転軸103に対して軸方向後方に配置される後側軸受装置(図示せず)とによって、回転軸103がハウジング102に対して回転自在に支持されている。
前側軸受装置120は、外輪間座123と内輪間座125を挟んで背面組合せされた4個の転がり軸受121を備えている。
【0006】
これら4個の転がり軸受121は、軸受外輪が前蓋113によりハウジング102に固定されると共に、軸受内輪がナット127により所定の予圧を与えられた状態で回転軸103に固定されている。回転軸103と軸受内輪との間には、回転軸103に外嵌された内輪間座115が介装されている。
【0007】
そして、回転軸103の前側にカバー111を配置し、その内部における回転軸103に装着された内輪間座115と前蓋113との隙間をラビリンス構造にすることにより、外部からの液体などの浸入を防止している。しかしながら、主軸前面に大量の液体が吹きかかると、液体がラビリンスを通り軸受内部へ浸入し、軸受破損に至る虞がある。
【0008】
そこで、特許文献1には、ハウジングと回転軸に装着される部材とでラビリンス隙間形成し、ラビリンス隙間を形成する両部材の表面に、撥水性被膜を設けて防水を行うことで、ベアリング部分の長寿命化を図ることができるベアリング防水機構が記載されている。
また、特許文献2には、出力軸の回転摺動部に当接するゴムシールの出力軸当接部にグリース溜りを設け、摺動部のシールへの部品精度の影響を少なくできる出力軸部の防水構造が記載されている。
【先行技術文献】
【特許文献】
【0009】
特開2002-327764号公報
特開2006-187076号公報
【発明の概要】
【発明が解決しようとする課題】
【0010】
しかしながら、上述した従来の防水構造では、工作機械の主軸装置のように大量の液体が吹きかかる場合には、軸受内部へ浸入する液体を十分に防止することが難しく、更なる防水性の向上が望まれている。
(【0011】以降は省略されています)
この特許をJ-PlatPat(特許庁公式サイト)で参照する
関連特許
日本精工株式会社
主軸装置
今日
日本精工株式会社
搬送装置
13日前
日本精工株式会社
ボールねじ
22日前
日本精工株式会社
ボールねじ
6日前
日本精工株式会社
温度検出装置
1か月前
日本精工株式会社
リニアガイド
15日前
日本精工株式会社
ボールねじ装置
2日前
日本精工株式会社
保持器及び軸受
2日前
日本精工株式会社
ボールねじ装置
21日前
日本精工株式会社
密封型転がり軸受
1か月前
日本精工株式会社
ハブユニット軸受
6日前
日本精工株式会社
環境配慮型機械部品
1か月前
日本精工株式会社
逆入力遮断クラッチ
1か月前
日本精工株式会社
直動案内装置の仮軸
6日前
日本精工株式会社
飛行体用回転支持装置
6日前
日本精工株式会社
回転センサ一体型軸受
21日前
日本精工株式会社
飛行体用回転支持装置
6日前
日本精工株式会社
センサ付き転がり軸受装置
13日前
日本精工株式会社
ハブユニット軸受の製造方法
1か月前
日本精工株式会社
モータビルトイン方式の主軸装置
13日前
日本精工株式会社
モータビルトイン方式の主軸装置
2日前
日本精工株式会社
ねじ機構及びねじ機構の製造方法
6日前
日本精工株式会社
転動体の疲労き裂進展速度の測定方法
13日前
日本精工株式会社
歯車伝達機構および直動アクチュエータ
21日前
日本精工株式会社
深溝玉軸受用保持器、及びその製造方法
1か月前
日本精工株式会社
円すいころ軸受用保持器及び円すいころ軸受
13日前
日本精工株式会社
光学式エンコーダユニット及び光学式エンコーダ
1か月前
日本精工株式会社
光学式エンコーダユニット及び光学式エンコーダ
1か月前
日本精工株式会社
引張強度予測方法及びダイカスト熱処理材の製造方法
6日前
日本精工株式会社
データ読み取りシステムおよび設備保全管理システム
1か月前
日本精工株式会社
圧電アクチュエータおよびマニピュレーションシステム
21日前
日本精工株式会社
軸受診断装置及び軸受診断方法
1か月前
日本精工株式会社
ホイールナット緩み検出システム及び該検出システムを備えるハブユニット軸受
13日前
日本精工株式会社
サーボプレス機構、プレス加工方法、軸受の製造方法、機械装置の製造方法、及び車両の製造方法
8日前
日本精工株式会社
軸受要素の製造方法、筒状部材の製造方法、軸受要素、軸受、機械装置の製造方法、車両の製造方法、機械装置、および車両
15日前
個人
留め具
1か月前
続きを見る
他の特許を見る