TOP
|
特許
|
意匠
|
商標
特許ウォッチ
Twitter
他の特許を見る
公開番号
2025162765
公報種別
公開特許公報(A)
公開日
2025-10-28
出願番号
2024066169
出願日
2024-04-16
発明の名称
ハブユニット軸受の製造方法
出願人
日本精工株式会社
代理人
弁理士法人貴和特許事務所
主分類
F16C
33/64 20060101AFI20251021BHJP(機械要素または単位;機械または装置の効果的機能を生じ維持するための一般的手段)
要約
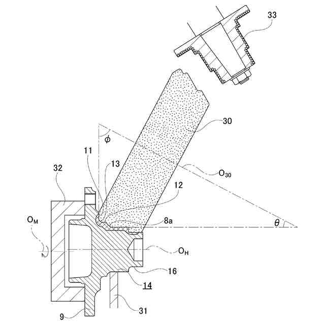
【課題】製造工程数を減らすことができ、製造コストの低減を図れる、ハブユニット軸受の製造方法を提供する。
【解決手段】ハブ3の表面のうちで、軸方向外側の内輪軌道8aと平面部11とを含む範囲に、研削砥石を用いて研削による仕上加工を施す工程と、該仕上加工を施した後、軸方向外側の内輪軌道8aと平面部11とを含む範囲に、弾性砥石30を用いて再加工を施す工程とを備え、弾性砥石30の中心軸O
30
と平面部11とのなす角度φが、弾性砥石30の中心軸O
30
とハブ3の中心軸O
H
とのなす角度θよりも大きい。
【選択図】図3
特許請求の範囲
【請求項1】
内周面に複列の外輪軌道を有する外輪と、
外周面に複列の内輪軌道、及び、前記外輪よりも軸方向外側に位置する部分に径方向外側に突出した回転フランジを有するハブと、
前記複列の外輪軌道と前記複列の内輪軌道との間に転動自在に配置された複数個の転動体と、
前記外輪の内周面と前記ハブの外周面との間に存在する転動体設置空間の軸方向外側の開口を塞ぐ外側シールリングと、
を備え、
前記ハブは、前記回転フランジの径方向内側の端部の軸方向内側面に備えられた平面部を有し、
前記外側シールリングは、前記平面部に先端部を摺接させる摺接リップを有する、
ハブユニット軸受の製造方法であって、
前記複列の内輪軌道のうちの軸方向外側の内輪軌道と前記平面部とを含む範囲に、総型の研削砥石を用いて研削による仕上加工を施す工程と、
前記仕上加工を施した後、前記軸方向外側の内輪軌道と前記平面部とを含む範囲に、弾性砥石を用いて再加工を施す工程と、
を備え、
前記弾性砥石の中心軸と前記平面部とのなす角度が、前記弾性砥石の中心軸と前記ハブの中心軸とのなす角度よりも大きい、
ハブユニット軸受の製造方法。
続きを表示(約 230 文字)
【請求項2】
前記仕上加工を施す工程において、前記研削砥石の外周面の母線形状は、ダイヤモンドホイールにより整形され、かつ、前記再加工を施す工程において、前記弾性砥石の外周面の母線形状は、ダイヤモンドホイールにより整形される、請求項1に記載のハブユニット軸受の製造方法。
【請求項3】
前記ハブの表面に対して前記仕上加工を施す範囲と、前記ハブの表面に対して前記再加工を施す範囲とが、互いに同じである、請求項1に記載のハブユニット軸受の製造方法。
発明の詳細な説明
【技術分野】
【0001】
本開示は、ハブユニット軸受の製造方法に関する。
続きを表示(約 980 文字)
【背景技術】
【0002】
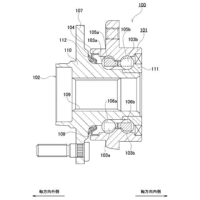
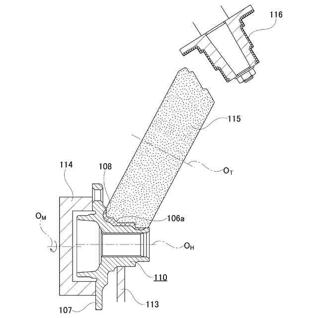
図5は、従来構造の1例のハブユニット軸受100を示している。
【0003】
ハブユニット軸受100に関して、軸方向外側は、車両への組付け状態で車両の幅方向外側となる図5の左側であり、軸方向内側は、車両への組付け状態で車両の幅方向中央側となる図5の右側である。
【0004】
ハブユニット軸受100は、自動車の車輪を懸架装置に対して回転自在に支持するために用いられ、外輪101と、ハブ102と、複数個の転動体103a、103bと、外側シールリング104とを備える。
【0005】
外輪101は、内周面に複列の外輪軌道105a、105bを有する。外輪101は、使用状態で、懸架装置に結合固定され、回転しない。
【0006】
ハブ102は、外周面に複列の内輪軌道106a、106b、及び、外輪101よりも軸方向外側に位置する部分に径方向外側に向けて突出した回転フランジ107を有する。ハブ102は、使用状態で、回転フランジ107に結合固定された車輪及び制動用回転部材と一体となって回転する。
【0007】
ハブ102は、回転フランジ107の径方向内側の端部の軸方向内側面に備えられた平面部108を有する。平面部108は、シール摺接面として用いられる。
【0008】
図示のハブユニット軸受100は駆動輪用であるため、ハブ102は、径方向中央部に、駆動軸をスプライン係合させるためのスプライン孔109を有する。
【0009】
ハブ102は、ハブ輪110と内輪111とを組み合わせて構成されている。ハブ輪110は、軸方向外側部に回転フランジ107、外周面の軸方向中間部に軸方向外側の内輪軌道106a、径方向中央部にスプライン孔109を有する。平面部108は、ハブ輪110に備えられている。内輪111は、外周面に軸方向内側の内輪軌道106bを有し、ハブ輪110の軸方向内側部に外嵌固定されている。
【0010】
転動体103a、103bは、複列の外輪軌道105a、105bと複列の内輪軌道106a、106bとの間に、それぞれの列ごとに複数個ずつ配置されている。
(【0011】以降は省略されています)
この特許をJ-PlatPat(特許庁公式サイト)で参照する
関連特許
他の特許を見る