TOP
|
特許
|
意匠
|
商標
特許ウォッチ
Twitter
他の特許を見る
公開番号
2025163454
公報種別
公開特許公報(A)
公開日
2025-10-29
出願番号
2024066727
出願日
2024-04-17
発明の名称
密封型転がり軸受
出願人
日本精工株式会社
代理人
弁理士法人栄光事務所
主分類
F16C
33/78 20060101AFI20251022BHJP(機械要素または単位;機械または装置の効果的機能を生じ維持するための一般的手段)
要約
【課題】高温、高荷重等の過酷な環境の中で継続的に使用した場合であっても、シール体が軸受から脱落したり、供回りしたりすることを、簡素且つ低コストな構成で防止する密封型転がり軸受を提供する。
【解決手段】外輪と、内輪と、複数の転動体と、外輪の内径部の外側端部に設けられたシールホルダ嵌合面に取付けられるシール体と、を備える密封型転がり軸受であって、シール体は、芯金円筒部及び芯金円輪部を有する断面L字状の芯金と、芯金に取付けられてシールホルダ嵌合面に密着するシール固定部及びシールリップ部を有する弾性材料からなるシール部材と、を備え、シールホルダ嵌合面は、第1係止凹部を備え、シール固定部は、第1係止凹部に係止される第1係止片を有する。
【選択図】図3
特許請求の範囲
【請求項1】
内径部に外輪軌道面が形成された外輪と、
外径部に内輪軌道面が形成された内輪と、
前記外輪軌道面と前記内輪軌道面との間に配置される複数の転動体と、
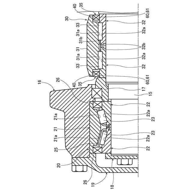
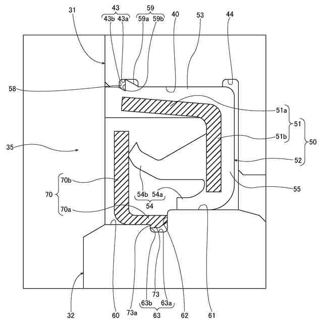
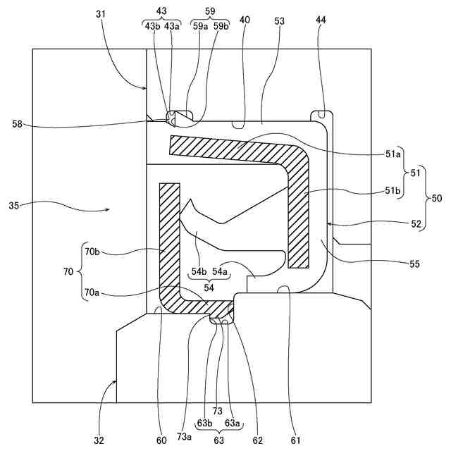
前記外輪の内径部の外側端部に設けられたシールホルダ嵌合面に取付けられて、前記外輪及び前記内輪の間に形成される隙間をシールするシール体と、
を備える密封型転がり軸受であって、
前記シール体は、芯金円筒部、及び前記芯金円筒部の内端部から前記内輪に向けて屈曲した芯金円輪部を有する断面L字状の芯金と、前記芯金に取付けられて前記シールホルダ嵌合面に密着するシール固定部、及びシールリップ部を有する弾性材料からなるシール部材と、を備え、
前記シールホルダ嵌合面は、軸方向に延在する底部と、前記底部から径方向に立ち上がる縁部と、を有する第1係止凹部を備え、
前記シール固定部は、径方向に突出することにより前記第1係止凹部に係止される第1係止片を有する、
密封型転がり軸受。
続きを表示(約 680 文字)
【請求項2】
前記第1係止片の径方向内側に、前記芯金円筒部が配置される、
請求項1に記載の密封型転がり軸受。
【請求項3】
前記第1係止凹部及び前記第1係止片は、前記シールホルダ嵌合面の軸方向外側に配置され、
前記芯金円筒部の外端部の外径側に前記第1係止片が配置される、
請求項2に記載の密封型転がり軸受。
【請求項4】
前記第1係止片は、幅方向の内側から外側に向かって拡径する傾斜面と、前記傾斜面の外側端部から前記シール固定部に接続する段差面と、を有し、
前記シール固定部が前記段差面と接続する部分に切欠部を形成した、
請求項1に記載の密封型転がり軸受。
【請求項5】
前記内輪の外径部には、前記シールリップ部が摺接するスリンガが設けられ、
前記スリンガは、前記内輪の外径部の外端部に設けられたスリンガ嵌合面に取り付けられるスリンガ円筒部と、前記スリンガ円筒部の外端から前記外輪に向けて屈曲されるスリンガ円輪部と、を有する断面L字状に形成され、
前記シールリップ部は、前記スリンガ円輪部に当接する、
請求項1~4の何れか1項に記載の密封型転がり軸受。
【請求項6】
前記スリンガ嵌合面は、軸方向に延在する底部と、前記底部から径方向に立ち上がる縁部と、を有する第2係止凹部を備え、
前記スリンガは、径方向内側に突出することにより第2係止凹部に係止される第2係止片を有する、
請求項5に記載の密封型転がり軸受。
発明の詳細な説明
【技術分野】
【0001】
本発明は、密封型転がり軸受に関し、より詳細には、例えば、焼結設備におけるパレット台車等に使用される密封型転がり軸受に関する。
続きを表示(約 1,700 文字)
【背景技術】
【0002】
焼結設備とは、製鉄所の前工程部にあるもので、鋼鉄品の原料であるパウダー状の鉄鉱石と、燃焼材となる粉コークスと、融材となる粉石灰と、をパレットと呼ばれる台車に積載してパレット台車の大きさに焼き固めるものである。パレットの形状に焼き固められた焼結鉱は、次の工程に必要とされる最適なサイズに破砕される。
【0003】
焼結原料を焼結設備内に搬送するパレット台車の車軸支持用として用いられる転がり軸受装置は、軸受ハウジング内に収容された転がり軸受でパレット台車の車軸を支持する構成となっている。このような転がり軸受装置は、800℃以上の高温環境下で使用されるため、大量の冷却水が噴射される。
【0004】
焼結設備内の粉塵や冷却水が軸受内部へ浸入することを防ぐため、軸受ハウジングにはシールが用いられている。しかしながら、高温環境、スケール等の異物、又は、メンテナンスの不備によって軸受内に粉塵や冷却水が浸入してしまうと、潤滑不良が発生して、軸受が早期に損傷する虞がある。
【0005】
特許文献1では、内輪の外周面又は外輪の内周面に設けられた段部に装着される円環状の芯金と、芯金を被覆する弾性部材を備えるシール部材と、段部の周面に近接して設けられた環状溝に装着される抜け止め部材と、を設けたシール付き転がり軸受が開示されている。
【先行技術文献】
【特許文献】
【0006】
特開2016-205442号公報
【発明の概要】
【発明が解決しようとする課題】
【0007】
特許文献1に記載のシール体は、シール部材の取外しを容易にすることによって、メンテナンス性の向上を意図するものであるが、パレット台車等に用いられる軸受は、高温、高荷重等の過酷な環境で使用されるため、シールホルダとなる外輪の変形、軸受の内圧増加、継続的な衝撃や振動等により、短い期間でシール体が軸受から脱落したり、供回りしたりする可能性がある。また、シール体の構造が複雑になって製造にコストも掛かるものである。
【0008】
本発明は、上記課題に鑑みてなされたものであり、高温、高荷重等の過酷な環境の中で継続的に使用した場合であっても、シール体が軸受から脱落したり、供回りしたりすることを、簡素且つ低コストな構成で防止する密封型転がり軸受を提供することを目的とする。
【課題を解決するための手段】
【0009】
本発明の上記目的は、下記[1]の構成によって達成される。
[1] 内径部に外輪軌道面が形成された外輪と、
外径部に内輪軌道面が形成された内輪と、
前記外輪軌道面と前記内輪軌道面との間に配置される複数の転動体と、
前記外輪の内径部の外側端部に設けられたシールホルダ嵌合面に取付けられて、前記外輪及び前記内輪の間に形成される隙間をシールするシール体と、
を備える密封型転がり軸受であって、
前記シール体は、芯金円筒部、及び前記芯金円筒部の内端部から前記内輪に向けて屈曲した芯金円輪部を有する断面L字状の芯金と、前記芯金に取付けられて前記シールホルダ嵌合面に密着するシール固定部、及びシールリップ部を有する弾性材料からなるシール部材と、を備え、
前記シールホルダ嵌合面は、軸方向に延在する底部と、前記底部から径方向に立ち上がる縁部と、を有する第1係止凹部を備え、
前記シール固定部は、径方向に突出することにより前記第1係止凹部に係止される第1係止片を有する、
密封型転がり軸受。
【発明の効果】
【0010】
本発明によれば、簡素且つ低コストな構成によって、高温、高荷重等の過酷な環境の中で継続的に使用した場合であっても、シール体が軸受から脱落したり、供回りしたりすることを防止できる。
【図面の簡単な説明】
(【0011】以降は省略されています)
この特許をJ-PlatPat(特許庁公式サイト)で参照する
関連特許
日本精工株式会社
搬送装置
1日前
日本精工株式会社
ボールねじ
2か月前
日本精工株式会社
ボールねじ
10日前
日本精工株式会社
温度検出装置
1か月前
日本精工株式会社
リニアガイド
3日前
日本精工株式会社
円すいころ軸受
1か月前
日本精工株式会社
ボールねじ装置
9日前
日本精工株式会社
アクチュエータ
1か月前
日本精工株式会社
ボールねじ装置
1か月前
日本精工株式会社
転がり案内装置
1か月前
日本精工株式会社
ハブユニット軸受
2か月前
日本精工株式会社
密封型転がり軸受
1か月前
日本精工株式会社
密封型転がり軸受
1か月前
日本精工株式会社
密封型転がり軸受
1か月前
日本精工株式会社
密封型転がり軸受
1か月前
日本精工株式会社
密封型転がり軸受
1か月前
日本精工株式会社
密封型転がり軸受
1か月前
日本精工株式会社
密封型転がり軸受
1か月前
日本精工株式会社
密封型転がり軸受
1か月前
日本精工株式会社
逆入力遮断クラッチ
1か月前
日本精工株式会社
磁歪式トルクセンサ
2か月前
日本精工株式会社
磁歪式トルクセンサ
1か月前
日本精工株式会社
環境配慮型機械部品
22日前
日本精工株式会社
モータ制御システム
1か月前
日本精工株式会社
回転センサ一体型軸受
9日前
日本精工株式会社
アクチュエータシステム
1か月前
日本精工株式会社
直動案内装置の組立方法
1か月前
日本精工株式会社
ボールねじ部品の製造方法
2か月前
日本精工株式会社
センサ付き転がり軸受装置
1日前
日本精工株式会社
ラジアルころ軸受用保持器
1か月前
日本精工株式会社
潤滑機能付き転がり軸受装置
2か月前
日本精工株式会社
ハブユニット軸受の製造方法
1か月前
日本精工株式会社
直動案内装置及びその製造方法
1か月前
日本精工株式会社
モータビルトイン方式の主軸装置
1日前
日本精工株式会社
回路放熱機構および回路放熱方法
2か月前
日本精工株式会社
ころ軸受及びころ軸受の設計方法
1か月前
続きを見る
他の特許を見る