TOP
|
特許
|
意匠
|
商標
特許ウォッチ
Twitter
他の特許を見る
公開番号
2025176104
公報種別
公開特許公報(A)
公開日
2025-12-03
出願番号
2025144673,2025511909
出願日
2025-09-01,2024-11-07
発明の名称
サーボプレス機構、プレス加工方法、軸受の製造方法、機械装置の製造方法、及び車両の製造方法
出願人
日本精工株式会社
代理人
個人
,
個人
,
個人
,
個人
主分類
B30B
1/18 20060101AFI20251126BHJP(プレス)
要約
【課題】制御が簡単で、かつ、高推力の発揮と高速化との両立を図れる、サーボプレス機構を提供する
【解決手段】サーボプレス機構(1)は、スライド(2)と、マスタ軸(5)を有するメインプレス部(3)と、スレーブ軸(6a、6b)を有するサブプレス部(4)とを備える。スライド(2)は、メインプレス部(3)による駆動に基づき、プレス方向である第1方向と、前記第1方向と異なる第2方向とに移動可能である。第1モードにおいて、サブプレス部(4)の補助を伴ってスライド(2)が駆動される。第2モードにおいて、サブプレス部(4)の実質的な補助無しでスライド(2)が駆動される。
【選択図】図1
特許請求の範囲
【請求項1】
スライドと、
マスタ軸を有するメインプレス部と、
スレーブ軸を有するサブプレス部と、
を備え、
前記スライドは、前記メインプレス部による駆動に基づき、プレス方向である第1方向と、前記第1方向と異なる第2方向とに移動可能であり、
前記サブプレス部の補助を伴って前記スライドが駆動される第1モードと、前記サブプレス部の実質的な補助無しで前記スライドが駆動される第2モードとの間で、前記サブプレス部と前記スライドとの間の機械的接続状態が変化する、
サーボプレス機構。
続きを表示(約 1,400 文字)
【請求項2】
前記スライドは、前記第1モードにおいて前記第1方向に移動し、前記第2モードにおいて前記第1方向又は前記第2方向に移動する、
請求項1に記載のサーボプレス機構。
【請求項3】
前記スライドに機械的に接続された伝達部をさらに備え、
前記第1モードにおいて前記サブプレス部が前記伝達部に機械的に接続され、前記第2モードにおいて前記サブプレス部と前記伝達部との間の機械的接続が解除状態である、
請求項1又は2に記載のサーボプレス機構。
【請求項4】
前記サブプレス部は、前記スレーブ軸として、第1スレーブ軸と第2スレーブ軸とを有し、
前記第1スレーブ軸と前記第2スレーブ軸とは、互いに離れて配置され、
前記第1モードにおいて前記第1スレーブ軸と前記第2スレーブ軸との両方が前記伝達部の一部材に当接され、前記第2モードにおいて前記第1スレーブ軸と前記第2スレーブ軸との両方が前記伝達部の前記一部材から離れる、
請求項3に記載のサーボプレス機構。
【請求項5】
前記サブプレス部又は前記伝達部は、前記サブプレス部が動作する際に生じる機械的なずれを吸収する構造を有する、
請求項3又は4に記載のサーボプレス機構。
【請求項6】
スライドと、
前記スライドを往復駆動し、前記スライドを往復平行移動させるとともに、前記スライドに推力を付加するマスタ軸を有する、メインプレス部と、
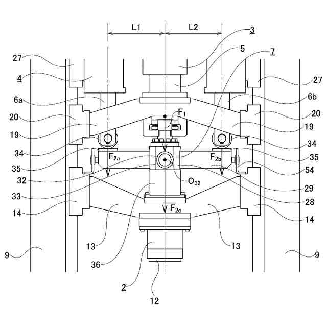
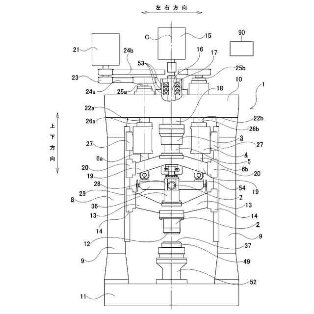
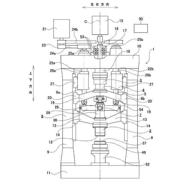
前記マスタ軸と並列に配置され、かつ、前記スライドを往復駆動せずに、前記スライドに推力を付加するスレーブ軸を有する、サブプレス部と、を備える、サーボプレス機構。
【請求項7】
前記スライドと前記マスタ軸とは、直接又は他の部材を介して、前記マスタ軸から前記スライドへのプレス方向及び反プレス方向の力の伝達を可能に連結されており、
前記スライドと前記スレーブ軸とは、直接又は他の部材を介しても連結されておらず、前記スレーブ軸から前記スライドへのプレス方向の力のみが伝達される、
請求項6に記載のサーボプレス機構。
【請求項8】
前記スライドと前記マスタ軸及び前記スレーブ軸との間に、伝達機構を備え、
前記伝達機構は、前記スレーブ軸に固定されておらず、プレス方向に関して前記スレーブ軸の前方側に、前記スレーブ軸と当接可能に配置されている、
請求項6又は7に記載のサーボプレス機構。
【請求項9】
前記サブプレス部は、複数本の前記スレーブ軸を有し、
前記伝達機構は、前記マスタ軸と同軸に配置された支持部材と、前記支持部材に対して前記マスタ軸の中心軸に直交する中心軸回りの揺動を可能に支持された揺動部材と、を有し、
前記揺動部材は、前記支持部材を挟んで両側に位置する部分が、前記スレーブ軸の先端部により押圧される、
請求項8に記載のサーボプレス機構。
【請求項10】
前記揺動部材のうちで前記支持部材を挟んで両側に位置する部分に推力を付加する複数本の前記スレーブ軸は、共通のサーボモータにより駆動される、請求項9に記載のサーボプレス機構。
(【請求項11】以降は省略されています)
発明の詳細な説明
【技術分野】
【0001】
本発明は、サーボプレス機構、プレス加工方法、軸受の製造方法、機械装置の製造方法、及び車両の製造方法に関する。
本願は、2024年2月7日に出願された特願2024-016904号に基づき優先権を主張し、その内容をここに援用する。
続きを表示(約 1,000 文字)
【背景技術】
【0002】
自動車や産業機械などの各種機械装置の製造工程には、プレス機構が使用されている。
【0003】
プレス機構には、代表的なものに、クランク式、リンク式、ナックル式などの変換機構を備えたプレス機構、及び、プレス軸が1軸の単軸式のプレス機構などがある。
【0004】
近年、プレス機構の技術分野では、省エネルギ化及び静音化への要求が高まっており、これらの要求に応えることができるサーボプレスへの需要が高まっている。
【0005】
単軸式のサーボプレスは、駆動源であるサーボモータと、サーボモータの回転を直線運動に変換するボールねじ機構などの回転直動変換機構とを含んで構成される。
【0006】
単軸式のサーボプレスは、サーボモータの仕様、及び回転直動変換機構の仕様により、推力の大きさと加工速度との関係が定まる。すなわち、推力の大きさと加工速度とは、サーボモータの定トルク領域を超えると、加工速度が速くなるほど推力が低下する関係を有している。したがって、単軸式のサーボプレスは、高推力の発揮と高速化との両立を図ることが困難である。
【0007】
特開2014-147956号公報には、複数のプレス軸を備えた多軸式のプレス機構が開示されている。
【0008】
特開2014-147956号公報に記載された従来構造のプレス機構は、1本のマスタ軸と、該マスタ軸と並列に配置された複数本のスレーブ軸とを有している。マスタ軸及び複数本のスレーブ軸は、それぞれ別々のサーボモータにより駆動され、それぞれの先端部がスライド(加圧プレート)に対して固定されている。
【0009】
特開2014-147956号公報に記載の従来構造のプレス機構によれば、金型が固定されるスライドに対して、マスタ軸及び複数本のスレーブ軸から推力を付加することができる。これにより、マスタ軸及びスレーブ軸のそれぞれが負担する推力が小さく、マスタ軸及び複数本のスレーブ軸を駆動するサーボモータが高い回転速度で駆動する。したがって、高推力の発揮と高速化との両立を図ることができる。
【先行技術文献】
【特許文献】
【0010】
特開2014-147956号公報
特開平11-221700号公報
【発明の概要】
【発明が解決しようとする課題】
(【0011】以降は省略されています)
この特許をJ-PlatPat(特許庁公式サイト)で参照する
関連特許
日本精工株式会社
搬送装置
9日前
日本精工株式会社
ボールねじ
18日前
日本精工株式会社
ボールねじ
2日前
日本精工株式会社
温度検出装置
1か月前
日本精工株式会社
リニアガイド
11日前
日本精工株式会社
アクチュエータ
1か月前
日本精工株式会社
ボールねじ装置
17日前
日本精工株式会社
転がり案内装置
1か月前
日本精工株式会社
ボールねじ装置
1か月前
日本精工株式会社
円すいころ軸受
1か月前
日本精工株式会社
密封型転がり軸受
1か月前
日本精工株式会社
密封型転がり軸受
1か月前
日本精工株式会社
密封型転がり軸受
1か月前
日本精工株式会社
密封型転がり軸受
1か月前
日本精工株式会社
密封型転がり軸受
1か月前
日本精工株式会社
密封型転がり軸受
1か月前
日本精工株式会社
密封型転がり軸受
1か月前
日本精工株式会社
ハブユニット軸受
2日前
日本精工株式会社
密封型転がり軸受
1か月前
日本精工株式会社
逆入力遮断クラッチ
1か月前
日本精工株式会社
環境配慮型機械部品
1か月前
日本精工株式会社
モータ制御システム
2か月前
日本精工株式会社
磁歪式トルクセンサ
2か月前
日本精工株式会社
直動案内装置の仮軸
2日前
日本精工株式会社
飛行体用回転支持装置
2日前
日本精工株式会社
飛行体用回転支持装置
2日前
日本精工株式会社
回転センサ一体型軸受
17日前
日本精工株式会社
直動案内装置の組立方法
2か月前
日本精工株式会社
アクチュエータシステム
2か月前
日本精工株式会社
ラジアルころ軸受用保持器
1か月前
日本精工株式会社
センサ付き転がり軸受装置
9日前
日本精工株式会社
ハブユニット軸受の製造方法
1か月前
日本精工株式会社
直動案内装置及びその製造方法
2か月前
日本精工株式会社
ねじ機構及びねじ機構の製造方法
2日前
日本精工株式会社
ころ軸受及びころ軸受の設計方法
2か月前
日本精工株式会社
モータビルトイン方式の主軸装置
9日前
続きを見る
他の特許を見る