TOP
|
特許
|
意匠
|
商標
特許ウォッチ
Twitter
他の特許を見る
10個以上の画像は省略されています。
公開番号
2025157733
公報種別
公開特許公報(A)
公開日
2025-10-16
出願番号
2024059932
出願日
2024-04-03
発明の名称
ボールねじ装置
出願人
日本精工株式会社
代理人
弁理士法人酒井国際特許事務所
主分類
F16H
25/22 20060101AFI20251008BHJP(機械要素または単位;機械または装置の効果的機能を生じ維持するための一般的手段)
要約
【課題】スリーブとナットの間に隙間が生じ難いボールねじ装置を提供する。
【解決手段】本開示のボールねじ装置は、ねじ軸と、ねじ軸に貫通されたナットと、ねじ軸とナットの間に配置された複数のボールと、ナットに取り付けられたコマと、ナットの外周面に嵌合する筒状のスリーブと、を備えている。ねじ軸と平行な方向を軸方向とする。軸方向と直交する方向を径方向とする。ナットには、ナットを径方向に貫通し、コマが収容される貫通孔と、ナットの外周面から径方向内側に窪み、かつ軸方向に延在する収容溝と、が形成されている。スリーブには、径方向内側に配置された収容溝に向って加締められてなる加締め部が形成されている。
【選択図】図3
特許請求の範囲
【請求項1】
ねじ軸と、
前記ねじ軸に貫通されたナットと、
前記ねじ軸と前記ナットの間に配置された複数のボールと、
前記ナットに取り付けられたコマと、
前記ナットの外周側に嵌合する筒状のスリーブと、
を備え、
前記ねじ軸と平行な方向を軸方向とし、
前記軸方向と直交する方向を径方向とし、
前記ナットには、
前記ナットを前記径方向に貫通し、前記コマが収容される貫通孔と、
前記ナットの外周面から径方向内側に窪み、かつ前記軸方向に延在する収容溝と、
が形成され、
前記スリーブには、前記径方向内側に配置された前記収容溝に向って加締められてなる加締め部が形成されている
ボールねじ装置。
続きを表示(約 990 文字)
【請求項2】
前記ナットの前記軸方向の一端部には、前記ナットの外周面よりも径方向外側に突出するフランジが形成され、
前記フランジの外径は、加締め前の前記スリーブの内径よりも大きい
請求項1に記載のボールねじ装置。
【請求項3】
前記収容溝は、前記ナットの前記軸方向の一端部まで延在し、
前記フランジには、前記収容溝により切り欠かれた第1切り欠きが形成されている
請求項2に記載のボールねじ装置。
【請求項4】
前記軸方向から視て、前記径方向と直交する方向を直交方向とし、
前記第1切り欠きの前記直交方向の長さは、前記収容溝の前記直交方向の長さよりも大きい
請求項3に記載のボールねじ装置。
【請求項5】
前記ナットの軸方向の他端部には、前記ナットの外周面よりも径方向外側に突出する抜け止め部が形成され、
前記抜け止め部の外径は、加締め前の前記スリーブの内径よりも小さい
請求項1に記載のボールねじ装置。
【請求項6】
前記抜け止め部の外径は、加締め後の前記スリーブの内径よりも大きい
請求項5に記載のボールねじ装置。
【請求項7】
前記収容溝は、前記ナットの前記軸方向の他端部まで延在し、
前記抜け止め部には、前記収容溝により切り欠かれた第2切り欠きが形成されている
請求項5又は請求項6に記載のボールねじ装置。
【請求項8】
前記抜け止め部の外径は、加締め後の前記スリーブの外径よりも大きい
請求項5又は請求項6に記載のボールねじ装置。
【請求項9】
前記抜け止め部の外周面には、滑り軸受が嵌合され、
前記滑り軸受の外径は、加締め後の前記スリーブの外径よりも大きい
請求項5又は請求項6に記載のボールねじ装置。
【請求項10】
前記ナットの軸方向の両端部には、前記ナットの外周面よりも径方向外側に突出する抜け止め部が形成され、
前記抜け止め部の外径は、加締め前の前記スリーブの内径よりも小さく、かつ加締め後の前記スリーブの外径よりも大きい
請求項1に記載のボールねじ装置。
(【請求項11】以降は省略されています)
発明の詳細な説明
【技術分野】
【0001】
本開示は、ボールねじ装置に関する。
続きを表示(約 1,500 文字)
【背景技術】
【0002】
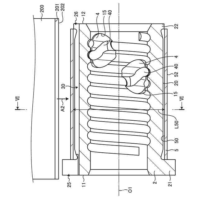
ボールねじ装置は、ねじ軸と、ねじ軸に貫通されるナットと、ねじ軸とナットの間に配置された複数のボールと、循環部品と、を備えている。循環部品の一例として、ボールを約1リード戻すコマが挙げられる。下記特許文献1のボールねじ装置では、ナットに径方向に貫通する貫通孔が形成されている。この貫通孔にはコマが収容される。また、ナットの外周面に円筒状のスリーブが嵌合している。これにより、コマの径方向外側への移動(脱落)が規制されている。
【先行技術文献】
【特許文献】
【0003】
特許第7342912号公報
【発明の概要】
【発明が解決しようとする課題】
【0004】
ところで、ナットに対しスリーブの嵌合を容易とするため、一般的にスリーブの内径をナットの外径よりも僅かに大きく形成している。これによれば、スリーブとナットとの間に隙間が形成され、この隙間の分だけコマが径方向外側に移動可能となる。そして、コマが移動すると、ボールねじ装置の作動性が損なわれる。
【0005】
本開示は、上記に鑑みてなされたものであり、スリーブとナットの間に隙間が生じ難いボールねじ装置を提供することを目的とする。
【課題を解決するための手段】
【0006】
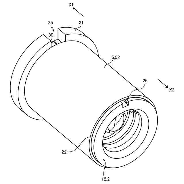
上記の目的を達成するため、本開示の一態様に係るボールねじ装置は、ねじ軸と、前記ねじ軸に貫通されたナットと、前記ねじ軸と前記ナットの間に配置された複数のボールと、前記ナットに取り付けられたコマと、前記ナットの外周側に嵌合する筒状のスリーブと、を備えている。前記ねじ軸と平行な方向を軸方向とする。前記軸方向と直交する方向を径方向とする。前記ナットには、前記ナットを前記径方向に貫通し、前記コマが収容される貫通孔と、前記ナットの外周面から径方向内側に窪み、かつ前記軸方向に延在する収容溝と、が形成されている。前記スリーブには、前記径方向内側に配置された前記収容溝に向って加締められてなる加締め部が形成されている。
【0007】
本開示によれば、ナットの外周側にスリーブを嵌合させた後、スリーブの一部を加締める。これにより、収容溝に入り込む加締め部が形成される。また、スリーブのうち加締められていない残部は、加締め部の方に引き寄せられ、スリーブが縮径する。よって、スリーブの内周面がナットの外周面に密着する。以上から、スリーブとナットの間に隙間が発生しない。また、本開示によれば、加締め前のスリーブの内径は、加締め後のスリーブの内径よりも大きい。よって、ナットにスリーブを嵌合する作業が容易となる。さらに、スリーブが縮径するため、スリーブは外周側からナットを締め付ける。よって、スリーブが軸方向に移動し難い。
【0008】
また、前記したボールねじ装置において、前記ナットの前記軸方向の一端部には、前記ナットの外周面よりも前記径方向外側に突出するフランジが形成されている。前記フランジの外径は、加締め前の前記スリーブの内径よりも大きい。
【0009】
前記構成によれば、フランジにより、スリーブの軸方向の一方への移動が規制される。
【0010】
また、前記したボールねじ装置において、前記収容溝は、前記ナットの前記軸方向の一端部まで延在している。前記フランジには、前記収容溝により切り欠かれた第1切り欠きが形成されている。
(【0011】以降は省略されています)
この特許をJ-PlatPat(特許庁公式サイト)で参照する
関連特許
日本精工株式会社
温度検出装置
21日前
日本精工株式会社
転がり案内装置
1か月前
日本精工株式会社
ボールねじ装置
1か月前
日本精工株式会社
アクチュエータ
27日前
日本精工株式会社
円すいころ軸受
1か月前
日本精工株式会社
密封型転がり軸受
20日前
日本精工株式会社
密封型転がり軸受
1か月前
日本精工株式会社
密封型転がり軸受
1か月前
日本精工株式会社
密封型転がり軸受
1か月前
日本精工株式会社
密封型転がり軸受
1か月前
日本精工株式会社
密封型転がり軸受
1か月前
日本精工株式会社
密封型転がり軸受
1か月前
日本精工株式会社
密封型転がり軸受
1か月前
日本精工株式会社
磁歪式トルクセンサ
1か月前
日本精工株式会社
モータ制御システム
1か月前
日本精工株式会社
環境配慮型機械部品
11日前
日本精工株式会社
逆入力遮断クラッチ
26日前
日本精工株式会社
ラジアルころ軸受用保持器
1か月前
日本精工株式会社
ハブユニット軸受の製造方法
21日前
日本精工株式会社
直動案内装置及びその製造方法
1か月前
日本精工株式会社
片持ち回転ローラ配置型円形車輪
1か月前
日本精工株式会社
ころ軸受及びころ軸受の設計方法
1か月前
日本精工株式会社
ハブユニット軸受及びその製造方法
1か月前
日本精工株式会社
深溝玉軸受用保持器、及びその製造方法
12日前
日本精工株式会社
光学式エンコーダユニット及び光学式エンコーダ
11日前
日本精工株式会社
光学式エンコーダユニット及び光学式エンコーダ
11日前
日本精工株式会社
潤滑剤供給体及び潤滑剤供給体を配設した転動装置
1か月前
日本精工株式会社
データ読み取りシステムおよび設備保全管理システム
21日前
日本精工株式会社
圧電アクチュエータおよびマニピュレーションシステム
1か月前
日本精工株式会社
磁歪式トルクセンサの組立方法および磁歪式トルクセンサ
1か月前
日本精工株式会社
トルクセンサの補正値取得方法および回転軸のトルク測定方法
1か月前
日本精工株式会社
ボールねじの偏荷重検出装置、偏荷重検出方法、およびプログラム
1か月前
日本精工株式会社
軸受診断装置及び軸受診断方法
11日前
個人
留め具
1か月前
個人
鍋虫ねじ
2か月前
個人
紛体用仕切弁
2か月前
続きを見る
他の特許を見る