TOP
|
特許
|
意匠
|
商標
特許ウォッチ
Twitter
他の特許を見る
10個以上の画像は省略されています。
公開番号
2025172407
公報種別
公開特許公報(A)
公開日
2025-11-26
出願番号
2024077899
出願日
2024-05-13
発明の名称
リニアガイド
出願人
日本精工株式会社
代理人
弁理士法人栄光事務所
主分類
F16C
29/06 20060101AFI20251118BHJP(機械要素または単位;機械または装置の効果的機能を生じ維持するための一般的手段)
要約
【課題】組付け誤差が生じた場合でも、ボールがスライダ本体のスライダ側軌道溝の端部における角部に衝突することで発生する騒音や、作動性の悪化を抑制することができるリニアガイドを提供する。
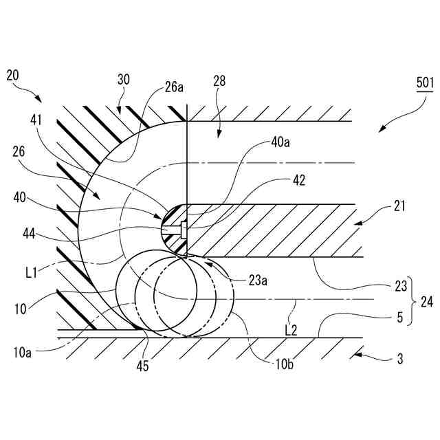
【解決手段】リニアガイド1は、レール側軌道溝5を有する案内レール3と、レール側軌道溝5と共に負荷転動路24を構成するスライダ側軌道溝23と転動体戻し路28とを有するスライダ本体21と、方向転換路26を有してスライダ本体21の軸方向の両端部にそれぞれ取り付けられる一対のエンドキャップ30と、多数のボール10と、を備える。負荷転動路24と転動体戻し路28とを連結する方向転換路26の中心軸線L1は、負荷転動路24の中心軸線L2に対し、案内レール3から離れる方向へオフセットして接続しており、スライダ側軌道溝23の両端部における角部23aには、オフセットの量Doよりも大きな面取り幅Wを有する面取り29が設けられる。
【選択図】図7
特許請求の範囲
【請求項1】
側面に長手方向に沿って形成されたレール側軌道溝を有する案内レールと、
前記レール側軌道溝と共に負荷転動路を構成するスライダ側軌道溝と、前記スライダ側軌道溝と略平行に形成された転動体戻し路とを有して前記案内レールを跨ぐようにスライド自在に係合するスライダのスライダ本体と、
前記負荷転動路と前記転動体戻し路とを連結する方向転換路を有して前記スライダ本体の軸方向の両端部にそれぞれ取り付けられる一対のエンドキャップと、
前記負荷転動路と前記転動体戻し路と前記方向転換路とを転動する多数のボールと、を備えるリニアガイドであって、
前記方向転換路の中心軸線は、前記負荷転動路の中心軸線に対し、前記案内レールから離れる方向へオフセットして接続しており、前記スライダ側軌道溝の両端部における角部には、前記オフセットの量よりも大きな面取り幅を有する面取りが設けられている、
ことを特徴とするリニアガイド。
続きを表示(約 110 文字)
【請求項2】
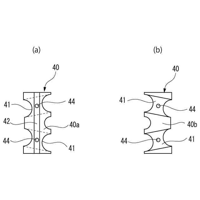
前記方向転換路内における前記ボールに対する遊び代をDbとし、前記オフセットの量をDoとしたとき、「2×Do/Db>1」の関係を有する、
ことを特徴とする請求項1に記載のリニアガイド。
発明の詳細な説明
【技術分野】
【0001】
本発明は、リニアガイドに関し、より詳細には、ボールがスライダ本体のスライダ側軌道溝の端部における角部に衝突することで発生する騒音や、作動性の悪化を抑制することができるリニアガイドに関する。
続きを表示(約 1,500 文字)
【背景技術】
【0002】
従来、リニアガイド(直動案内装置)は、軸方向に延びる案内レールと、案内レールに相対移動可能に跨架されたスライダと、を備えている。そして、案内レール及びスライダに形成された転動体循環路(転動体転動路)間を循環する複数のボール(球状転動体)を介して、スライダが案内レール上を軸方向に相対移動する。このようなリニアガイドは、各種生産設備の直線移動機構に多用されている。
【0003】
スライダのスライダ本体は、案内レールのレール側軌道溝と共に負荷転動路を構成するスライダ側軌道溝と、スライダ側軌道溝と略平行に形成された転動体戻し路とを有している。スライダ本体の軸方向の端部には、一対のエンドキャップがそれぞれ取り付けられてスライダを構成する。エンドキャップは、負荷転動路と転動体戻し路とを連結する方向転換路を有している。
【0004】
この方向転換路は、エンドキャップに形成された外周側壁面と、エンドキャップ内に組み込まれたリターンガイドに形成された内周側壁面とによって構成されている。また、負荷転動路は、案内レールに形成されたレール側軌道溝と、スライダ本体に形成されたスライダ側軌道溝とによって構成されている。
【0005】
そして、エンドキャップの方向転換路から負荷転動路に出入した複数のボールが、スライダ本体のスライダ側軌道溝の両端部における角部に繰り返し衝突することで、騒音が発生したり、作動性が悪化したりする等の問題が知られており、様々な対策が提案されている。
【0006】
例えば、特許文献1に開示された直線作動用ボールベアリング(リニアガイド)では、負荷側軌道(負荷転動路)との境界におけるボールリターン孔(転動体戻し路)における曲率面(外周側壁面)の曲率半径の中心をオフセットさせて、曲率面を負荷側軌道(レール側軌道溝)と連続させる構成としている。そこで、ボールが負荷側軌道とボールリターン孔との間を移動する際の段部を生じることがなく、円滑なボールの転動が得られる。
【0007】
また、特許文献2に開示された直動案内軸受装置(リニアガイド)では、曲線軌道出入口(転動体戻し路出入口)におけるボールの遊びを、曲線軌道内でのボールの遊び代より小さくして、曲線軌道出入口におけるボールの遊びを小さくした構成としている。そこで、ボールが周囲の案内部材やレールに衝突する回数が低減し、騒音が低減されると共に高作動性となる。
【先行技術文献】
【特許文献】
【0008】
実開昭59-103928号公報
特開2000-304045号公報
【発明の概要】
【発明が解決しようとする課題】
【0009】
しかしながら、上記特許文献1,2のリニアガイドでは、いずれもボールが転動体転動路にスムーズに出入りすることを狙った構成であるが、実際には部品の製造公差や組付け精度を考慮すると、狙い通りの循環路形状を持ったリニアガイドを製造することが難しいという問題があった。
【0010】
本発明は、前述した課題に鑑みてなされたものであり、その目的は組付け誤差が生じた場合でも、ボールがスライダ本体のスライダ側軌道溝の端部における角部に衝突することで発生する騒音や、作動性の悪化を抑制することができるリニアガイドを提供することにある。
【課題を解決するための手段】
(【0011】以降は省略されています)
この特許をJ-PlatPat(特許庁公式サイト)で参照する
関連特許
日本精工株式会社
搬送装置
1日前
日本精工株式会社
ボールねじ
10日前
日本精工株式会社
ボールねじ
2か月前
日本精工株式会社
遊星歯車装置
2か月前
日本精工株式会社
リニアガイド
2か月前
日本精工株式会社
リニアガイド
3日前
日本精工株式会社
温度検出装置
1か月前
日本精工株式会社
アクチュエータ
1か月前
日本精工株式会社
転がり案内装置
1か月前
日本精工株式会社
ボールねじ装置
1か月前
日本精工株式会社
円すいころ軸受
1か月前
日本精工株式会社
ボールねじ装置
9日前
日本精工株式会社
密封型転がり軸受
1か月前
日本精工株式会社
密封型転がり軸受
1か月前
日本精工株式会社
密封型転がり軸受
1か月前
日本精工株式会社
密封型転がり軸受
1か月前
日本精工株式会社
密封型転がり軸受
1か月前
日本精工株式会社
密封型転がり軸受
1か月前
日本精工株式会社
密封型転がり軸受
1か月前
日本精工株式会社
密封型転がり軸受
1か月前
日本精工株式会社
ハブユニット軸受
2か月前
日本精工株式会社
突入電流抑止回路
2か月前
日本精工株式会社
アンギュラ玉軸受
2か月前
日本精工株式会社
磁歪式トルクセンサ
1か月前
日本精工株式会社
モータ制御システム
1か月前
日本精工株式会社
逆入力遮断クラッチ
1か月前
日本精工株式会社
磁歪式トルクセンサ
2か月前
日本精工株式会社
環境配慮型機械部品
22日前
日本精工株式会社
回転センサ一体型軸受
9日前
日本精工株式会社
直動案内装置の組立方法
1か月前
日本精工株式会社
アクチュエータシステム
1か月前
日本精工株式会社
ボールねじ部品の製造方法
2か月前
日本精工株式会社
センサ付き転がり軸受装置
1日前
日本精工株式会社
絶縁転がり軸受の製造方法
2か月前
日本精工株式会社
ラジアルころ軸受用保持器
1か月前
日本精工株式会社
ハブユニット軸受の製造方法
1か月前
続きを見る
他の特許を見る