TOP
|
特許
|
意匠
|
商標
特許ウォッチ
Twitter
他の特許を見る
10個以上の画像は省略されています。
公開番号
2025162792
公報種別
公開特許公報(A)
公開日
2025-10-28
出願番号
2024066213
出願日
2024-04-16
発明の名称
温度検出装置
出願人
日本精工株式会社
,
TOPPANエッジ株式会社
代理人
弁理士法人酒井国際特許事務所
主分類
G01K
1/14 20210101AFI20251021BHJP(測定;試験)
要約
【課題】対象物に取り付け可能であり、対象物の温度の管理を容易にすることができる温度検出装置を提供すること。
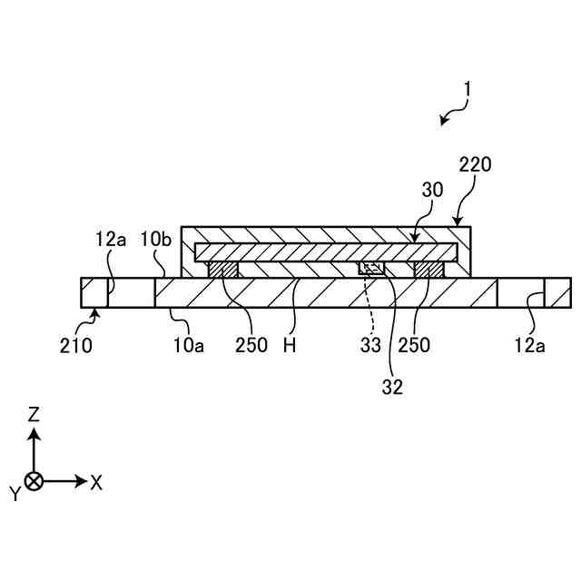
【解決手段】温度検出装置1は、対象物に取り付けられる金属板10と、金属板10に配置される絶縁部材20と、絶縁部材20の内側に位置し、金属板10と対向する第1板面31aおよび第1板面31aと反対側の第2板面31bを有する基板31を有するRFIDタグ30と、を備える。RFIDタグ30は、基板31の第1板面31aに配置される温度センサ33と、温度センサ33の検出温度をリーダ・ライタに送信するアンテナ34と、を備える。温度センサ33は、金属板10から離間する。
【選択図】図1
特許請求の範囲
【請求項1】
対象物に取り付けられる金属板と、
前記金属板に配置される絶縁部材と、
前記絶縁部材の内側に位置し、前記金属板と対向する第1板面および前記第1板面と反対側の第2板面を有する基板を有するRFIDタグと、を備え、
前記RFIDタグは、
前記基板の前記第1板面に前記金属板から離間する状態で配置される温度センサと、
前記温度センサの検出温度をリーダ・ライタに送信するアンテナと、を備える、
温度検出装置。
続きを表示(約 540 文字)
【請求項2】
前記温度センサは、前記絶縁部材から離間し、前記金属板と直接対向する、
請求項1に記載の温度検出装置。
【請求項3】
前記金属板は、前記温度センサが内側に位置する凹部を有し、前記RFIDタグと接触する、
請求項1に記載の温度検出装置。
【請求項4】
前記アンテナは、逆Fアンテナである、
請求項1に記載の温度検出装置。
【請求項5】
前記金属板は、
平面視において前記絶縁部材と重なる第1部位と、
平面視において前記第1部位を挟んで互いに反対側に位置し、前記絶縁部材と重ならない2つの第2部位と、を一体に有し、
前記2つの第2部位は、それぞれ、貫通穴を有する、
請求項1に記載の温度検出装置。
【請求項6】
前記金属板は、
平面視において前記絶縁部材と重なる第1部位と、
平面視において前記第1部位を挟んで互いに反対側に位置し、前記絶縁部材と重ならない2つの第2部位と、を一体に有し、
前記2つの第2部位は、それぞれ、平面視において互いに反対側に開放する一対の切り欠き部を有する、
請求項1に記載の温度検出装置。
発明の詳細な説明
【技術分野】
【0001】
本開示は、温度検出装置に関する。
続きを表示(約 1,200 文字)
【背景技術】
【0002】
特許文献1には、機械部品の一例として搬送装置用軸受ユニットが開示されている。特許文献1の機械部品は、ハウジング、ならびに、ハウジングに配置される軸受、軸受の状況を検出するセンサ、および、センサで検出した情報を無線送信する送信機を備える。
【0003】
軸受、センサおよび送信機は、ハウジング内に配置される。センサは、例えば、温度センサであり、軸受の温度を検出する。軸受の状態が変化すると、軸受の温度が上昇し、軸受の異常が発生することがある。特許文献1の機械部品は、温度センサの検出温度に基づいて軸受の異常を検出することに貢献することができる。
【先行技術文献】
【特許文献】
【0004】
特開2013-11312号公報
【発明の概要】
【発明が解決しようとする課題】
【0005】
特許文献1の搬送装置用軸受ユニットにおいては、温度センサが予め取り付けられている。一方で、温度センサを備えない機械部品においても、例えば機械部品の異常を検出するために当該機械部品に温度センサを後から追加して当該機械部品の温度を容易に管理したいとの要望がある。
【0006】
本開示は、対象物に取り付け可能であり、対象物の温度の管理を容易にすることができる温度検出装置を提供することを目的とする。
【課題を解決するための手段】
【0007】
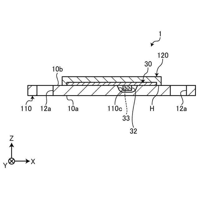
本開示の一態様に係る温度検出装置は、対象物に取り付けられる金属板と、前記金属板に配置される絶縁部材と、前記絶縁部材の内側に位置し、前記金属板と対向する第1板面および前記第1板面と反対側の第2板面を有する基板を有するRFIDタグと、を備え、前記RFIDタグは、前記基板の前記第1板面に前記金属板から離間する状態で配置される温度センサと、前記温度センサの検出温度をリーダ・ライタに送信するアンテナと、を備える。
【0008】
これによれば、金属板が対象物に取り付けられ、RFIDタグが備える温度センサが金属板を介して対象物の温度を検出する。温度センサの検出温度は、RFIDタグのアンテナからリーダ・ライタに送信される。よって、使用者は、リーダ・ライタによって温度センサの検出温度を取得し、容易に管理することができる。つまり、温度検出装置は、対象物に取り付け可能であり、対象物の温度の管理を容易にすることができる。
【0009】
また、本開示の一態様に係る温度検出装置において、前記温度センサは、前記絶縁部材から離間し、前記金属板と直接対向する。
【0010】
これによれば、温度センサは、絶縁部材の温度を検出しない。よって、温度センサは、金属板を介して対象物の温度を精度よく検出することができる。
(【0011】以降は省略されています)
この特許をJ-PlatPat(特許庁公式サイト)で参照する
関連特許
他の特許を見る