TOP
|
特許
|
意匠
|
商標
特許ウォッチ
Twitter
他の特許を見る
公開番号
2025157865
公報種別
公開特許公報(A)
公開日
2025-10-16
出願番号
2024060168
出願日
2024-04-03
発明の名称
密封型転がり軸受
出願人
日本精工株式会社
代理人
弁理士法人栄光事務所
主分類
F16C
33/78 20060101AFI20251008BHJP(機械要素または単位;機械または装置の効果的機能を生じ維持するための一般的手段)
要約
【課題】高温、高荷重等の過酷な環境の中で継続的に使用した場合であっても、シール体が軸受から脱落したり、供回りしたりすることを、簡素且つ低コストな構成で防止する密封型転がり軸受を提供する。
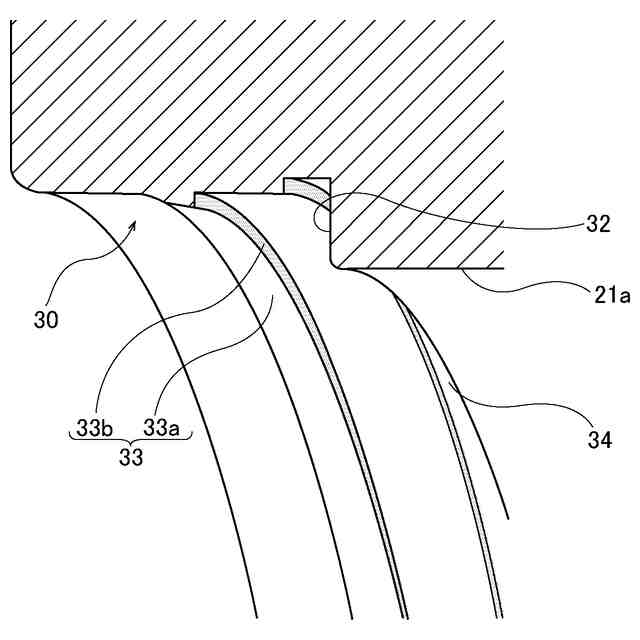
【解決手段】密封型転がり軸受は、内径部に外輪軌道面が形成された外輪と、外径部に内輪軌道面が形成された内輪と、複数の転動体と、外輪の内径部の外側端部に設けられたシールホルダ嵌合面に取付けられることによって外輪及び内輪の間に形成される隙間をシールするシール体と、を備える。シール体は、円筒部、及び前記円筒部の外端部から前記内輪に向けて屈曲した円輪部を有する断面L字状の芯金と、芯金に取付けられてシールホルダ嵌合面に密着するシール固定部、及びシールリップ部を有する弾性材料からなるシール部材と、を備え、シールホルダ嵌合面に、シール固定部に向けて径方向内側に突出する少なくとも1つの返し部を有する。
【選択図】図3
特許請求の範囲
【請求項1】
内径部に外輪軌道面が形成された外輪と、
外径部に内輪軌道面が形成された内輪と、
前記外輪軌道面と前記内輪軌道面との間に配置される複数の転動体と、
前記外輪の内径部の外側端部に設けられたシールホルダ嵌合面に取付けられて、前記外輪及び前記内輪の間に形成される隙間をシールするシール体と、
を備える密封型転がり軸受であって、
前記シール体は、円筒部、及び前記円筒部の外端部から前記内輪に向けて屈曲した円輪部を有する断面L字状の芯金と、前記芯金に取付けられて前記シールホルダ嵌合面に密着するシール固定部、及びシールリップ部を有する弾性材料からなるシール部材と、を備え、
前記シールホルダ嵌合面に、前記シール固定部に向けて径方向内側に突出する少なくとも1つの返し部を有する、
密封型転がり軸受。
続きを表示(約 560 文字)
【請求項2】
前記返し部は、前記シールホルダ嵌合面に対して平行に延在する前記円筒部と対向する範囲内に配置される、
請求項1に記載の密封型転がり軸受。
【請求項3】
前記返し部は、前記シールホルダ嵌合面の軸方向に複数並べて設けられる、
請求項1に記載の密封型転がり軸受。
【請求項4】
前記返し部と、前記シールホルダ嵌合面に沿った平坦部と、が軸方向に並べて交互に配置される、
請求項3に記載の密封型転がり軸受。
【請求項5】
前記返し部は、軸方向外側から軸方向内側に向かって傾斜する第1部分と、第1部分の軸方向内端から前記シールホルダ嵌合面に接続される第2部分と、を有し、
前記第2部分と前記シールホルダ嵌合面との間に形成される角度が、前記第1部分と前記シールホルダ嵌合面との間に形成される角度よりも大きい、
請求項1に記載の密封型転がり軸受。
【請求項6】
前記返し部は、円環状に形成された、
請求項1~5の何れか1項に記載の密封型転がり軸受。
【請求項7】
前記返し部は、環状に配置される複数の突部を断続的に設けて形成される、
請求項1~5の何れか1項に記載の密封型転がり軸受。
発明の詳細な説明
【技術分野】
【0001】
本発明は、密封型転がり軸受に関し、より詳細には、例えば、鉄鋼設備の圧延機に使用される密封型転がり軸受に関する。
続きを表示(約 1,600 文字)
【背景技術】
【0002】
従来、鉄鋼材による板材を製造する圧延機は、圧延時に鉄鋼材を圧迫挟持して圧延するワークロールと、該ワークロールの撓みを防止して均一な厚みの板材を得るため、ワークロールの外周面を転動自在に支える一段または複数段の中間ロールと、該中間ロールをその外側で支えてワークロールの撓みを防止するバックアップロールと、からなる多段圧延機が多く用いられている。
【0003】
形状精度の高い板製品を製造するため、圧延機ではロールの冷却、ロール間、即ち、ワークロールとバックアップロールとの間の潤滑、被圧延材とロールとの間の潤滑等に大量の圧延水がロールに向けて噴射されている。
【0004】
圧延水が軸受内部へ浸入することを防ぐため、軸受ハウジングにはシールが用いられている。しかしながら、高温環境、スケール等の異物、または、メンテナンスの不備によって軸受内に圧延水が浸入してしまうと、潤滑不良が発生して、軸受が早期に損傷する虞がある。
【0005】
特許文献1では、近年の高生産性、効率化、合理化を目的とした圧延機の高速化に伴う軸受内部の高圧化に対応しつつ、圧延水の軸受内部への浸入を防止するために、芯金と、スリンガと、芯金に取り付けられて、スリンガに接触するシールリップと、を備え、芯金に圧力を開放する排気孔を設けた、密封型転がり軸受が開示されている。
【先行技術文献】
【特許文献】
【0006】
特開2014-137090号公報
【発明の概要】
【発明が解決しようとする課題】
【0007】
特許文献1に記載のシール体は、芯金に形成した排気孔によって、軸受内部の圧力を外部空間に開放することを意図するものであるが、鉄鋼設備の圧延機に用いられる軸受は、高温、高荷重等の過酷な環境で使用されるため、シールホルダとなる外輪の変形、軸受の内圧増加、継続的な衝撃や振動等により、シール体が軸受から脱落したり、供回りしたりする可能性がある。また、シール体の製造にコストも掛かるものである。
【0008】
本発明は、上記課題に鑑みてなされたものであり、高温、高荷重等の過酷な環境の中で継続的に使用した場合であっても、シール体が軸受から脱落したり、供回りしたりすることを、簡素且つ低コストな構成で防止する密封型転がり軸受を提供することを目的とする。
【課題を解決するための手段】
【0009】
本発明の上記目的は、下記[1]の構成によって達成される。
[1] 内径部に外輪軌道面が形成された外輪と、
外径部に内輪軌道面が形成された内輪と、
前記外輪軌道面と前記内輪軌道面との間に配置される複数の転動体と、
前記外輪の内径部の外側端部に設けられたシールホルダ嵌合面に取付けられて、前記外輪及び前記内輪の間に形成される隙間をシールするシール体と、
を備える密封型転がり軸受であって、
前記シール体は、円筒部、及び前記円筒部の外端部から前記内輪に向けて屈曲した円輪部を有する断面L字状の芯金と、前記芯金に取付けられて前記シールホルダ嵌合面に密着するシール固定部、及びシールリップ部を有する弾性材料からなるシール部材と、を備え、
前記シールホルダ嵌合面に、前記シール固定部に向けて径方向内側に突出する少なくとも1つの返し部を有する、
密封型転がり軸受。
【発明の効果】
【0010】
本発明によれば、簡素且つ低コストな構成によって、高温、高荷重等の過酷な環境の中で継続的に使用した場合であっても、シール体が軸受から脱落したり、供回りしたりすることを防止できる。
【図面の簡単な説明】
(【0011】以降は省略されています)
この特許をJ-PlatPat(特許庁公式サイト)で参照する
関連特許
日本精工株式会社
ボールねじ
3日前
日本精工株式会社
温度検出装置
25日前
日本精工株式会社
ボールねじ装置
2日前
日本精工株式会社
密封型転がり軸受
24日前
日本精工株式会社
環境配慮型機械部品
15日前
日本精工株式会社
逆入力遮断クラッチ
1か月前
日本精工株式会社
回転センサ一体型軸受
2日前
日本精工株式会社
ハブユニット軸受の製造方法
25日前
日本精工株式会社
歯車伝達機構および直動アクチュエータ
2日前
日本精工株式会社
深溝玉軸受用保持器、及びその製造方法
16日前
日本精工株式会社
光学式エンコーダユニット及び光学式エンコーダ
15日前
日本精工株式会社
光学式エンコーダユニット及び光学式エンコーダ
15日前
日本精工株式会社
データ読み取りシステムおよび設備保全管理システム
25日前
日本精工株式会社
圧電アクチュエータおよびマニピュレーションシステム
2日前
日本精工株式会社
軸受診断装置及び軸受診断方法
15日前
個人
留め具
1か月前
個人
鍋虫ねじ
2か月前
個人
回転伝達機構
3か月前
個人
紛体用仕切弁
2か月前
個人
差動歯車用歯形
4か月前
個人
給排気装置
1か月前
個人
ジョイント
2か月前
株式会社不二工機
電磁弁
4か月前
株式会社不二工機
電磁弁
6か月前
個人
ナット
17日前
個人
地震の揺れ回避装置
4か月前
個人
ナット
2か月前
個人
吐出量監視装置
2か月前
個人
ゲート弁バルブ
2日前
柿沼金属精機株式会社
分岐管
3か月前
兼工業株式会社
バルブ
18日前
カヤバ株式会社
ダンパ
5か月前
カヤバ株式会社
ダンパ
5か月前
カヤバ株式会社
緩衝器
4か月前
カヤバ株式会社
緩衝器
4か月前
カヤバ株式会社
緩衝器
1か月前
続きを見る
他の特許を見る