TOP
|
特許
|
意匠
|
商標
特許ウォッチ
Twitter
他の特許を見る
公開番号
2025176788
公報種別
公開特許公報(A)
公開日
2025-12-05
出願番号
2024083104
出願日
2024-05-22
発明の名称
ハブユニット軸受
出願人
日本精工株式会社
代理人
弁理士法人貴和特許事務所
主分類
F16C
33/78 20060101AFI20251128BHJP(機械要素または単位;機械または装置の効果的機能を生じ維持するための一般的手段)
要約
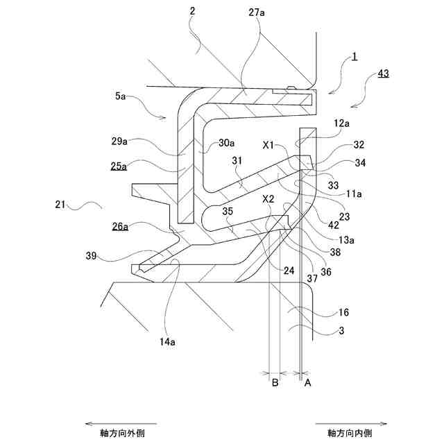
【課題】低トルク化を図れるだけでなく、シールリングが備える2本のサイドリップがそれぞれの役割を十分に果たせる、ハブユニット軸受を提供する。
【解決手段】シールリング5は、ハブ3の中心軸Oを含む仮想平面で切断した断面において、第1サイドリップ23及び第2サイドリップ24を自由状態で表した場合、第1屈曲点33が、軸方向に関して傾斜部13を超えた位置に位置し、かつ、第2屈曲点37は、軸方向に関して傾斜部13を超えた位置に位置しており、第1屈曲点33から、傾斜部13と第1主部31の内周面との交点X1までの第1軸方向距離Aが、第2屈曲点37から、傾斜部13と第2主部35の内周面との交点X2までの第2軸方向距離Bよりも短くなっている。
【選択図】図2
特許請求の範囲
【請求項1】
内周面に複列の外輪軌道を有する外輪と、
外周面に複列の内輪軌道を有するハブと、
前記複列の外輪軌道と前記複列の内輪軌道との間に転動自在に配置された、複数個の転動体と、
前記外輪に支持され、前記外輪の内周面と前記ハブの外周面との間に存在する環状空間の開口部を塞ぐ、シールリングと、を備え、
前記シールリングは、軸方向に伸長する第1サイドリップと、前記第1サイドリップよりも径方向内側に位置し、かつ、軸方向に伸長する第2サイドリップとを有し、
前記第1サイドリップは、第1主部と、前記第1主部よりも先端側に位置し、かつ、前記第1主部に対し径方向内側に向けて屈曲した第1屈曲部と、前記第1主部の内周面と前記第1屈曲部の内周面とを接続する第1屈曲点と、を有し、
前記第2サイドリップは、第2主部と、前記第2主部よりも先端側に位置し、かつ、前記第2主部に対し径方向内側に向けて屈曲した第2屈曲部と、前記第2主部の内周面と前記第2屈曲部の内周面とを接続する第2屈曲点と、を有し、
前記ハブ又は前記ハブに固定された部材は、前記ハブの中心軸に直交する円輪状の平面により構成され、かつ、前記第1屈曲部を摺接させる平面部と、軸方向に関して前記平面部に近づくほど径方向外側に向かう方向に曲線的又は直線的に傾いた傾斜面により構成され、かつ、前記第2屈曲部を摺接させる傾斜部とを有し、
前記ハブの中心軸を含む仮想平面で切断した断面において、前記第1サイドリップ及び前記第2サイドリップを自由状態で表した場合、
前記第1屈曲点は、軸方向に関して前記平面部又は前記傾斜部を超えた位置に位置し、かつ、前記第2屈曲点は、軸方向に関して前記傾斜部を超えた位置に位置し、
前記第1屈曲点から、前記平面部又は前記傾斜部と前記第1主部の内周面との交点までの第1軸方向距離が、前記第2屈曲点から、前記傾斜部と前記第2主部の内周面との交点までの第2軸方向距離よりも短い、
ハブユニット軸受。
続きを表示(約 840 文字)
【請求項2】
内周面に複列の外輪軌道を有する外輪と、
外周面に複列の内輪軌道を有するハブと、
前記複列の外輪軌道と前記複列の内輪軌道との間に転動自在に配置された、複数個の転動体と、
前記外輪に支持され、前記外輪の内周面と前記ハブの外周面との間に存在する環状空間の開口部を塞ぐ、シールリングと、を備え、
前記シールリングは、軸方向に伸長する第1サイドリップと、前記第1サイドリップよりも径方向内側に位置し、かつ、軸方向に伸長する第2サイドリップとを有し、
前記第1サイドリップは、第1主部と、前記第1主部よりも先端側に位置し、かつ、前記第1主部に対し径方向内側に向けて屈曲した第1屈曲部と、前記第1主部の内周面と前記第1屈曲部の内周面とを接続する第1屈曲点と、を有し、
前記第2サイドリップは、第2主部と、前記第2主部よりも先端側に位置し、かつ、前記第2主部に対し径方向内側に向けて屈曲した第2屈曲部と、前記第2主部の内周面と前記第2屈曲部の内周面とを接続する第2屈曲点と、を有し、
前記ハブ又は前記ハブに固定された部材は、前記ハブの中心軸に直交する円輪状の平面により構成され、かつ、前記第1屈曲部を摺接させる平面部と、軸方向に関して前記平面部に近づくほど径方向外側に向かう方向に曲線的又は直線的に傾いた傾斜面により構成され、かつ、前記第2屈曲部を摺接させる傾斜部とを有し、
前記ハブの中心軸を含む仮想平面で切断した断面において、前記第1サイドリップ及び前記第2サイドリップを自由状態で表した場合、
前記第1主部の内周面と前記第1屈曲部の内周面とのなす角度が、前記第2主部の内周面と前記第2屈曲部の内周面とのなす角度よりも小さい、
ハブユニット軸受。
【請求項3】
前記平面部及び前記傾斜部は、前記ハブに直接設けられている、請求項1又は請求項2
に記載のハブユニット軸受。
発明の詳細な説明
【技術分野】
【0001】
本開示は、ハブユニット軸受に関する。
続きを表示(約 1,100 文字)
【背景技術】
【0002】
ハブユニット軸受は、自動車の車輪を懸架装置に対して回転自在に支持するものであり、泥水が直接跳ねかかる環境で使用される。このため、ハブユニット軸受には、高度な密封性能が要求される。一方、ハブユニット軸受には、自動車の燃費を抑える面から、回転トルクを低く抑えることが求められる。
【0003】
ハブユニット軸受においては、車輪が固定されたハブが、懸架装置に支持された外輪の内側に、複数の転動体を介して回転自在に支持されている。転動体が設置された環状空間には、グリースなどの潤滑剤が封入されている。環状空間の開口部は、シールリングなどの密封部材により塞がれている。このため、密封部材の性能が、ハブユニット軸受に対して要求される密封性能や低トルク化などの性能に与える影響は大きい。
【0004】
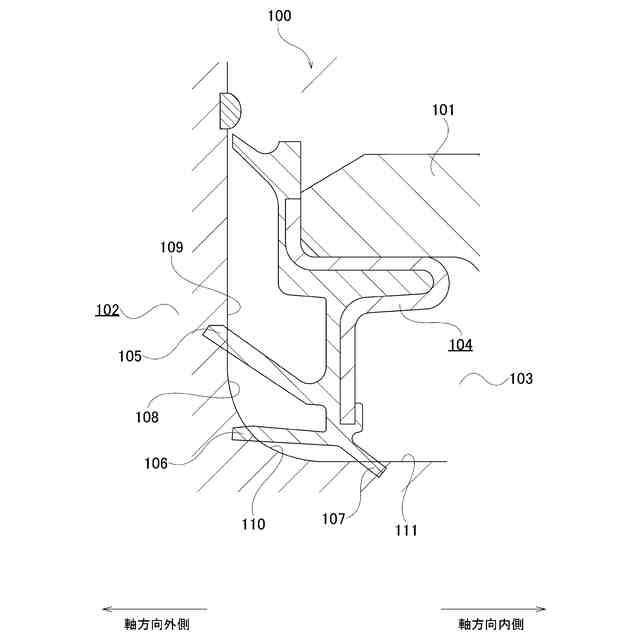
図8は、特開2016-223453号公報に記載された、従来構造のハブユニット軸受100を示している。
【0005】
ハブユニット軸受100は、外輪101とハブ102とを有する。外輪101の内周面とハブ102の外周面との間に存在する環状空間103の軸方向外側の開口部は、シールリング104により塞がれている。
【0006】
シールリング104は、外輪101に支持固定されている。シールリング104は、軸方向に伸長した第1サイドリップ105と、第1サイドリップ105よりも径方向内側に配置され、かつ、軸方向に伸長した第2サイドリップ106と、径方向に伸長したグリースリップ107とを有する。
【0007】
ハブ102は、第1サイドリップ105、第2サイドリップ106及びグリースリップ107のそれぞれの先端部を摺接させる、シール摺接面108を有する。
【0008】
シール摺接面108は、ハブ102の中心軸に直交する円輪状の平面により構成された平面部109と、軸方向に関して環状空間103から離れるほど径方向外側に向かう方向に曲線的に傾いた傾斜面により構成された傾斜部110と、円筒面部111とを有する。
【0009】
第1サイドリップ105は、主として、環状空間103への泥水の侵入を防止する役割を担っており、その先端部を平面部109に摺接させる。
【0010】
第2サイドリップ106は、主として、第2サイドリップ106と第1サイドリップ105との間の空間に封入されたグリースと、第2サイドリップ106とグリースリップ107との間の空間に封入されたグリースとの移動を防止する役割を担っており、その先端部を傾斜部110に摺接させる。
(【0011】以降は省略されています)
この特許をJ-PlatPat(特許庁公式サイト)で参照する
関連特許
日本精工株式会社
搬送装置
9日前
日本精工株式会社
ボールねじ
2日前
日本精工株式会社
ボールねじ
18日前
日本精工株式会社
温度検出装置
1か月前
日本精工株式会社
リニアガイド
11日前
日本精工株式会社
ボールねじ装置
1か月前
日本精工株式会社
円すいころ軸受
1か月前
日本精工株式会社
転がり案内装置
1か月前
日本精工株式会社
ボールねじ装置
17日前
日本精工株式会社
アクチュエータ
1か月前
日本精工株式会社
密封型転がり軸受
1か月前
日本精工株式会社
密封型転がり軸受
1か月前
日本精工株式会社
密封型転がり軸受
1か月前
日本精工株式会社
ハブユニット軸受
2日前
日本精工株式会社
密封型転がり軸受
1か月前
日本精工株式会社
密封型転がり軸受
1か月前
日本精工株式会社
密封型転がり軸受
1か月前
日本精工株式会社
密封型転がり軸受
1か月前
日本精工株式会社
密封型転がり軸受
1か月前
日本精工株式会社
環境配慮型機械部品
1か月前
日本精工株式会社
逆入力遮断クラッチ
1か月前
日本精工株式会社
モータ制御システム
2か月前
日本精工株式会社
磁歪式トルクセンサ
2か月前
日本精工株式会社
直動案内装置の仮軸
2日前
日本精工株式会社
回転センサ一体型軸受
17日前
日本精工株式会社
飛行体用回転支持装置
2日前
日本精工株式会社
飛行体用回転支持装置
2日前
日本精工株式会社
直動案内装置の組立方法
2か月前
日本精工株式会社
アクチュエータシステム
2か月前
日本精工株式会社
センサ付き転がり軸受装置
9日前
日本精工株式会社
ラジアルころ軸受用保持器
1か月前
日本精工株式会社
ハブユニット軸受の製造方法
1か月前
日本精工株式会社
直動案内装置及びその製造方法
2か月前
日本精工株式会社
ころ軸受及びころ軸受の設計方法
2か月前
日本精工株式会社
片持ち回転ローラ配置型円形車輪
1か月前
日本精工株式会社
ねじ機構及びねじ機構の製造方法
2日前
続きを見る
他の特許を見る