TOP
|
特許
|
意匠
|
商標
特許ウォッチ
Twitter
他の特許を見る
公開番号
2025178442
公報種別
公開特許公報(A)
公開日
2025-12-05
出願番号
2025165389
出願日
2025-10-01
発明の名称
ねじ機構及びねじ機構の製造方法
出願人
日本精工株式会社
代理人
個人
,
個人
,
個人
,
個人
主分類
F16H
25/20 20060101AFI20251128BHJP(機械要素または単位;機械または装置の効果的機能を生じ維持するための一般的手段)
要約
【課題】低コスト化に有利なねじ機構及びねじ機構の製造方法を提供する。
【解決手段】ねじ機構(11)は、ねじ軸(21)と、ねじ軸(21)に組み合わされたナット(22)と、ねじ軸(21)に固定された部品(50)と、を備える。ねじ軸(21)とナット(22)との間で回転運動と直線運動とが相互に変換される。部品(50)は、凹凸形状を有する内周面(51)を有する。ねじ軸(21)は、螺旋溝(33)が設けられた第1部分(31)と、部品(50)の内周面(51)に締め代をもって嵌合された第2部分(32)と、を有する。嵌合部(80)に隣接しかつ、嵌合時に生じた削片の収容を許容する空間(90)が設けられている。
【選択図】図1
特許請求の範囲
【請求項1】
ねじ軸と、
前記ねじ軸に組み合わされたナットであり、前記ねじ軸と前記ナットとの間で回転運動と直線運動とが相互に変換される前記ナットと、
前記ねじ軸に固定された部品であり、前記ねじ軸と前記部品との間でトルクが伝達される前記部品と、
を備え、
前記部品は、凹凸形状を有する内周面を有し、
前記ねじ軸は、螺旋溝が設けられた第1部分と、前記部品の前記内周面に締め代をもって嵌合された第2部分と、を有し、
前記内周面と前記第2部分との嵌合部に隣接しかつ、前記嵌合時に生じた削片の収容を許容する空間が設けられている、
ねじ機構。
続きを表示(約 900 文字)
【請求項2】
前記嵌合部において、前記ねじ軸は、塑性変形によって形成された凸の輪郭と凹の輪郭とを有する、請求項1に記載のねじ機構。
【請求項3】
前記空間は、少なくとも前記部品及び前記ねじ軸によって囲まれている、請求項2に記載のねじ機構。
【請求項4】
前記ねじ軸は、軸方向に向けられた第1面を有し、
前記部品は、少なくとも一部が前記第1面に面する第2面を有し、
前記空間は、前記第1面と前記第2面との対面領域に対して径方向内方に設けられている、
請求項1から3のいずれかに記載のねじ機構。
【請求項5】
前記ねじ軸は、径方向及び/又は前記軸方向の深さを有する溝を有し、
前記溝は、前記対面領域に対して径方向内方に配されている、
請求項4に記載のねじ機構。
【請求項6】
前記ねじ軸は、少なくとも前記軸方向に延在しかつ前記空間に面する第1カバー面を有し、
前記第1カバー面は、前記対面領域に対して径方向内方に配されている、
請求項4に記載のねじ機構。
【請求項7】
前記部品は、少なくとも前記軸方向に延在しかつ前記空間に面する第2カバー面を有し、
前記第2カバー面は、前記対面領域に対して径方向内方に配されている、
請求項4に記載のねじ機構。
【請求項8】
螺旋溝を有する第1部分と軸方向において前記第1部分とは異なる位置に設けられた第2部分とを有するねじ軸と、ナットと、を準備する工程と、
前記ねじ軸に前記ナットを組み合わせ、回転運動と直線運動とを相互に変換可能とする工程と、
凹凸形状の内周面を有する部品を前記ねじ軸に固定し、前記部品と前記ねじ軸との間でトルクを伝達可能とする工程と、
を含み、
前記部品を固定する工程は、前記第2部分を前記部品の前記内周面に締め代をもって嵌合し、嵌合時に生じた削片を収容可能な空間を嵌合部に隣接して設ける工程を含む、
ねじ機構の製造方法。
発明の詳細な説明
【技術分野】
【0001】
本発明は、ねじ機構及びねじ機構の製造方法に関する。
続きを表示(約 1,700 文字)
【背景技術】
【0002】
ねじ機構は、ねじ軸とナットとを備え、ねじ軸とナットとの間で回転運動と直線運動とが相互に変換される。ねじ機構の一例として、ねじ軸と、ナットと、ねじ軸とナットとの間に配置される複数のボールとを備えるボールねじ機構が知られている(例えば、特許文献1参照)。
【0003】
特許文献1のボールねじ機構では、ねじ軸にストッパ部品が取り付けられている。ストッパ部品がナットの一部に当接することでねじ軸とナットとの間の相対回転が制限される。ストッパ部品の内周面、及びねじ軸の外周面は、機械加工によって形成されたスプラインをそれぞれ有する。ストッパ部品の穴にねじ軸が挿入され、スプライン同士がかみ合うことでストッパ部品とねじ軸とが互いに係合される。こうしたスプライン係合において、ねじ軸とストッパ部品との間の相対回転が防止されるとともに、ねじ軸とストッパ部品との間でトルクが伝達される。
【先行技術文献】
【特許文献】
【0004】
特開2014-178023号公報
【発明の概要】
【発明が解決しようとする課題】
【0005】
上述したような、スプライン係合によってねじ軸に所定部品が固定されたねじ機構では、ねじ軸と所定部品との両方に機械加工によってスプラインを形成する必要がある。また、ストッパ部品などの所定部品をねじ軸の端部に取り付ける場合、ねじ軸に取り付けた別の部品によって所定部品がねじ軸から軸方向に抜けるのを防止する必要がある。
【0006】
本発明の目的は、低コスト化に有利なねじ機構及びねじ機構の製造方法を提供することにある。また、本発明の別の目的は、コンパクト化に有利なねじ機構及びねじ機構の製造方法を提供することにある。
【課題を解決するための手段】
【0007】
本発明にかかる一態様において、ねじ機構は、ねじ軸と、前記ねじ軸に組み合わされたナットであり、前記ねじ軸と前記ナットとの間で回転運動と直線運動とが相互に変換される前記ナットと、前記ねじ軸に固定された部品であり、前記ねじ軸と前記部品との間でトルクが伝達される前記部品と、を備える。前記部品は、凹凸形状を有する内周面を有する。前記ねじ軸は、螺旋溝が設けられた第1部分と、前記部品の前記内周面に締め代をもって嵌合された第2部分と、を有する。前記ねじ機構において、前記内周面と前記第2部分との嵌合部に隣接しかつ、前記嵌合時に生じた削片の収容を許容する空間が設けられている。
【0008】
本発明の別の態様において、ねじ機構の製造方法は、螺旋溝を有する第1部分と軸方向において前記第1部分とは異なる位置に設けられた第2部分とを有するねじ軸と、ナットと、を準備する工程と、前記ねじ軸に前記ナットを組み合わせ、回転運動と直線運動とを相互に変換可能とする工程と、凹凸形状の内周面を有する部品を前記ねじ軸に固定し、前記部品と前記ねじ軸との間でトルクを伝達可能とする工程と、を含む。前記部品を固定する工程は、前記第2部分を前記部品の前記内周面に締め代をもって嵌合し、嵌合時に生じた削片を収容可能な空間を嵌合部に隣接して設ける工程を含む。
【発明の効果】
【0009】
本発明によれば、低コスト化に有利なねじ機構及びねじ機構の製造方法を提供できる。また、本発明によれば、コンパクト化に有利なねじ機構及びねじ機構の製造方法を提供できる。
【図面の簡単な説明】
【0010】
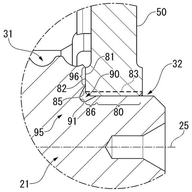
ねじ機構の模式的な断面図である。
ねじ軸に取り付けられたストッパ部品を軸方向に見た図である。
嵌合プロセスの前段階におけるねじ機構を示す図である。
嵌合部を示す模式的な断面図である。
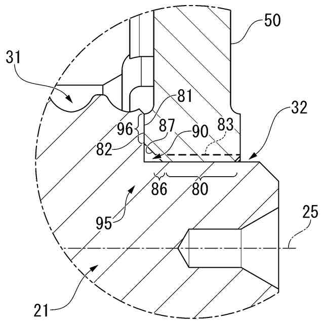
封止構造を拡大して示す模式的な断面図である。
封止構造の変形例を示す模式的な断面図である。
封止構造の別の変形例を示す模式的な断面図である。
【発明を実施するための形態】
(【0011】以降は省略されています)
この特許をJ-PlatPat(特許庁公式サイト)で参照する
関連特許
日本精工株式会社
搬送装置
10日前
日本精工株式会社
ボールねじ
19日前
日本精工株式会社
ボールねじ
3日前
日本精工株式会社
ボールねじ
2か月前
日本精工株式会社
温度検出装置
1か月前
日本精工株式会社
リニアガイド
12日前
日本精工株式会社
リニアガイド
3か月前
日本精工株式会社
ボールねじ装置
18日前
日本精工株式会社
アクチュエータ
1か月前
日本精工株式会社
転がり案内装置
2か月前
日本精工株式会社
円すいころ軸受
1か月前
日本精工株式会社
ボールねじ装置
1か月前
日本精工株式会社
密封型転がり軸受
1か月前
日本精工株式会社
密封型転がり軸受
1か月前
日本精工株式会社
密封型転がり軸受
1か月前
日本精工株式会社
密封型転がり軸受
1か月前
日本精工株式会社
密封型転がり軸受
1か月前
日本精工株式会社
密封型転がり軸受
1か月前
日本精工株式会社
密封型転がり軸受
1か月前
日本精工株式会社
アンギュラ玉軸受
3か月前
日本精工株式会社
密封型転がり軸受
1か月前
日本精工株式会社
ハブユニット軸受
3か月前
日本精工株式会社
ハブユニット軸受
3日前
日本精工株式会社
突入電流抑止回路
3か月前
日本精工株式会社
モータ制御システム
2か月前
日本精工株式会社
直動案内装置の仮軸
3日前
日本精工株式会社
環境配慮型機械部品
1か月前
日本精工株式会社
磁歪式トルクセンサ
2か月前
日本精工株式会社
磁歪式トルクセンサ
2か月前
日本精工株式会社
逆入力遮断クラッチ
1か月前
日本精工株式会社
飛行体用回転支持装置
3日前
日本精工株式会社
飛行体用回転支持装置
3日前
日本精工株式会社
回転センサ一体型軸受
18日前
日本精工株式会社
直動案内装置の組立方法
2か月前
日本精工株式会社
アクチュエータシステム
2か月前
日本精工株式会社
ラジアルころ軸受用保持器
1か月前
続きを見る
他の特許を見る