TOP
|
特許
|
意匠
|
商標
特許ウォッチ
Twitter
他の特許を見る
公開番号
2025136890
公報種別
公開特許公報(A)
公開日
2025-09-19
出願番号
2024035812
出願日
2024-03-08
発明の名称
磁歪式トルクセンサ
出願人
日本精工株式会社
,
株式会社プロテリアル
代理人
弁理士法人貴和特許事務所
主分類
G01L
3/10 20060101AFI20250911BHJP(測定;試験)
要約
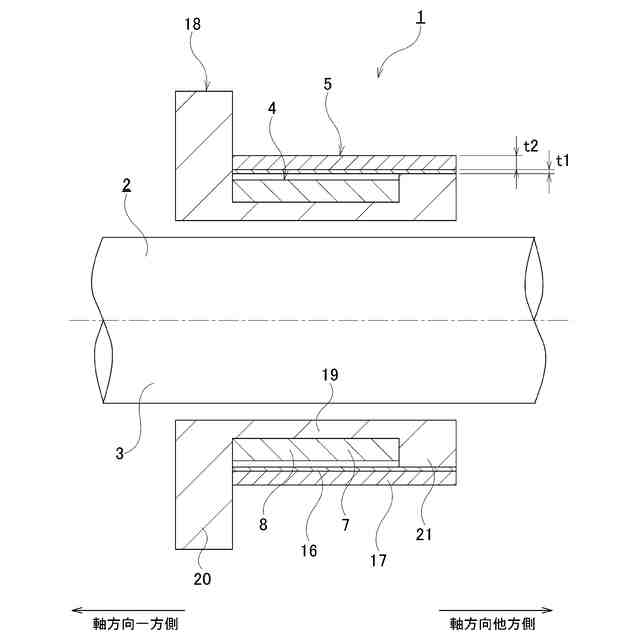
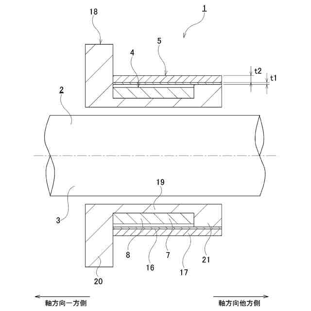
【課題】バックヨークによる磁束密度向上効果を良好に確保しつつ、十分な剛性を確保することができる磁歪式トルクセンサを提供する。
【解決手段】複数の検出コイル6a~6dを含み、回転軸2の周囲に配置される検出部7を有するコイルユニット4と、検出部7の周囲に配置されたバックヨーク5とを備える。バックヨーク5は、磁性リング16と、該磁性リング16に外嵌された補強リング17とを有し、磁性リング16は、補強リング17を構成する材料の透磁率よりも高い透磁率を有する材料により構成されており、補強リング17は、磁性リング16を構成する材料の剛性よりも高い剛性を有する材料により構成されている。
【選択図】図1
特許請求の範囲
【請求項1】
複数の検出コイルを含み、回転軸の周囲に配置される検出部を有する、コイルユニットと、
前記検出部の周囲に配置されたバックヨークと、
を備え、
前記バックヨークは、磁性リングと、該磁性リングに外嵌された補強リングとを有し、
前記磁性リングは、前記補強リングを構成する材料の透磁率よりも高い透磁率を有する材料により構成されており、
前記補強リングは、前記磁性リングを構成する材料の剛性よりも高い剛性を有する材料により構成されている、
磁歪式トルクセンサ。
続きを表示(約 130 文字)
【請求項2】
前記補強リングを構成する材料が金属である、請求項1に記載の磁歪式トルクセンサ。
【請求項3】
前記コイルユニットおよび前記バックヨークを保持する合成樹脂製のホルダを備える、請求項1または2に記載の磁歪式トルクセンサ。
発明の詳細な説明
【技術分野】
【0001】
本開示は、回転軸に付与されたトルクを測定する磁歪式トルクセンサに関する。
続きを表示(約 1,300 文字)
【背景技術】
【0002】
回転軸に付与されたトルクを測定するセンサとして、回転軸にトルクを付与した際に、該回転軸に生じる逆磁歪効果を利用して、回転軸に付与されたトルクを測定する磁歪式トルクセンサが、特開2016-200552号公報および特開2017-049124号公報に記載されるなどにより、従来から知られている。
【0003】
特開2016-200552号公報および特開2017-049124号公報に記載されたトルクセンサは、コイルユニットと、バックヨークとを備える。
【0004】
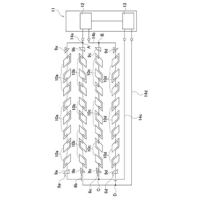
コイルユニットは、複数の検出コイルを含み、回転軸の周囲に配置される円筒状の検出部を有する。複数の検出コイルは、電圧を印加されることにより周囲に磁界を発生させるとともに、トルクを付与された回転軸の透磁率の変化に対応してインダクタンスを変化させる。磁歪式トルクセンサは、複数の検出コイルのインダクタンスの変化に基づいて、回転軸に付与されたトルクを測定する。
【0005】
バックヨークは、複数の検出コイルにより発生する磁界の磁路を構成する部材であって、磁性材料により円筒状に構成され、かつ、コイルユニットの検出部の周囲に配置されている。このようなバックヨークにより、外部への磁束の漏れを抑制して磁束密度を向上させることができ、トルクの測定精度を向上させることができる。
【先行技術文献】
【特許文献】
【0006】
特開2016-200552号公報
特開2017-049124号公報
【発明の概要】
【発明が解決しようとする課題】
【0007】
特開2016-200552号公報および特開2017-049124号公報に記載された従来の磁歪式トルクセンサでは、磁束密度を向上させるためのバックヨークは、強磁性体により構成されている。バックヨークを構成する強磁性体としては、たとえば、軟磁性金属粉末に絶縁皮膜を施して圧縮成形することにより得られる圧粉磁心、焼結磁心などを用いることができる。
【0008】
しかしながら、圧粉磁心、焼結磁心などの強磁性体は、一般的に、軸受鋼、炭素鋼などの硬質金属に比べて剛性が低い。このため、バックヨークを強磁性体により構成した場合、トルクセンサをケーシングなどの固定部分に支持しにくくなる可能性がある。および/または、バックヨークの形状精度が低下し、回転軸とバックヨークとを通過する磁気回路を安定して構成することができなくなって、トルクの測定精度が低下してしまう可能性がある。
【0009】
本開示は、バックヨークによる磁束密度向上効果を良好に確保しつつ、十分な剛性を確保することができる磁歪式トルクセンサを提供することを目的とする。
【課題を解決するための手段】
【0010】
本開示の第1態様の磁歪式トルクセンサは、
複数の検出コイルを含み、回転軸の周囲に配置される検出部を有する、コイルユニットと、
前記検出部の周囲に配置されたバックヨークと、
を備える。
(【0011】以降は省略されています)
この特許をJ-PlatPat(特許庁公式サイト)で参照する
関連特許
日本精工株式会社
温度検出装置
5日前
日本精工株式会社
転がり案内装置
24日前
日本精工株式会社
ボールねじ装置
17日前
日本精工株式会社
アクチュエータ
11日前
日本精工株式会社
円すいころ軸受
16日前
日本精工株式会社
密封型転がり軸受
4日前
日本精工株式会社
密封型転がり軸受
17日前
日本精工株式会社
密封型転がり軸受
17日前
日本精工株式会社
密封型転がり軸受
17日前
日本精工株式会社
密封型転がり軸受
17日前
日本精工株式会社
密封型転がり軸受
17日前
日本精工株式会社
密封型転がり軸受
17日前
日本精工株式会社
密封型転がり軸受
17日前
日本精工株式会社
磁歪式トルクセンサ
1か月前
日本精工株式会社
逆入力遮断クラッチ
10日前
日本精工株式会社
磁歪式トルクセンサ
26日前
日本精工株式会社
モータ制御システム
25日前
日本精工株式会社
アクチュエータシステム
1か月前
日本精工株式会社
直動案内装置の組立方法
1か月前
日本精工株式会社
ラジアルころ軸受用保持器
16日前
日本精工株式会社
潤滑機能付き転がり軸受装置
1か月前
日本精工株式会社
ハブユニット軸受の製造方法
5日前
日本精工株式会社
直動案内装置及びその製造方法
1か月前
日本精工株式会社
片持ち回転ローラ配置型円形車輪
16日前
日本精工株式会社
ころ軸受及びころ軸受の設計方法
1か月前
協同油脂株式会社
グリース組成物
1か月前
日本精工株式会社
ハブユニット軸受及びその製造方法
16日前
日本精工株式会社
含油部材付歯車、直動アクチュエータ
1か月前
日本精工株式会社
細胞培養成形装置および細胞培養片の製造方法
1か月前
日本精工株式会社
潤滑剤供給体及び潤滑剤供給体を配設した転動装置
24日前
日本精工株式会社
データ読み取りシステムおよび設備保全管理システム
5日前
日本精工株式会社
圧電アクチュエータおよびマニピュレーションシステム
23日前
日本精工株式会社
磁歪式トルクセンサの組立方法および磁歪式トルクセンサ
16日前
日本精工株式会社
トルクセンサの補正値取得方法および回転軸のトルク測定方法
16日前
日本精工株式会社
ボールねじの偏荷重検出装置、偏荷重検出方法、およびプログラム
16日前
日本精工株式会社
モデル生成プログラム、モデル生成方法、細胞選別装置および学習済みモデル
1か月前
続きを見る
他の特許を見る