TOP
|
特許
|
意匠
|
商標
特許ウォッチ
Twitter
他の特許を見る
10個以上の画像は省略されています。
公開番号
2025178937
公報種別
公開特許公報(A)
公開日
2025-12-09
出願番号
2024085817
出願日
2024-05-27
発明の名称
ボールねじ装置
出願人
日本精工株式会社
代理人
弁理士法人酒井国際特許事務所
主分類
F16H
25/22 20060101AFI20251202BHJP(機械要素または単位;機械または装置の効果的機能を生じ維持するための一般的手段)
要約
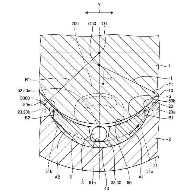
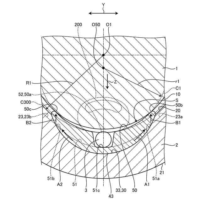
【課題】コマの回転を抑制し、かつコマの取付性が向上するボールねじ装置を提供する。
【解決手段】本開示のボールねじ装置は、ねじ軸、ナット、複数のボール及び1つ以上のコマを備える。ナットの内周面には、ナットの内周面から径方向外側に窪み、内部にコマが収容される凹面が形成される。コマは、径方向内側を向く内径面と、径方向外側を向く外径面と、内径面から径方向外側に窪み、かつ内径面の周方向の一端部から他端部まで延在するS字溝面と、を有する。凹面は、外径面と当接する底面を有する。外径面と底面は、それぞれ、ねじ軸と平行な軸方向から視て少なくとも一部が円弧状に形成される。内径面の周方向の中央部は、軸方向から視て円弧状又は平面状の支持面となっている。内径面の周方向の一端部と他端部には、支持面よりも径方向内側に位置する一対の接触部が形成されている。
【選択図】図6
特許請求の範囲
【請求項1】
ねじ軸と、
前記ねじ軸に挿入されたナットと、
前記ねじ軸と前記ナットの間に配置された複数のボールと、
前記ボールを循環させる少なくとも1つ以上のコマと、
を備え、
前記ナットの内周面には、前記ナットの内周面から径方向外側に窪み、内部に前記コマが収容される凹面が形成され、
前記コマは、
径方向内側を向く内径面と、
径方向外側を向く外径面と、
前記内径面から径方向外側に窪み、かつ前記内径面の周方向の一端部から他端部まで延在するS字溝面と、
を有し、
前記凹面は、前記外径面と当接する底面を有し、
前記外径面と前記底面は、それぞれ、前記ねじ軸と平行な軸方向から視て少なくとも一部が円弧状に形成され、
前記内径面の周方向の中央部は、前記軸方向から視て円弧状又は平面状の支持面となっており、
前記内径面の周方向の一端部と他端部には、前記支持面よりも径方向内側に位置する一対の接触部が形成されている
ボールねじ装置。
続きを表示(約 1,100 文字)
【請求項2】
前記ねじ軸の中心軸から視て前記凹面が配置される方向をコマ挿入方向とし、
前記軸方向から視て、前記ねじ軸の中心軸から前記コマ挿入方向に配置された点を中心とする仮想円を偏心仮想円とし、
前記内径面は、前記軸方向から視て前記周方向の一端から他端まで前記偏心仮想円と重なり、
前記内径面は、前記周方向の中央部から一端部又は他端部に近づくにつれて径方向内側に位置し、
前記内径面の周方向の一端部と他端部は、一対の前記接触部となっている
請求項1に記載のボールねじ装置。
【請求項3】
前記軸方向から視て、前記ねじ軸の中心軸を中心とする仮想円を同軸仮想円とし、
前記内径面は、前記軸方向から視て前記周方向の一端から他端まで前記同軸仮想円と重なり、
前記内径面の周方向の一端部と他端部には、前記内径面から径方向内側に突出する一対の突出部が形成され、
一対の前記突出部は、一対の前記接触部となっている
請求項1に記載のボールねじ装置。
【請求項4】
前記ねじ軸の中心軸から視て前記凹面が配置される方向をコマ挿入方向とし、
前記軸方向から視て、前記ねじ軸の中心軸から前記コマ挿入方向に配置された点を中心とする仮想円を偏心仮想円とし、
前記軸方向から視て、前記ねじ軸の中心軸を中心とする仮想円を同軸仮想円とし、
前記偏心仮想円と前記同軸仮想円は、2つの交点を有し、
前記支持面は、前記軸方向から視て前記偏心仮想円に沿って2つの前記交点間を延在し、
前記内径面の周方向の一端部と他端部は、前記軸方向から視て前記交点から前記同軸仮想円に沿って延在し、
前記内径面の周方向の一端部と他端部は、一対の前記接触部となっている
請求項1に記載のボールねじ装置。
【請求項5】
前記内径面には、前記支持面の周方向の両端から径方向内側に延在する一対の段差面が形成され、
前記軸方向から視て、前記ねじ軸の中心軸を中心とする仮想円を同軸仮想円とし、
前記内径面の周方向の一端部と他端部は、前記軸方向から視て前記同軸仮想円に沿って延在し、
前記内径面の周方向の一端部と他端部は、一対の前記接触部となっている
請求項1に記載のボールねじ装置。
【請求項6】
前記軸方向から視て、前記底面及び前記外径面が単一円弧面となっている
請求項1から請求項5のいずれか1項に記載のボールねじ装置。
発明の詳細な説明
【技術分野】
【0001】
本開示は、ボールねじ装置に関する。
続きを表示(約 1,800 文字)
【背景技術】
【0002】
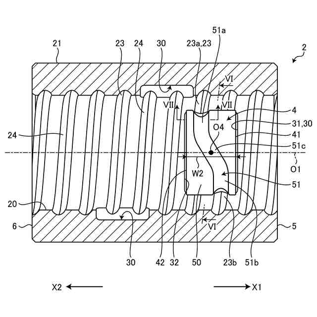
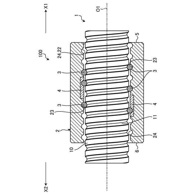
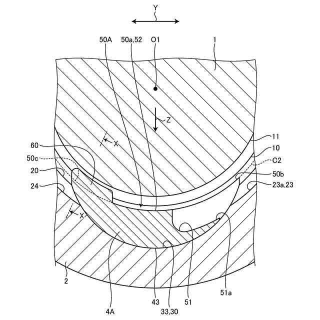
ボールねじ装置は、回転運動を直線運動に変換したり、直線運動を回転運動に変換したりする装置である。ボールねじ装置は、ねじ軸と、ねじ軸に挿入されたナットと、ねじ軸とナットの間に配置された複数のボールと、ボールを循環させる循環部と、を備える。循環部の一例として、ボールを約1リード戻すコマが挙げられる。下記特許文献1では、ナットの内周面に凹面を形成し、その凹面の内部にコマを収容している。
【先行技術文献】
【特許文献】
【0003】
中国実用新案第209638346号明細書
【発明の概要】
【発明が解決しようとする課題】
【0004】
コマは、径方向外側を向く外径面を有している。この外径面は、凹面の底面と対向している。特許文献1の外径面及び底面は、軸方向から視て円弧状に形成されている。よって、凹面の内部でコマが回転する可能性がある。
【0005】
また、凹面へのコマの取付は、手指をコマの内径面に当ててコマを支持し、コマを凹面の内部に挿入することで行われる。なお、手指以外に、コマの内径面に治具等を当てて、治具等によってコマを支持することもある。以下において、コマを支持するためにコマの内径面に当てるものを総称して手指等と称する。しかしながら、特許文献1のコマの内径面には、タングと一体化した突起部が形成されている。このため、手指等でコマを支持し難く、コマの取付性が損なわれている。
【0006】
本開示は、上記に鑑みてなされたものであり、コマの回転を抑制し、かつコマの取付性を向上させたボールねじ装置を提供することを目的とする。
【課題を解決するための手段】
【0007】
上記の目的を達成するため、本開示の一態様に係るボールねじ装置は、ねじ軸と、前記ねじ軸に挿入されたナットと、前記ねじ軸と前記ナットの間に配置された複数のボールと、前記ボールを循環させる少なくとも1つ以上のコマと、を備える。前記ナットの内周面には、前記ナットの内周面から径方向外側に窪み、内部に前記コマが収容される凹面が形成される。前記コマは、径方向内側を向く内径面と、径方向外側を向く外径面と、前記内径面から径方向外側に窪み、かつ前記内径面の周方向の一端部から他端部まで延在するS字溝面と、を有する。前記凹面は、前記外径面と当接する底面を有する。前記外径面と前記底面は、それぞれ、前記ねじ軸と平行な軸方向から視て少なくとも一部が円弧状に形成される。前記内径面の周方向の中央部は、前記軸方向から視て円弧状又は平面状の支持面となっている。前記内径面の周方向の一端部と他端部には、前記支持面よりも径方向内側に位置する一対の接触部が形成されている。
【0008】
本開示のコマ(凹面)は、外径面(底面)の少なくとも一部が円弧状に形成されている。よって、コマは、凹面の内部で回転し易い。仮にコマが回転するような荷重が作用すると、一対の接触部のうち一方がねじ軸に接触する。よって、コマの回転が規制される。また、コマの内径面の周方向の中央部(支持面)は、円弧状又は平面状に形成され、突起部がない。このため、支持面に手指等を当ててコマを支持することが容易となり、凹面へのコマの取付性が向上する。
【0009】
また、前記したボールねじ装置に関し、前記ねじ軸の中心軸から視て前記凹面が配置される方向をコマ挿入方向とする。前記軸方向から視て、前記ねじ軸の中心軸から前記コマ挿入方向に配置された点を中心とする仮想円を偏心仮想円とする。前記内径面は、前記軸方向から視て前記周方向の一端から他端まで前記偏心仮想円と重なる。前記内径面は、前記周方向の中央部から一端部又は他端部に近づくにつれて径方向内側に位置する。前記内径面の周方向の一端部と他端部は、一対の前記接触部となっていてもよい。
【0010】
また、前記したボールねじ装置に関し、前記軸方向から視て、前記ねじ軸の中心軸を中心とする仮想円を同軸仮想円とする。前記内径面は、前記軸方向から視て前記周方向の一端から他端まで前記同軸仮想円と重なる。前記内径面の周方向の一端部と他端部には、前記内径面から径方向内側に突出する一対の突出部が形成される。一対の前記突出部は、一対の前記接触部となっていてもよい。
(【0011】以降は省略されています)
この特許をJ-PlatPat(特許庁公式サイト)で参照する
関連特許
日本精工株式会社
搬送装置
11日前
日本精工株式会社
ボールねじ
4日前
日本精工株式会社
ボールねじ
20日前
日本精工株式会社
温度検出装置
1か月前
日本精工株式会社
リニアガイド
13日前
日本精工株式会社
保持器及び軸受
今日
日本精工株式会社
ボールねじ装置
1か月前
日本精工株式会社
アクチュエータ
1か月前
日本精工株式会社
ボールねじ装置
今日
日本精工株式会社
ボールねじ装置
19日前
日本精工株式会社
円すいころ軸受
1か月前
日本精工株式会社
密封型転がり軸受
1か月前
日本精工株式会社
密封型転がり軸受
1か月前
日本精工株式会社
密封型転がり軸受
1か月前
日本精工株式会社
密封型転がり軸受
1か月前
日本精工株式会社
密封型転がり軸受
1か月前
日本精工株式会社
密封型転がり軸受
1か月前
日本精工株式会社
密封型転がり軸受
1か月前
日本精工株式会社
密封型転がり軸受
1か月前
日本精工株式会社
ハブユニット軸受
4日前
日本精工株式会社
逆入力遮断クラッチ
1か月前
日本精工株式会社
環境配慮型機械部品
1か月前
日本精工株式会社
直動案内装置の仮軸
4日前
日本精工株式会社
回転センサ一体型軸受
19日前
日本精工株式会社
飛行体用回転支持装置
4日前
日本精工株式会社
飛行体用回転支持装置
4日前
日本精工株式会社
ラジアルころ軸受用保持器
1か月前
日本精工株式会社
センサ付き転がり軸受装置
11日前
日本精工株式会社
ハブユニット軸受の製造方法
1か月前
日本精工株式会社
モータビルトイン方式の主軸装置
11日前
日本精工株式会社
片持ち回転ローラ配置型円形車輪
1か月前
日本精工株式会社
ねじ機構及びねじ機構の製造方法
4日前
日本精工株式会社
モータビルトイン方式の主軸装置
今日
日本精工株式会社
ハブユニット軸受及びその製造方法
1か月前
日本精工株式会社
転動体の疲労き裂進展速度の測定方法
11日前
日本精工株式会社
深溝玉軸受用保持器、及びその製造方法
1か月前
続きを見る
他の特許を見る