TOP
|
特許
|
意匠
|
商標
特許ウォッチ
Twitter
他の特許を見る
10個以上の画像は省略されています。
公開番号
2025121304
公報種別
公開特許公報(A)
公開日
2025-08-19
出願番号
2024016674
出願日
2024-02-06
発明の名称
電動摩擦クラッチ装置
出願人
日本精工株式会社
代理人
弁理士法人貴和特許事務所
主分類
F16D
28/00 20060101AFI20250812BHJP(機械要素または単位;機械または装置の効果的機能を生じ維持するための一般的手段)
要約
【課題】伝達トルク容量を精度良く調節することができ、かつ、製造コストを低減することができる構造を実現する。
【解決手段】カム装置5は、軸方向一方側の側面に備えられたカム面39および円周方向を向いたカム側ストッパ面40を有し、使用時にも回転しない固定部分に対して回転可能に、かつ、軸方向変位を不能に支持された駆動カム36と、駆動カム36との間隔が最も縮まった状態でカム側ストッパ面40と当接するホルダ側ストッパ面53を有し、前記固定部分に対して軸方向変位を可能に、かつ、回転を不能に支持されたホルダ37と、カム面39に転がり接触する転動面61を有し、ホルダ37に保持された複数個の転動体38とを有する。
【選択図】図10
特許請求の範囲
【請求項1】
第1部材と、
前記第1部材と同軸に、かつ、前記第1部材に対する相対回転を可能に支持された第2部材と、
軸方向の相対変位を可能に支持された、少なくとも1枚ずつの第1摩擦板および第2摩擦板を有する摩擦係合部と、
軸方向一方側の側面に備えられたカム面および円周方向を向いたカム側ストッパ面を有し、使用時にも回転しない固定部分に対して回転可能に、かつ、軸方向変位を不能に支持された駆動カムと、前記駆動カムとの間隔が最も縮まった状態で前記カム側ストッパ面と当接するホルダ側ストッパ面を有し、前記固定部分に対して軸方向変位を可能に、かつ、回転を不能に支持されたホルダと、前記カム面に転がり接触する転動面を有し、前記ホルダに保持された複数個の転動体とを含むカム装置と、
前記駆動カムを回転駆動する電動アクチュエータと、
前記第1摩擦板と前記第2摩擦板とのうちで最も軸方向他方側に位置する摩擦板の軸方向他方側の側面に対向し、かつ、該最も軸方向他方側に位置する摩擦板に対する軸方向の遠近動を可能に支持された押圧部材と、
前記ホルダと前記押圧部材との間に配置された転がり軸受と、
前記押圧部材を、軸方向他方側に向けて弾性的に付勢する弾性部材と、
を備え、
前記電動アクチュエータにより前記駆動カムを回転駆動することで、前記ホルダを、前記駆動カムとの間隔が拡がる方向に変位させることに基づき、前記第1摩擦板と前記第2摩擦板とを互いに押し付け合わせることにより、前記第1部材と前記第2部材とが一体となって回転する接続モードに切り換わり、かつ、前記ホルダを、前記駆動カムとの間隔が縮まる方向に変位させることに基づき、前記第1摩擦板と前記第2摩擦板とを互いに押し付け合う力を解放することにより、前記第1部材と前記第2部材とが相対回転する切断モードに切り換わる、
電動摩擦クラッチ装置。
続きを表示(約 1,100 文字)
【請求項2】
前記カム面は、前記駆動カムの中心軸に直交する平坦面により構成された複数個の基準面と、該基準面よりも軸方向一方側に向けて突出した複数個の凸部とを円周方向に交互に配置してなり、
前記カム側ストッパ面は、前記複数個の凸部のうちの少なくとも1個の凸部の、前記駆動カムと前記ホルダとの間隔を縮める際の前記駆動カムの回転方向を向いた側面に備えられている、
請求項1に記載の電動摩擦クラッチ装置。
【請求項3】
前記ホルダは、円周方向複数箇所に配置され、かつ、前記複数個の転動体を回転自在に保持する複数個の保持部と、前記複数個の保持部のうちで円周方向に隣り合う2つの保持部同士を連結する複数個の連結部とを有する、
請求項1に記載の電動摩擦クラッチ装置。
【請求項4】
前記複数個の保持部のそれぞれは、前記複数個の連結部の軸方向他方側の側面よりも軸方向他方側に突出した部分を有し、
前記ホルダ側ストッパ面は、前記複数個の保持部のうちの少なくとも1個の保持部の前記複数個の連結部の軸方向他方側の側面よりも軸方向他方側に突出した部分であって、前記カム側ストッパ面と円周方向に対向する部分に備えられている、
請求項3に記載の電動摩擦クラッチ装置。
【請求項5】
前記固定部分は、軸方向一方側の端部に、前記ホルダの一部と軸方向の相対変位を可能に、かつ、円周方向の相対変位を不能に係合する少なくとも1個の係合切り欠き部を有し、前記ホルダに軸方向の相対変位を可能に内嵌された固定筒部を含むサポート部材を備える、
請求項3に記載の電動摩擦クラッチ装置。
【請求項6】
前記ホルダは、前記複数個の保持部のうちの少なくとも1個の保持部の径方向内側面または前記複数個の連結部のうちの少なくとも1個の連結部の径方向内側面から径方向内側に向けて突出し、前記少なくとも1個の係合切り欠き部と軸方向の相対変位を可能に、かつ、円周方向の相対変位を不能に係合する少なくとも1個の係合凸部を有する、
請求項5に記載の電動摩擦クラッチ装置。
【請求項7】
前記少なくとも1個の係合切り欠き部は、複数個の係合切り欠き部により構成されており、
前記複数個の係合切り欠き部は、前記複数個の保持部と係合する、
請求項5に記載の電動摩擦クラッチ装置。
【請求項8】
前記ホルダを軸方向から見た場合に、前記複数個の連結部の径方向外側面が、前記複数個の保持部の外接円よりも径方向内側に位置している、
請求項3に記載の電動摩擦クラッチ装置。
発明の詳細な説明
【技術分野】
【0001】
本開示は、第1部材と第2部材とが一体となって回転する接続モードと、第1部材と第2部材とが相対回転する切断モードとを切り換える電動摩擦クラッチ装置に関する。
続きを表示(約 1,500 文字)
【背景技術】
【0002】
自動車や工作機械などの回転機械装置では、エンジンや電動モータなどの動力源の出力を効率良く利用するために、動力源と駆動対象との間に変速機が設けられている。このような変速機として、歯車式で有段のものを使用する場合には、動力源と変速機との間に、動力源の出力トルクを変速機に伝達可能なロック状態と、伝達不能なアンロック状態とを切り替えるクラッチ装置が組み込まれる。このようなクラッチ装置としては、互いに対向する1対の摩擦面同士の摩擦により動力を伝達する摩擦クラッチや、互いに噛み合う爪により動力を伝達する噛み合いクラッチなどが使用されている。
【0003】
摩擦クラッチは、互いに対向する1対の係合部材同士の位相差や回転速度の差にかかわらず、トルクを伝達可能な接続モードと伝達不能な切断モードとの間でモードを切り換えることができる。
【0004】
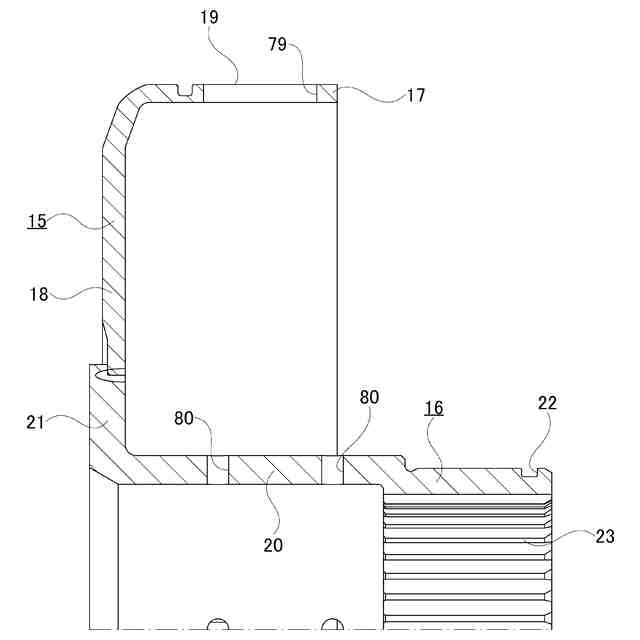
図27および図28は、国際公開第2008/096438号に記載のクラッチ装置100を示している。クラッチ装置100は、入力部材(後輪用出力軸)101と、出力部材(スプロケット)102との間に配置されて、入力部材101と出力部材102との間でトルクを伝達する接続モードと、トルクを伝達しない切断モードとを切り換える。クラッチ装置100は、第1部材103と、第2部材104と、摩擦係合部105と、カム装置106と、電動アクチュエータ107と、押圧部材108と、転がり軸受109と、弾性部材110と、荷重検出部111とを備える。
【0005】
第1部材103は、入力部材101に結合固定されて、該入力部材101と一体的に回転する。第1部材103は、入力部材101に外嵌固定される小径筒部103aと、該小径筒部103aの軸方向一方側(図27の左側)の端部から径方向外側に向けて折れ曲がった側板部103bと、該側板部103bの軸方向他方側(図27の右側)の側面の径方向中間部から軸方向他方側に向けて突出する大径筒部103cとを有する。すなわち、第1部材103は、略F字形の断面形状を有する。
【0006】
第2部材104は、出力部材102に結合固定されて、該出力部材102と一体的に回転する。第2部材104は、出力部材102に外嵌固定される円輪部104aと、該円輪部104aの径方向外側の端部から軸方向他方側に向けて折れ曲がった円筒部104bとを有する。
【0007】
摩擦係合部105は、軸方向に交互に重ね合わされた複数枚ずつの第1摩擦板105aと第2摩擦板105bとを備える。それぞれの第1摩擦板105aは、第1部材103の大径筒部103cに対して、軸方向の変位を可能に、かつ、相対回転を不能に外嵌されている。それぞれの第2摩擦板105bは、第2部材の円筒部104bに対して、軸方向の変位を可能に、かつ、相対回転を不能に内嵌されている。
【0008】
カム装置106は、駆動カム106aと、カムプレート106bと、複数個のボール106cとを備える。
【0009】
駆動カム106aは、軸方向他方側の側面に駆動側カム面106a1を有し、かつ、外周面にギヤ部106a2を有する。駆動カム106aは、入力部材101の周囲に、該入力部材101に対する相対回転および軸方向の変位を可能に配置されている。
【0010】
カムプレート106bは、軸方向一方側の側面に固定側カム面106b1を有する。カムプレート106bは、入力部材101の周囲に、該入力部材101に対する相対回転を可能に、かつ、軸方向の変位を不能に配置されている。
(【0011】以降は省略されています)
この特許をJ-PlatPat(特許庁公式サイト)で参照する
関連特許
日本精工株式会社
保持器
1か月前
日本精工株式会社
分注装置
1か月前
日本精工株式会社
締結用工具
1か月前
日本精工株式会社
ボールねじ
23日前
日本精工株式会社
遊星歯車装置
1か月前
日本精工株式会社
制振システム
1か月前
日本精工株式会社
リニアガイド
1か月前
日本精工株式会社
転がり案内装置
3日前
日本精工株式会社
アンギュラ玉軸受
1か月前
日本精工株式会社
シール付き玉軸受
1か月前
日本精工株式会社
ハブユニット軸受
1か月前
日本精工株式会社
突入電流抑止回路
1か月前
日本精工株式会社
リニアガイド装置
1か月前
日本精工株式会社
磁歪式トルクセンサ
23日前
日本精工株式会社
逆入力遮断クラッチ
1か月前
日本精工株式会社
逆入力遮断クラッチ
1か月前
日本精工株式会社
磁歪式トルクセンサ
5日前
日本精工株式会社
モータ制御システム
4日前
日本精工株式会社
電動摩擦クラッチ装置
1か月前
日本精工株式会社
アクチュエータシステム
11日前
日本精工株式会社
直動案内装置の組立方法
9日前
日本精工株式会社
絶縁転がり軸受の製造方法
1か月前
日本精工株式会社
ボールねじ部品の製造方法
1か月前
日本精工株式会社
潤滑機能付き転がり軸受装置
23日前
日本精工株式会社
保持器、及び保持器の製造方法
1か月前
日本精工株式会社
直動案内装置及びその製造方法
9日前
日本精工株式会社
培養容器および培地交換システム
1か月前
日本精工株式会社
回路放熱機構および回路放熱方法
23日前
日本精工株式会社
ころ軸受及びころ軸受の設計方法
9日前
協同油脂株式会社
グリース組成物
11日前
日本精工株式会社
モータ装置、およびモータ制御方法
1か月前
日本精工株式会社
モータ制御装置およびモータ制御方法
23日前
日本精工株式会社
含油部材付歯車、直動アクチュエータ
13日前
日本精工株式会社
転がり軸受及び転がり軸受の製造方法
1か月前
日本精工株式会社
ボールねじの設計方法およびボールねじ
1か月前
日本精工株式会社
入力異常検出装置および入力異常検出方法
23日前
続きを見る
他の特許を見る