TOP
|
特許
|
意匠
|
商標
特許ウォッチ
Twitter
他の特許を見る
10個以上の画像は省略されています。
公開番号
2025119736
公報種別
公開特許公報(A)
公開日
2025-08-15
出願番号
2024014705
出願日
2024-02-02
発明の名称
ボールねじ装置
出願人
日本精工株式会社
代理人
弁理士法人酒井国際特許事務所
主分類
F16H
25/22 20060101AFI20250807BHJP(機械要素または単位;機械または装置の効果的機能を生じ維持するための一般的手段)
要約
【課題】コマの組み付け性向上等を図るボールねじ装置を提供する。
【解決手段】本開示のボールねじ装置のナットは、凹面と、凹面の角部である第1角部及び第2角部と、第1角部と第2角部に接続する内周軌道面と、内周軌道面の延長線上を延在する第1ねじ溝面及び第2ねじ溝面を有する。中心軸から視て凹面の方向をコマ挿入方向、第2角部から視て第1角部の方向を第1交差方向、第1角部から視て第2角部の方向を第2交差方向とする。凹面は、コマ挿入方向に移動するにつれて次第に第2交差方向に配置される第1円弧面と、第2角部からコマ挿入方向に移動するにつれて次第に第1交差方向に配置される第2円弧面を有する。コマは、第1ねじ溝面に配置される第1突起と第2ねじ溝面に配置される第2突起を有する。第1ねじ溝面の他端と第1突起の距離と、第2ねじ溝面の他端と第2突起の距離は、ボールの径よりも小さい。
【選択図】図2
特許請求の範囲
【請求項1】
ねじ軸と、
前記ねじ軸に貫通されるナットと、
前記ねじ軸と前記ナットの間に配置された複数のボールと、
前記ボールを循環させる少なくとも1つ以上のコマと、
を備え、
前記ナットの内周面には、
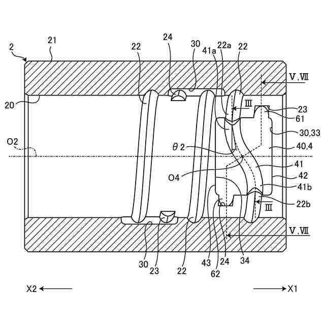
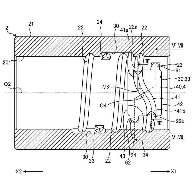
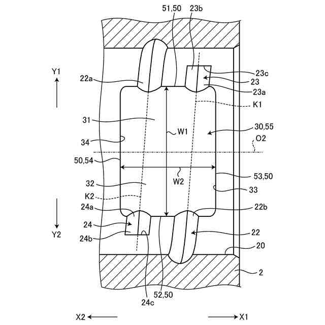
前記内周面から径方向外側に窪み、内部に前記コマが収容される凹面と、
前記凹面と前記内周面とが交わる角部であり、互いに周方向に離れて配置された第1角部及び第2角部と、
螺旋方向に延在し、一端が前記第1角部と接続し、他端が前記第2角部に接続する内周軌道面と、
前記凹面を挟んで前記内周軌道面の他端の延長線上を延在し、かつ一端が前記第1角部に接続する第1ねじ溝面と、
前記凹面を挟んで前記内周軌道面の一端の延長線上を延在し、かつ一端が前記第2角部に接続する第2ねじ溝面と、
を有し、
前記ナットの中心軸から視て前記凹面が配置される方向をコマ挿入方向とし、
前記第2角部から視て前記第1角部が配置される方向を第1交差方向とし、
前記第1角部から視て前記第2角部が配置される方向を第2交差方向とし、
前記凹面は、
前記第1角部から前記コマ挿入方向に延在し、かつ前記コマ挿入方向に移動するにつれて次第に前記第2交差方向に配置される円弧状の第1円弧面と、
前記第2角部から前記コマ挿入方向に延在し、かつ前記コマ挿入方向に移動するにつれて次第に前記第1交差方向に配置される第2円弧面と、
を有し、
前記コマの外径面は、
前記第1円弧面と対向する円弧状の第1対向円弧面と、
前記第2円弧面と対向する円弧状の第2対向円弧面と、
前記第1対向円弧面から突出し、前記第1ねじ溝面の内部に配置される第1突起と、
前記第2対向円弧面から突出し、前記第2ねじ溝面の内部に配置される第2突起と、
を有し、
前記第1ねじ溝面の他端と前記第1突起の先端との距離は、前記ボールの径よりも小さく、
前記第2ねじ溝面の他端と前記第2突起の先端との距離は、前記ボールの径よりも小さい
ボールねじ装置。
続きを表示(約 1,200 文字)
【請求項2】
前記第1円弧面の前記第2交差方向の端部と、前記第2円弧面の前記第1交差方向の端部と、が互いに接続し、
前記第1円弧面と前記第2円弧面は、互いに協働して単一円弧面を構成している
請求項1に記載のボールねじ装置。
【請求項3】
前記単一円弧面の中心から前記第1角部に引いた仮想線と、前記単一円弧面の中心から前記第2角部に引いた仮想線と、が成す角度が180度未満となっている
請求項2に記載のボールねじ装置。
【請求項4】
前記凹面は、前記第1円弧面と前記第2円弧面の間に配置された平面を有し、
前記コマの外径面には、前記平面と対向する対向平面が形成されている
請求項1に記載のボールねじ装置。
【請求項5】
前記第1円弧面の中心から前記第1角部に引いた仮想線と、前記第1円弧面の中心から前記第1円弧面と前記平面の接続部分に引いた仮想線と、が成す角度が90度未満であり、
前記第2円弧面の中心から前記第2角部に引いた仮想線と、前記第2円弧面の中心から前記第2円弧面と前記平面の接続部分に引いた仮想線と、が成す角度が90度未満である
請求項4に記載のボールねじ装置。
【請求項6】
前記凹面は、前記ナットの内周側に向かって開口する開口部を有し、
前記開口部は、前記ナットの中心軸から視て矩形状に形成されている
請求項1に記載のボールねじ装置。
【請求項7】
前記凹面は、
前記ナットの内周側に向かって開口する開口部と、
前記凹面と前記内周面とが交わる角部であり、互いに前記ナットの中心軸と平行な軸方向に離れて配置された第3角部及び第4角部と、
を有し、
前記開口部は、前記第3角部と前記第4角部の間の距離よりも、前記第1角部と前記第2角部の間の距離の方が大きい
請求項1に記載のボールねじ装置。
【請求項8】
前記凹面は、前記ナットの内周側に向かって開口する開口部を有し、
前記開口部は、前記ナットの中心軸から視て円形状に形成されている
請求項1に記載のボールねじ装置。
【請求項9】
前記凹面は、前記凹面と前記内周面とが交わる角部であり、互いに前記ナットの中心軸と平行な軸方向に離れて配置された第3角部及び第4角部を有し、
前記第3角部及び前記第4角部は、前記周方向に延在し、前記螺旋方向と交差している
請求項1から請求項8のいずれか1項に記載のボールねじ装置。
【請求項10】
前記凹面は、前記凹面と前記内周面とが交わる角部であり、互いに前記ナットの中心軸と平行な軸方向に離れて配置された第3角部及び第4角部を有し、
前記第3角部及び前記第4角部は、前記螺旋方向に延在している
請求項1から請求項8のいずれか1項に記載のボールねじ装置。
発明の詳細な説明
【技術分野】
【0001】
本開示は、ボールねじ装置に関する。
続きを表示(約 2,700 文字)
【背景技術】
【0002】
ボールねじ装置は、ナットと、ナットを貫通するねじ軸と、ナットとねじ軸との間に配置された複数のボールと、循環部品と、を備えている。ナットの内周面には、内周軌道面が形成されている。ねじ軸の外周面には、内周軌道面と対向する外周軌道面が形成されている。内周軌道面と外周軌道面との間は、螺旋状の軌道を構成している。複数のボールは、軌道に配置され、軌道に沿って螺旋方向に移動する。そして、循環部品は、軌道の一端から軌道の他端に移動したボールを軌道の一端に戻す。循環部品の一つとして、ボールを1リード戻すコマが挙げられる。下記特許文献のボールねじ装置では、ナットの内周面に有底の凹面を形成している。そして、凹面の内部にコマを収容している。
【先行技術文献】
【特許文献】
【0003】
米国特許出願公開第2019/0277380号明細書
【発明の概要】
【発明が解決しようとする課題】
【0004】
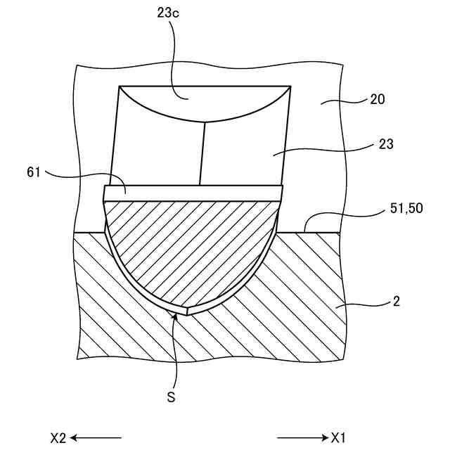
上記特許文献の凹面を形成する方法として、回転する切削具をナットの内周面に当てて、ナットの内周面を切削する方法が挙げられる。これによれば、切削具の回転中心と平行な方向から視ると、円弧状の円弧面が形成される。つまり、凹面の少なくとも一部には円弧面が含まれるようになる。また、コマの外径面にも凹面に対応した円弧状の円弧面が含まれる。このような形状の場合、凹面の内部にコマを組み付ける際、凹面の内部でコマが回転する可能性がある。よって、コマを所定の姿勢で組み付けるのに手間がかかってしまう。
【0005】
また、上記特許文献のナットの内周面には、螺旋方向に連続したねじ溝が形成されている。ここで、ねじ溝の一部は内周軌道面を構成しているが、ねじ溝の残部は内周軌道面を構成していない。ボールねじ装置の組み立ての際、誤ってねじ溝の残部にボールを配置してしまうする可能性があり、好ましくない。
【0006】
本開示は、上記に鑑みてなされたものであり、コマの組み付けを容易とし、さらに内周軌道面以外のねじ溝にボールを配置することを規制するボールねじ装置を提供することを目的とする。
【課題を解決するための手段】
【0007】
上記の目的を達成するため、本開示の一態様に係るボールねじ装置は、ねじ軸と、前記ねじ軸に貫通されるナットと、前記ねじ軸と前記ナットの間に配置された複数のボールと、前記ボールを循環させる少なくとも1つ以上のコマと、を備えている。前記ナットの内周面には、前記内周面から径方向外側に窪み、内部に前記コマが収容される凹面と、前記凹面と前記内周面とが交わる角部であり、互いに周方向に離れて配置された第1角部及び第2角部と、螺旋方向に延在し、一端が前記第1角部と接続し、他端が前記第2角部に接続する内周軌道面と、前記凹面を挟んで前記内周軌道面の他端の延長線上を延在し、かつ一端が前記第1角部に接続する第1ねじ溝面と、前記凹面を挟んで前記内周軌道面の一端の延長線上を延在し、かつ一端が前記第2角部に接続する第2ねじ溝面と、を有している。前記ナットの中心軸から視て前記凹面が配置される方向をコマ挿入方向とする。前記第2角部から視て前記第1角部が配置される方向を第1交差方向とする。前記第1角部から視て前記第2角部が配置される方向を第2交差方向とする。前記凹面は、前記第1角部から前記コマ挿入方向に延在し、かつ前記コマ挿入方向に移動するにつれて次第に前記第2交差方向に配置される円弧状の第1円弧面と、前記第2角部から前記コマ挿入方向に延在し、かつ前記コマ挿入方向に移動するにつれて次第に前記第1交差方向に配置される第2円弧面と、を有する。前記コマの外径面は、前記第1円弧面と対向する円弧状の第1対向円弧面と、前記第2円弧面と対向する円弧状の第2対向円弧面と、前記第1対向円弧面から突出し、前記第1ねじ溝面の内部に配置される第1突起と、前記第2対向円弧面から突出し、前記第2ねじ溝面の内部に配置される第2突起と、を有する。前記第1ねじ溝面の他端と前記第1突起の先端との距離は、前記ボールの径よりも小さい。前記第2ねじ溝面の他端と前記第2突起の先端との距離は、前記ボールの径よりも小さい。
【0008】
本開示によれば、コマを凹面の内部に組み付ける場合、凹面の第1円弧面又は第2円弧面に沿ってコマが回転するような荷重がコマに作用しても、第1突起が第1ねじ溝面に引っ掛かったり、第2突起が第2ねじ溝面に引っ掛かったりする。よって、凹面の内部でコマの回転が規制される。これにより、コマは所定の姿勢で組み付けられ、コマの組み付けが容易となる。また、第1ねじ溝面の他端と第1突起の先端との距離がボールの径よりも小さいため、第1ねじ溝面にボールを挿入できない。同様に、第2ねじ溝の他端と第2突起の先端との距離がボールの径よりも小さいため、第2ねじ溝面にボールを挿入できない。よって、第1ねじ溝面と第2ねじ溝面にボールを配置することが規制される。また、第1ねじ溝面と第2ねじ溝面は、内周軌道面の延長線上に形成されている。つまり、内周軌道面を形成する工程で、第1ねじ溝面と第2ねじ溝面を同時に形成することができる。よって、ナットに第1ねじ溝面と第2ねじ溝面を設けたとしても、製造工数の増加が抑制される。また、本開示のコマによれば、ナットの外周面に貫通孔を設ける必要がない。このため、ナットの外周面を摺動させてナット自体をピストンとして機能させたり、又はナットの外周面に軸受、モータのロータ、減速ギヤ、及びベルトプーリ等などを直接圧入させたりする要望(ニーズ)に対応できる。さらに、ナットの外周面に貫通孔がないため、防塵性が高い。または、ナットの外周面に貫通孔が設けられ、さらに貫通孔を閉塞する部品が設けられた場合と比べて、本開示のナットが小型化及び軽量化している。
【0009】
また、前記したボールねじ装置の好ましい態様として、前記第1円弧面の前記第2交差方向の端部と、前記第2円弧面の前記第1交差方向の端部と、が互いに接続している。前記第1円弧面と前記第2円弧面は、互いに協働して単一円弧面を構成している。
【0010】
前記構成によれば、回転する切削具をナットの中心軸から径方向外側に移動させるだけで、単一円弧面が形成される。つまり、切削具を第1交差方向又は第2交差方向に移動させる必要がない。よって、凹面の形成が容易となり、ナットの生産性が向上する。
(【0011】以降は省略されています)
この特許をJ-PlatPat(特許庁公式サイト)で参照する
関連特許
日本精工株式会社
アクチュエータ
今日
日本精工株式会社
ラジアルころ軸受用保持器
5日前
日本精工株式会社
ボールねじの偏荷重検出装置、偏荷重検出方法、およびプログラム
5日前
個人
留め具
8日前
個人
鍋虫ねじ
1か月前
個人
紛体用仕切弁
1か月前
個人
回転伝達機構
2か月前
個人
ジョイント
1か月前
個人
給排気装置
15日前
個人
ナット
1か月前
個人
地震の揺れ回避装置
3か月前
個人
吐出量監視装置
1か月前
柿沼金属精機株式会社
分岐管
2か月前
カヤバ株式会社
緩衝器
14日前
株式会社タカギ
水栓装置
2か月前
株式会社不二工機
電動弁
15日前
株式会社三五
ドライブシャフト
今日
株式会社ニフコ
クリップ
19日前
アズビル株式会社
回転弁
27日前
株式会社ノーリツ
分配弁
19日前
株式会社奥村組
制振機構
23日前
株式会社奥村組
制振機構
23日前
株式会社不二工機
電磁弁
1か月前
株式会社ノナガセ
免震装置
1日前
個人
誘導電流活用式差動制限装置
19日前
株式会社オンダ製作所
識別リング
2か月前
株式会社ケアコム
取付器具
2か月前
アイホン株式会社
電気機器
23日前
個人
ワンウェイベアリング
3か月前
株式会社不二越
転がり軸受
2か月前
株式会社TOP-UP
固定具
2か月前
株式会社荒井製作所
封止装置
2か月前
カシオ計算機株式会社
支持台
19日前
個人
無段変速可能なフリーホイール
21日前
Astemo株式会社
電磁弁
15日前
個人
交互ピッチ湾曲保持ばね構造体
2か月前
続きを見る
他の特許を見る