TOP
|
特許
|
意匠
|
商標
特許ウォッチ
Twitter
他の特許を見る
10個以上の画像は省略されています。
公開番号
2025149772
公報種別
公開特許公報(A)
公開日
2025-10-08
出願番号
2024064286
出願日
2024-03-26
発明の名称
医療機関と医療従事者とのマッチングのための情報処理システム
出願人
個人
代理人
主分類
G16H
40/00 20180101AFI20251001BHJP(特定の用途分野に特に適合した情報通信技術)
要約
【課題】医療用設備を貸与可能な医療機関と医療サービスの提供を希望する医療従事者とをマッチングすることで、患者がより安心して医療を受けることができるようにする。
【解決手段】マッチングを行う情報処理システムは、医療機関の貸与の条件を表す情報である医療機関貸与条件情報を取得する医療機関情報取得部と、医療従事者の希望を表す情報である希望労働条件情報を取得する希望労働条件取得部と、前記医療機関貸与条件情報と前記希望労働条件情報とを比較してマッチング結果を出力する出力部と、を備える。
【選択図】図2
特許請求の範囲
【請求項1】
医療用設備を貸与可能な医療機関と医療サービスの提供を希望する医療従事者とをマッチングする情報処理システムであって、
コンピュータを備え、該コンピュータは、
前記医療機関の貸与の条件を表す情報である医療機関貸与条件情報を取得する医療機関情報取得部と、
前記医療従事者の前記希望を表す情報である希望労働条件情報を取得する希望労働条件取得部と、
前記医療機関貸与条件情報と前記希望労働条件情報とを比較してマッチング結果を出力する出力部と、を備える、
情報処理システム。
続きを表示(約 1,200 文字)
【請求項2】
前記医療従事者は、医師及び歯科医師のうち少なくともいずれか一つの有資格者を含む、請求項1記載の情報処理システム。
【請求項3】
前記医療従事者は、さらに、看護師、看護助手、医療事務員、歯科衛生士、臨床工学技士、放射線技師、その他医療有資格者のうち少なくともいずれか一つ以上の有資格者を含む、請求項2記載の情報処理システム。
【請求項4】
前記医療機関貸与条件情報は、前記医療機関が有する診療科と、貸与可能な日時の情報とを含む、請求項1記載の情報処理システム。
【請求項5】
前記医療機関貸与条件情報は、単位時間当たりの貸与代金の情報を含む、請求項1記載の情報処理システム。
【請求項6】
前記希望労働条件情報は、前記医療従事者の現在地を表す情報を含む、請求項1記載の情報処理システム。
【請求項7】
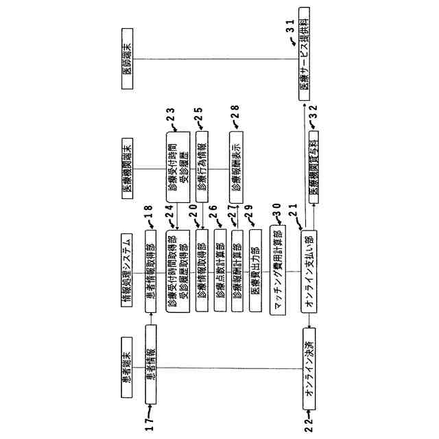
前記コンピュータは、患者の加入健康保険情報及び年齢情報と、診察情報とを含む患者情報を取得する患者情報取得部と、
前記患者の診療明細書の撮影画像またはアップロードされた電子データを取得する取得部と、
前記患者の医療費のオンライン支払い処理を実行する支払部と、
を備える、請求項1記載の情報処理システム。
【請求項8】
前記コンピュータは、
患者の加入健康保険情報及び年齢情報取得部と、
貸与した医療機関の診療受付時間の情報を取得する診療受付時間取得部と、
受診する医療機関の受診履歴を取得する受診履歴取得部と、
医療機関の診療行為を示す情報である診療行為情報を取得する診療行為情報取得部と、
医療機関の前記診療行為情報に基づく診療点数を算出する診療点数計算部と、
を備え、さらに、
前記患者の医療費を計算して出力する医療費出力部と、
前記医療費のオンライン支払い処理を実行するオンライン支払部と、
を備える、請求項1記載の情報処理システム。
【請求項9】
前記コンピュータは、
患者の現在地の情報を取得する現在地情報取得部、
医師が在駐している医療機関のうち所定のエリアの医療機関を検索する検索部、及び
診察の混雑状況を示す情報を送信する混雑情報伝達部、を含む近隣医療機関情報取得部と、
医療機関及び担当医師の評価を示す医療従事者評価情報を閲覧可能に出力する医療従事者評価情報部と、
を備える、請求項1記載の情報処理システム。
【請求項10】
前記コンピュータは、
診療明細書から症状を推定する症状推定部と、
前記症状に応じた処方薬実績に基づく処方薬を分類する処方薬分類部と、
医師が処方した処方薬実績を症状別に分類した処方薬情報を閲覧可能に出力する処方薬情報出力部と、
を備える、請求項1記載の情報処理システム。
(【請求項11】以降は省略されています)
発明の詳細な説明
【技術分野】
【0001】
本発明は診療終了後または休診中の医療機関と医療サービスを提供したい医師を含む医療従事者とをマッチングすることで、夜間または休日でも気軽に対面で診療を受けられるサービスを提供するための情報処理システムに関する。
続きを表示(約 1,700 文字)
【背景技術】
【0002】
従来、下記特許文献1に開示されるように、求人を希望する医療機関と、就労を希望する求職者とのマッチングにおいて、インターネットを介してマッチングを行うシステムが広く知られている。この従来技術は、医療機関における一時的な欠員を補うことを目的として医療機関及び求職者のそれぞれが希望する条件を入力してマッチングを行うものである。この従来の医療機関の求人は、医療機関側の観点で、予定された人員が不足する場合に募集をかけるものであり、日中や夜間当直に関する求人が主となる。
【0003】
この点、受診者の観点での問題としては、ビジネスパーソンや子育て世代は日中忙しく、時間が限られるため、日中はそもそも受診出来ない場合も多い。夜間救急外来やオンライン診療などの医療サービスもあるが、いずれも心理的ハードルは高く、受診控えにより早期受診及び早期治療に踏み切れない場合があった。
【先行技術文献】
【特許文献】
【0004】
特開2022―38660号公報
特開2019-101617号公報
【発明の概要】
【発明が解決しようとする課題】
【0005】
さらに、従来、特に上記特許文献1に開示されるように、急な場合に必要な技術を有する候補者を即時に提示してマッチングすることが可能なマッチングシステム及びマッチング方法が知られている。この従来技術は、一時的に求人を希望する医療機関に対して、即時かつ確実に専門医を提示するマッチングシステムであり、オンコール状態の専門医に対して架電する機能を有することを特徴とするマッチングシステムである。
【0006】
本システムは主に、救急医療を対象としたサービスであり、あらかじめ医療機関の求人条件と分類付けを行った専門医との情報を参照して求人情報に基づく専門医の候補者リストを作成することで、求人からマッチングまでのプロセス期間を短期間で実現するものである。しかし、医局制度を有する日本ではフリーランスの医師は少なく、系列病院以外の医療機関で救急に執刀できる専門医は限定される。
【0007】
特許文献2では、雇用者企業の求人情報、及び応募者の性格や能力等に応じたマッチングを行う求人マッチングシステムが示されている。
このように従来は医療機関で不足する人員を医師とマッチングさせることが考えられてきたが、医療機関が規定の診療時間を終了した後や医療機関の休診期間において、医療機関(換言すれば、医療用設備)を有効活用するために医療機関と医師等の医療従事者とのマッチングを行うシステムに関する先行文献はない。
【0008】
また、インターネット上で医療機関の口コミ評価の記載及び閲覧を行う事例は存在するが、夜間救急外来を実際に担当する担当医に関する評価情報や、医療機関の休診時間を活用して診療を請け負う医師の情報を閲覧するシステムは存在しなかった。そのため、患者は夜間に直接診療を受けたくても担当医の情報が得られないため安心して診療を受けることができず、処方箋を発症初期段階に受け取ることはできなかった。また、夜間診療を行う医療機関が少ないため複数の医療機関の担当医の情報を閲覧、比較して予約を行うことができないという課題があった。
【0009】
上記の課題を鑑み、本発明は、医療用設備を貸与可能な医療機関と医療サービスの提供を希望する医療従事者(例えば、医師)とをマッチングするシステムを提供することで、医療用設備の有効活用、及び医療サービスのレベル向上を図ることを目的とする。また、患者がより安心して医療を受けることができるようにすることを目的とする。
【課題を解決するための手段】
【0010】
上述の課題を解決するため、本発明の一態様に係る情報処理システムとしては、医療用設備を貸与可能な医療機関と医療サービスの提供を希望する医療従事者(例えば、医師)とをマッチングするシステムであって、医師の情報を元に患者が医療機関で気軽に対面で診療を受けられる情報処理システムを提供する。
(【0011】以降は省略されています)
この特許をJ-PlatPat(特許庁公式サイト)で参照する
関連特許
個人
医療のAI化
1か月前
個人
支援システム
4か月前
個人
管理装置
4か月前
個人
対話システム
4か月前
個人
通知ぬいぐるみAIシステム
1か月前
個人
情報システムおよび方法
6か月前
株式会社タカゾノ
薬剤秤量装置
2か月前
株式会社タカゾノ
薬剤秤量装置
2か月前
株式会社タカゾノ
薬剤秤量装置
2か月前
株式会社タカゾノ
薬剤秤量装置
2か月前
株式会社タカゾノ
薬剤秤量装置
2か月前
エムスリー株式会社
媒体
7か月前
株式会社タカゾノ
薬剤秤量装置
4か月前
株式会社リコー
投薬管理システム
1か月前
TOTO株式会社
健康管理システム
2日前
個人
診療の管理装置及び診療システム
2か月前
株式会社M-INT
情報処理システム
5か月前
ゾーン株式会社
コンピュータシステム
5か月前
株式会社サンクスネット
情報提供システム
4か月前
大王製紙株式会社
作業管理システム
6か月前
富士電機株式会社
食事管理システム
7か月前
医療法人社団梅華会
医療の支援装置
8か月前
株式会社CureApp
プログラム
3か月前
個人
透析医療に関する回答方法及びその装置
8か月前
株式会社サンクスネット
リスク判定システム
8か月前
株式会社ミラボ
情報処理装置、及びプログラム
2か月前
アルケア株式会社
コミュニケーションシステム
8か月前
株式会社 137
健康観察管理システム
4か月前
合同会社フォース
オンライン診療システム
6か月前
西川株式会社
サービス出力システム
4か月前
歯っぴー株式会社
口内状態の画像診断方法
1か月前
株式会社タカゾノ
薬剤秤量装置及び調剤システム
4か月前
大和ハウス工業株式会社
服薬推定システム
2日前
株式会社JVCケンウッド
表示装置及び表示方法
8か月前
HITOTSU株式会社
手術管理システム1
5か月前
株式会社SECRET MEDICINE
管理装置
1か月前
続きを見る
他の特許を見る