TOP
|
特許
|
意匠
|
商標
特許ウォッチ
Twitter
他の特許を見る
公開番号
2025162379
公報種別
公開特許公報(A)
公開日
2025-10-27
出願番号
2024065646
出願日
2024-04-15
発明の名称
鉄筋曲機
出願人
東陽建設工機株式会社
代理人
弁理士法人航栄事務所
主分類
B21D
7/00 20060101AFI20251020BHJP(本質的には材料の除去が行なわれない機械的金属加工;金属の打抜き)
要約
【課題】鉄筋の曲げ加工を精度よく行う
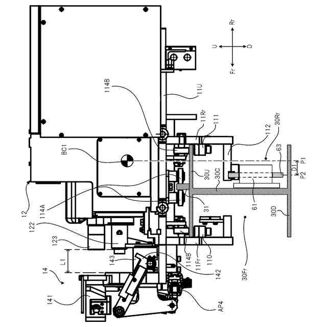
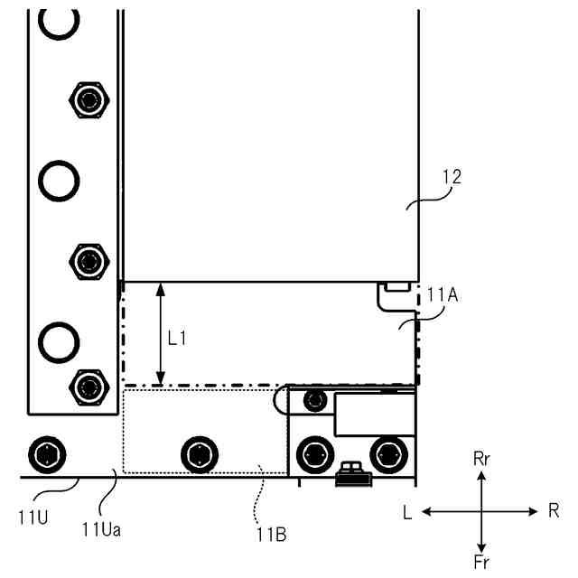
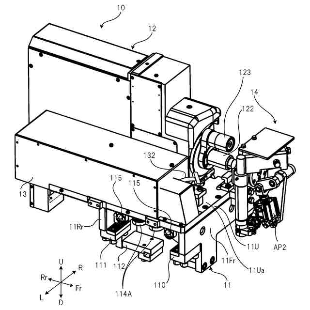
【解決手段】鉄筋曲機は、第1方向に移動可能に構成された加工ユニットと、前記加工ユニットに連結され、前記加工ユニットを前記第1方向に移動させる駆動力を前記加工ユニットに伝達する駆動部材と、を備え、前記加工ユニットは、前記第1方向に交差する第2方向における位置が固定の固定ユニットと、前記固定ユニットに対して前記第2方向に移動可能な可動ユニットと、を含み、前記可動ユニットは、支点部材と、力点部材と、を含み、鉄筋を前記第1方向及び前記第2方向に交差する第3方向の一方と他方に曲げることが可能に構成され、前記第1方向に見た状態且つ前記可動ユニットが第1位置にある状態において、前記加工ユニットの重心位置と、前記加工ユニットと前記駆動部材との連結位置と、の前記第2方向における第1距離は、前記可動ユニットの前記第2方向への最大移動距離よりも小さくなっている。
【選択図】図4
特許請求の範囲
【請求項1】
鉄筋の曲げ加工を行う第1方向に移動可能に構成された加工ユニットと、
前記加工ユニットに連結され、前記加工ユニットを前記第1方向に移動させる駆動力を前記加工ユニットに伝達する駆動部材と、を備え、
前記加工ユニットは、前記第1方向に交差する第2方向における位置が固定の固定ユニットと、前記固定ユニットに対して前記第2方向に移動可能な可動ユニットと、を含み、
前記可動ユニットは、支点部材と、力点部材と、を含み、鉄筋を前記第1方向及び前記第2方向に交差する第3方向の一方と他方に曲げることが可能に構成され、
前記第1方向に見た状態且つ前記可動ユニットが第1位置にある状態において、前記加工ユニットの重心位置と、前記加工ユニットと前記駆動部材との連結位置と、の前記第2方向における第1距離は、前記可動ユニットの前記第2方向への最大移動距離よりも小さくなっている、鉄筋曲機。
続きを表示(約 550 文字)
【請求項2】
請求項1に記載の鉄筋曲機であって、
前記第1方向に見た状態且つ前記可動ユニットが前記第1位置と異なる第2位置にある状態において、前記第1距離は前記最大移動距離よりも小さくなっている、鉄筋曲機。
【請求項3】
請求項2に記載の鉄筋曲機であって、
前記第2方向は、前記鉄筋曲機の前後方向であり、
前記可動ユニットが前記第1位置にある状態は、前記可動ユニットが可動範囲における前記鉄筋曲機の後側の端にある状態である、鉄筋曲機。
【請求項4】
請求項3に記載の鉄筋曲機であって、
前記可動ユニットが前記第2位置にある状態は、前記可動ユニットが可動範囲における前記鉄筋曲機の前側の端にある状態である、鉄筋曲機。
【請求項5】
請求項4に記載の鉄筋曲機であって、
前記可動ユニットが前記第2位置にある状態での前記第1距離は、前記可動ユニットが前記第1位置にある状態での前記第1距離よりも小さい、鉄筋曲機。
【請求項6】
請求項5に記載の鉄筋曲機であって、
前記可動ユニットが前記第1位置にある状態において、前記連結位置は前記重心位置よりも前記鉄筋曲機の前側に位置する、鉄筋曲機。
発明の詳細な説明
【技術分野】
【0001】
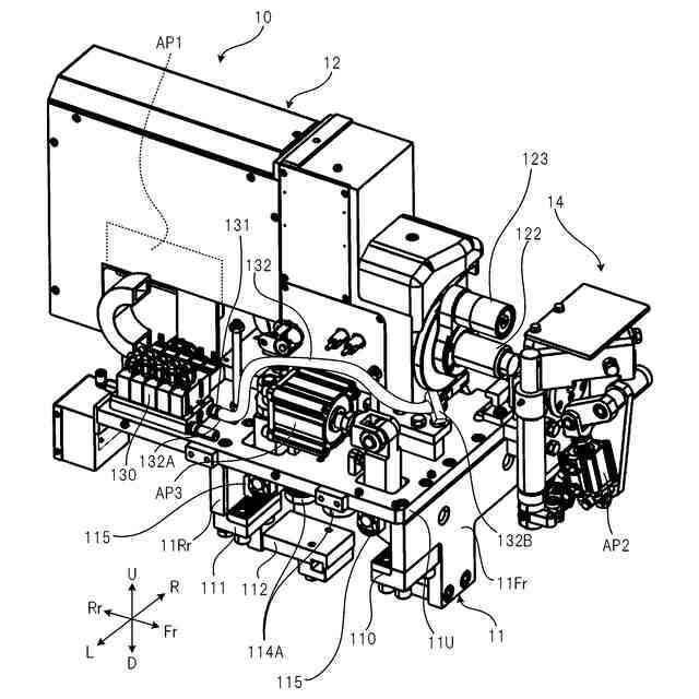
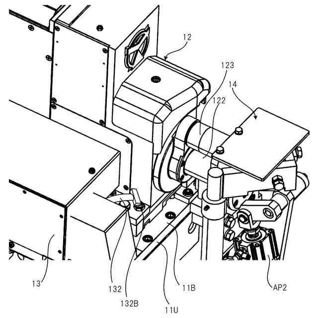
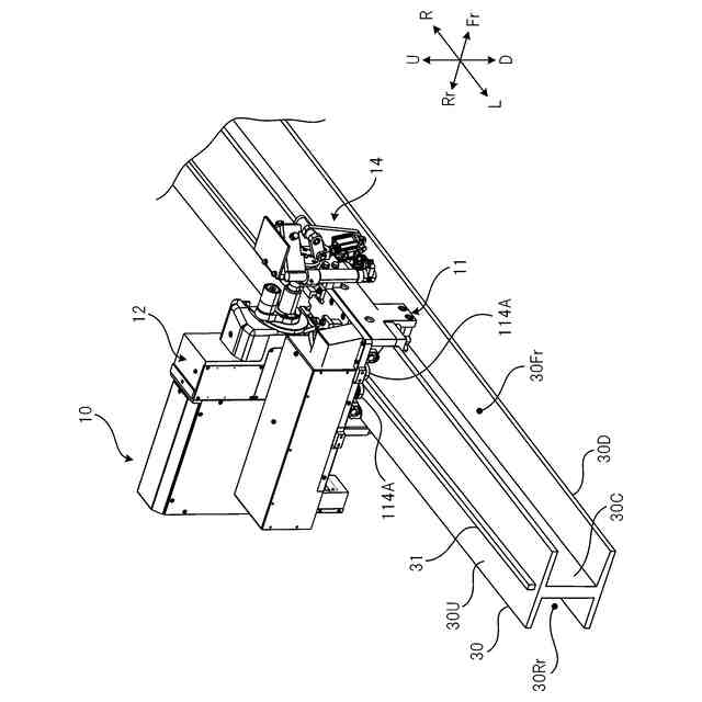
本開示の技術は、鉄筋曲機に関する。
続きを表示(約 1,100 文字)
【背景技術】
【0002】
特許文献1には、上下に鉄筋を曲げることのできる鉄筋曲機が記載されている。
【先行技術文献】
【特許文献】
【0003】
特開2009-12029号公報
【発明の概要】
【発明が解決しようとする課題】
【0004】
本開示の技術は、鉄筋の曲げ加工を精度よく行うことを目的としている。
【課題を解決するための手段】
【0005】
本開示の技術の一態様は以下の通りである。
【0006】
(1)
鉄筋の曲げ加工を行う第1方向に移動可能に構成された加工ユニットと、
上記加工ユニットに連結され、上記加工ユニットを上記第1方向に移動させる駆動力を上記加工ユニットに伝達する駆動部材と、を備え、
上記加工ユニットは、上記第1方向に交差する第2方向における位置が固定の固定ユニットと、上記固定ユニットに対して上記第2方向に移動可能な可動ユニットと、を含み、
上記可動ユニットは、支点部材と、力点部材と、を含み、鉄筋を上記第1方向及び上記第2方向に交差する第3方向の一方と他方に曲げることが可能に構成され、
上記第1方向に見た状態且つ上記可動ユニットが第1位置にある状態において、上記加工ユニットの重心位置と、上記加工ユニットと上記駆動部材との連結位置と、の上記第2方向における第1距離は、上記可動ユニットの上記第2方向への最大移動距離よりも小さくなっている、鉄筋曲機。
【0007】
(2)
(1)に記載の鉄筋曲機であって、
上記第1方向に見た状態且つ上記可動ユニットが上記第1位置と異なる第2位置にある状態において、上記第1距離は上記最大移動距離よりも小さくなっている、鉄筋曲機。
【0008】
(3)
(2)に記載の鉄筋曲機であって、
上記第2方向は、上記鉄筋曲機の前後方向であり、
上記可動ユニットが上記第1位置にある状態は、上記可動ユニットが可動範囲における上記鉄筋曲機の後側の端にある状態である、鉄筋曲機。
【0009】
(4)
(3)に記載の鉄筋曲機であって、
上記可動ユニットが上記第2位置にある状態は、上記可動ユニットが可動範囲における上記鉄筋曲機の前側の端にある状態である、鉄筋曲機。
【0010】
(5)
(4)に記載の鉄筋曲機であって、
上記可動ユニットが上記第2位置にある状態での上記第1距離は、上記可動ユニットが上記第1位置にある状態での上記第1距離よりも小さい、鉄筋曲機。
(【0011】以降は省略されています)
この特許をJ-PlatPat(特許庁公式サイト)で参照する
関連特許
東陽建設工機株式会社
鉄筋曲機
1か月前
東陽建設工機株式会社
鉄筋曲機及び鉄筋曲げ方法
3か月前
東陽建設工機株式会社
鉄筋加工機及びその作動方法
1か月前
東陽建設工機株式会社
鉄筋切断補助装置及び鉄筋切断システム
27日前
個人
鋼線の連続伸線方法
12日前
オムロン株式会社
導線折り曲げ治具
3か月前
株式会社アマダ
曲げ金型
2か月前
トヨタ紡織株式会社
プレス金型
2か月前
トヨタ自動車株式会社
打ち抜き加工装置
1か月前
日鉄建材株式会社
成形装置
1か月前
フジテック株式会社
金属棒曲げ工具
1か月前
株式会社三明製作所
転造装置
2か月前
トヨタ自動車株式会社
鋼板部材の製造方法
1か月前
トヨタ自動車株式会社
鋼板部材の製造方法
1か月前
東京精密発條株式会社
金属板の曲げ加工装置
2か月前
株式会社アマダ
ビード形成方法
28日前
トヨタ自動車株式会社
金属部材の製造方法
2か月前
トヨタ自動車株式会社
鋼板部材及びその製造方法
2か月前
東陽建設工機株式会社
鉄筋曲機
1か月前
共英製鋼株式会社
異形棒鋼の捻れ抑制方法
1か月前
株式会社中田製作所
管外周長測定方法とその装置
1か月前
株式会社今井金箔
金属箔製造方法、及び、金属箔
2か月前
ダイハツ工業株式会社
剪断穴あけ装置
28日前
トリックス株式会社
セレーションの製造方法
3か月前
株式会社SIMA.I
転造盤
2か月前
フタバ産業株式会社
成型品の製造方法
12日前
フタバ産業株式会社
成形品の製造方法
12日前
三菱製鋼株式会社
測定装置及び方法
1か月前
株式会社佐藤製作所
エルボ製品の製造方法及び装置
3か月前
株式会社放電精密加工研究所
位置補正情報処理装置
3か月前
株式会社レゾナック
スクロール部材の製造方法
3か月前
愛知製鋼株式会社
中空シャフト部材の製造方法
19日前
株式会社アイシン
金属製筐体の製造方法および押出成型用金型
1か月前
株式会社神戸製鋼所
微小構造物及びその製造方法
今日
株式会社C&A
柱状構造体の作製方法
1か月前
JFEスチール株式会社
H形鋼の製造方法
2か月前
続きを見る
他の特許を見る