TOP
|
特許
|
意匠
|
商標
特許ウォッチ
Twitter
他の特許を見る
10個以上の画像は省略されています。
公開番号
2025172544
公報種別
公開特許公報(A)
公開日
2025-11-26
出願番号
2024078107
出願日
2024-05-13
発明の名称
微小構造物及びその製造方法
出願人
株式会社神戸製鋼所
代理人
個人
,
個人
,
個人
主分類
B21D
28/10 20060101AFI20251118BHJP(本質的には材料の除去が行なわれない機械的金属加工;金属の打抜き)
要約
【課題】金属板に一体に設けられる構造物の微小化と破断回避とを両立する。
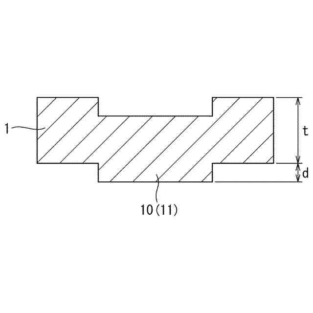
【解決手段】微小構造物2の製造方法は、金属板1を剪断加工装置50の下型51に設置すること、金属板1を完全に打ち抜くことなく剪断加工装置50の上型52で金属板1の加工位置に剪断加工を施すことを備える。
【選択図】図4
特許請求の範囲
【請求項1】
金属板を剪断加工装置の下型に設置することと、
前記金属板を完全に打ち抜くことなく、前記剪断加工装置の上型で前記金属板の加工位置に剪断加工を施し、突出部を形成することと、
を備える、微小構造物の製造方法。
続きを表示(約 500 文字)
【請求項2】
前記加工位置には、前記金属板の幅方向外側に繰り返しずらした複数の加工位置が含まれ、
前記加工位置を前回加工位置から前記金属板の幅方向外側にずらして前記剪断加工を施すことを繰り返すことを更に備える、
請求項1に記載の微小構造物の製造方法。
【請求項3】
前記剪断加工によって生じた凹凸を有する前記突出部を平滑化することを更に備える、
請求項1又は2に記載の微小構造物の製造方法。
【請求項4】
前記金属板の板厚の50%又はそれ以下の剪断加工量だけ、前記金属板の前記加工位置に前記剪断加工が施される、
請求項1又は2に記載の微小構造物の製造方法。
【請求項5】
前記金属板が、純銅又は銅合金製の板材である、
請求項1又は2に記載の微小構造物の製造方法。
【請求項6】
金属板を完全に打ち抜くことなく剪断加工を施し突出部を形成することで、前記突出部内に設けられた剪断変形帯を有する、微小構造物。
【請求項7】
前記突出部は平滑化されている、請求項6に記載の微小構造物。
発明の詳細な説明
【技術分野】
【0001】
本発明は、微小構造物及びその製造方法に関する。
続きを表示(約 1,100 文字)
【背景技術】
【0002】
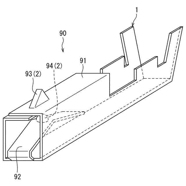
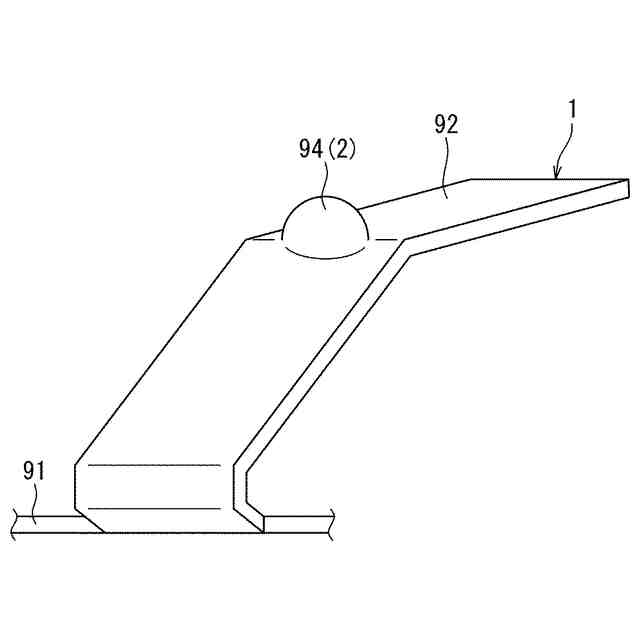
例えばコネクタのように、金属板に、微小な構造物が設けられる場合がある。特許文献1は、端子金具がコネクタハウジングから抜けるのを防止するため、端子金具及びコネクタハウジングそれぞれに設けられ且つ互いに係合可能な係止突部及びランスを開示している。
【先行技術文献】
【特許文献】
【0003】
特開2004-014304号公報
【発明の概要】
【発明が解決しようとする課題】
【0004】
上記の係止突部は、張出し加工によって端子金具に一体形成されているものと考えられる。金属板に微小な構造物を設けるために張出し加工を使用する場合、構造物にパンチの抜き勾配を設定する必要がある。また、構造物の面内における幅方向とその直交方向の二軸応力状態が発生し、金属板に割れが生じやすい。抜き勾配の設定及び割れの回避のため、構造物の幅が構造物の突出量に対して大きくならざるを得ない。このように、従来の微小構造物の製造方法には、構造物の微小化に改善の余地がある。
【0005】
本発明は、金属板に一体に設けられる構造物の微小化と破断回避とを両立することを課題とする。
【課題を解決するための手段】
【0006】
本発明の一態様は、金属板を剪断加工装置の下型に設置することと、前記金属板を完全に打ち抜くことなく、前記剪断加工装置の上型で前記金属板の加工位置に剪断加工を施し、突出部を形成することと、を備える、微小構造物の製造方法を提供する。
【0007】
上記構成によれば、1回の剪断加工によって、剪断加工装置の上型と略同じ幅を有する突出部を金属板に一体形成できる。上型には、張出し加工のように抜き勾配を設定する必要がない。また、破断限界を下回るように剪断加工を施しているため、金属板には割れを含めた破断が生じない。金属板に構造物を一体的に設けるにあたり、金属板に破断を生じさせることなく、構造物の幅を構造物の突出量に対して小さくすることができる。
【0008】
前記加工位置には、前記金属板の幅方向外側に繰り返しずらした複数の加工位置が含まれ、当該方法が、前記加工位置を前記金属板の幅方向外側にずらして前記剪断加工を施すことを繰り返すことを更に備えてもよい。
【0009】
上記構成によれば、加工位置を幅方向にずらしながら剪断加工を繰り返すことにより、微小構造物の突出量を漸次大きくすることができる。
【0010】
前記製造方法が、前記剪断加工によって生じた凹凸を有する突出部を平滑化することを更に備えてもよい。
(【0011】以降は省略されています)
この特許をJ-PlatPat(特許庁公式サイト)で参照する
関連特許
株式会社神戸製鋼所
銅合金
21日前
株式会社神戸製鋼所
接点材料
19日前
株式会社神戸製鋼所
出湯用スリーブ
6日前
株式会社神戸製鋼所
熱交換システム
19日前
株式会社神戸製鋼所
再生ゴム製造方法
6日前
株式会社神戸製鋼所
微小構造物及びその製造方法
今日
株式会社神戸製鋼所
密閉型混練機及び密閉型混練機用混練ロータ
6日前
株式会社神戸製鋼所
二酸化炭素排出量演算システム、該方法および該プログラム
19日前
株式会社神戸製鋼所
タブ用アルミニウム合金塗装板
今日
個人
棒鋼連続引抜装置
8か月前
個人
鋼線の連続伸線方法
12日前
個人
ヘッダー加工機
5か月前
株式会社オプトン
曲げ加工装置
8か月前
日伸工業株式会社
プレス加工装置
5か月前
株式会社不二越
NC転造盤
8か月前
株式会社不二越
NC転造盤
4か月前
日東精工株式会社
中空軸部品の製造方法
5か月前
オムロン株式会社
導線折り曲げ治具
3か月前
トヨタ紡織株式会社
プレス金型
2か月前
株式会社アマダ
曲げ金型
2か月前
東栄工業株式会社
ダブルデッキヘミング金型
4か月前
トヨタ紡織株式会社
プレス金型
5か月前
工機ホールディングス株式会社
ニブラ
6か月前
トヨタ紡織株式会社
プレス装置
6か月前
トヨタ紡織株式会社
プレス金型
7か月前
株式会社西田製作所
パンチャーヘッド
6か月前
日鉄建材株式会社
成形装置
1か月前
株式会社アマダ
曲げ加工機
5か月前
株式会社トラバース
パンチング加工装置
7か月前
株式会社アマダ
曲げ加工機
8か月前
トヨタ自動車株式会社
打ち抜き加工方法
6か月前
株式会社TMEIC
監視装置
7か月前
日産自動車株式会社
逐次成形方法
9か月前
トヨタ自動車株式会社
打ち抜き加工装置
1か月前
株式会社三明製作所
転造装置
2か月前
ユニプレス株式会社
プレス加工装置
3か月前
続きを見る
他の特許を見る