TOP
|
特許
|
意匠
|
商標
特許ウォッチ
Twitter
他の特許を見る
公開番号
2025173834
公報種別
公開特許公報(A)
公開日
2025-11-28
出願番号
2024079635
出願日
2024-05-15
発明の名称
建築物のリフォーム方法及び建築物
出願人
積水ハウス株式会社
代理人
個人
,
個人
主分類
E04G
23/02 20060101AFI20251120BHJP(建築物)
要約
【課題】外壁材の上下方向の位置を調整できる建築物のリフォーム方法及び建築物を提供する。
【解決手段】建築物のリフォーム方法は、対象外壁材及び対象軸組を取り外す取外工程と、基礎11における対象軸組が配置されていた部分に土台16を配置し、対象軸組が固定されていたアンカーボルトに土台16を固定する土台取付工程と、新規縦フレーム部及び新規横フレーム部を有する新規軸組を土台16と梁との間に配置し、土台16に新規軸組を固定する軸組取付工程と、新規外壁材を取り付ける外壁材取付工程とを有している。土台16には、支持部71と支持部71の上下方向の位置を調整するための調整部72とを有する支持ユニット17が設けられる。支持部71は、土台16よりも屋外側に位置するように土台16に取り付けられる。外壁材取付工程では、支持部71上に新規外壁材を載置する。
【選択図】図6
特許請求の範囲
【請求項1】
基礎、梁、前記基礎と前記梁との間に配置された縦フレーム部及び横フレーム部を有する軸組、及び前記軸組よりも屋外側に設けられた外壁材を有し、前記軸組は前記基礎から突出するアンカーボルトに固定されている建築物のリフォーム方法であって、
取替対象の前記外壁材である対象外壁材及び取替対象の前記軸組である対象軸組を取り外す取外工程と、
前記基礎における前記対象軸組が配置されていた部分に土台を配置し、前記対象軸組が固定されていた前記アンカーボルトに前記土台を固定する土台取付工程と、
新規縦フレーム部及び新規横フレーム部を有する新規軸組を前記土台と前記梁との間に配置し、前記土台に前記新規軸組を固定する軸組取付工程と、
新規外壁材を取り付ける外壁材取付工程と、
を有し、
前記土台には、支持部と前記支持部の上下方向の位置を調整するための調整部とを有する支持ユニットが設けられ、前記支持部は、前記土台よりも屋外側に位置するように前記土台に取り付けられ、
前記外壁材取付工程では、前記支持部上に前記新規外壁材を載置する建築物のリフォーム方法。
続きを表示(約 1,600 文字)
【請求項2】
前記土台は、前記アンカーボルトに固定される第1フランジと、前記第1フランジの上方に位置するとともに前記新規軸組が固定される第2フランジと、前記第1フランジと前記第2フランジとを接続するウェブとを有し、
前記調整部は、軸部及び頭部を有する調整ボルトと、前記調整ボルトに係合する調整ナットとを有し、
前記軸部は、前記第2フランジを上下方向に貫通し、
前記軸部における前記頭部とは反対側の端部は、前記第1フランジ上に配置され、
前記調整ナットには前記支持部が固定されている請求項1に記載の建築物のリフォーム方法。
【請求項3】
前記支持部は、前記調整ナットが固定される上段部と、前記土台よりも屋外側かつ上下方向において前記上段部よりも下側に位置するとともに前記新規外壁材が載置される下段部と、前記上段部と前記下段部とを接続する段差部とを有する請求項2に記載の建築物のリフォーム方法。
【請求項4】
前記土台は、前記土台が延びる方向の第1端に位置する第1端板と、前記土台が延びる方向の第2端に位置する第2端板とを有し、
前記土台取付工程において、
前記第1端板は、前記取外工程において取り外されなかった前記軸組である既存軸組を構成するとともに前記第1端板と隣り合う前記縦フレーム部に固定され、
前記第2端板は、前記既存軸組を構成するとともに前記第2端板と隣り合う前記縦フレーム部に固定される請求項1に記載の建築物のリフォーム方法。
【請求項5】
前記土台は、前記アンカーボルトに固定される第1フランジと、前記第1フランジの上方に位置するとともに前記新規軸組が固定される第2フランジと、前記第1フランジと前記第2フランジとを接続するウェブと、前記第1フランジと前記第2フランジと前記ウェブとを接続するスチフナを有し、
前記スチフナは、前記土台が延びる方向において、前記新規軸組の前記新規縦フレーム部に対応する位置に設けられている請求項1に記載の建築物のリフォーム方法。
【請求項6】
前記スチフナは、前記土台が延びる方向において、前記アンカーボルトに固定される部分とは異なる部分に設けられている請求項5に記載の建築物のリフォーム方法。
【請求項7】
前記軸組取付工程では、2つの前記新規縦フレーム部が前記土台が延びる方向において隣接するように取り付けられ、
前記土台は、
隣接する2つの前記新規縦フレーム部のうちの一方に対応する位置に設けられる前記スチフナとしての第1スチフナと、
隣接する2つの前記新規縦フレーム部のうちの他方に対応する位置に設けられる前記スチフナとしての第2スチフナと、
前記第1スチフナと前記第2スチフナとの間に設けられる前記スチフナとしての第3スチフナと、
を有する請求項5に記載の建築物のリフォーム方法。
【請求項8】
前記軸組取付工程では、開口を有する開口軸組である前記新規軸組が取り付けられ、前記開口軸組の前記新規縦フレーム部は、前記土台の両端部以外の部分に固定される請求項1に記載の建築物のリフォーム方法。
【請求項9】
基礎と、
梁と、
前記基礎と前記梁との間に配置された縦フレーム部及び横フレーム部を有する軸組と、
前記軸組よりも屋外側に設けられた外壁材と、
を備える建築物であって、
前記基礎と前記梁との間に配置されるとともに前記基礎から突出するアンカーボルトに固定された土台を備え、
前記軸組は、前記土台と前記梁との間に配置されるとともに前記土台に固定され、
前記土台には、前記外壁材を支持する支持部と、前記支持部の上下方向の位置を調整するための調整部とを有する支持ユニットが設けられている建築物。
発明の詳細な説明
【技術分野】
【0001】
本発明は、建築物のリフォーム方法及び建築物に関する。
続きを表示(約 1,800 文字)
【背景技術】
【0002】
特許文献1には、基礎と、梁と、基礎と梁との間に配置された縦フレーム部及び横フレーム部を有する軸組と、軸組よりも屋外側に設けられた外壁材とを備える建築物の軸組取替方法が開示されている。取替対象の軸組よりも屋外側に設けられた外壁材及び取替対象の軸組が建築物から取り外された後、新しい軸組が取り付けられる。また、新しい軸組よりも屋外側に位置するように新しい外壁材が取り付けられる。
【先行技術文献】
【特許文献】
【0003】
特開2002-357004号公報
【発明の概要】
【発明が解決しようとする課題】
【0004】
新しい外壁材の上下方向の位置が、新しい外壁材と隣り合う外壁材の上下方向の位置と異なっている場合、隣り合う2つの外壁材の上端及び下端にずれが生じることにより、建築物の外観が損なわれる。
【課題を解決するための手段】
【0005】
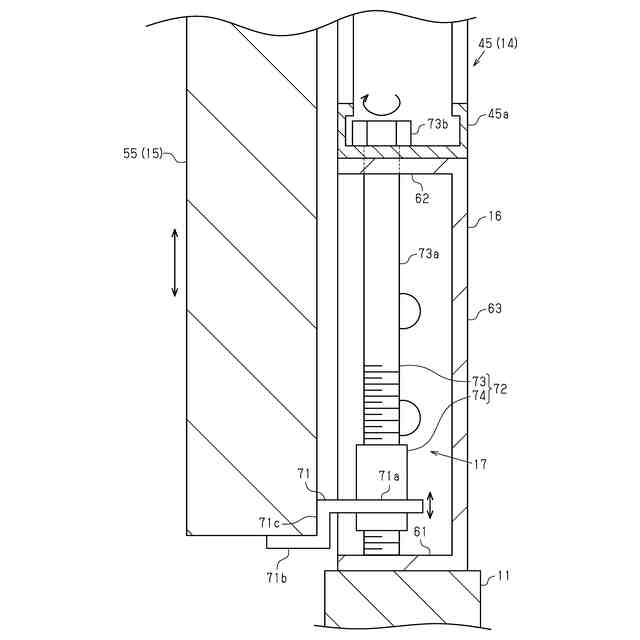
(1)上記課題を解決する建築物のリフォーム方法は、基礎、梁、前記基礎と前記梁との間に配置された縦フレーム部及び横フレーム部を有する軸組、及び前記軸組よりも屋外側に設けられた外壁材を有し、前記軸組は前記基礎から突出するアンカーボルトに固定されている建築物のリフォーム方法であって、取替対象の前記外壁材である対象外壁材及び取替対象の前記軸組である対象軸組を取り外す取外工程と、前記基礎における前記対象軸組が配置されていた部分に土台を配置し、前記対象軸組が固定されていた前記アンカーボルトに前記土台を固定する土台取付工程と、新規縦フレーム部及び新規横フレーム部を有する新規軸組を前記土台と前記梁との間に配置し、前記土台に前記新規軸組を固定する軸組取付工程と、新規外壁材を取り付ける外壁材取付工程と、を有し、前記土台には、支持部と前記支持部の上下方向の位置を調整するための調整部とを有する支持ユニットが設けられ、前記支持部は、前記土台よりも屋外側に位置するように前記土台に取り付けられ、前記外壁材取付工程では、前記支持部上に前記新規外壁材を載置する。
この方法によれば、調整部によって支持部の上下方向の位置を調整することにより、支持部に支持された新規外壁材の上下方向の位置を調整することができる。
【0006】
(2)上記(1)の建築物のリフォーム方法において、前記土台は、前記アンカーボルトに固定される第1フランジと、前記第1フランジの上方に位置するとともに前記新規軸組が固定される第2フランジと、前記第1フランジと前記第2フランジとを接続するウェブとを有し、前記調整部は、軸部及び頭部を有する調整ボルトと、前記調整ボルトに係合する調整ナットとを有し、前記軸部は、前記第2フランジを上下方向に貫通し、前記軸部における前記頭部とは反対側の端部は、前記第1フランジ上に配置され、前記調整ナットには前記支持部が固定されている。
【0007】
この構成によれば、調整ボルトが回転すると、調整ボルトに対する調整ナットの位置が軸部の軸方向において変化する。このため、調整ナットに固定された支持部の上下方向の位置も変化する。したがって、作業者は調整ボルトを回転させることにより、新規外壁材の上下方向の位置を調整することができる。
【0008】
また、調整ボルトの頭部は、第1フランジよりも上側に位置している。このため、新規外壁材が支持部によって支持された状態、すなわち第1フランジと第2フランジとウェブとによって囲まれた空間が新規外壁材によって覆われた状態でも、作業者は調整ボルトを回転させやすい。
【0009】
(3)上記(2)の建築物のリフォーム方法において、前記支持部は、前記調整ナットが固定される上段部と、前記土台よりも屋外側かつ上下方向において前記上段部よりも下側に位置するとともに前記新規外壁材が載置される下段部と、前記上段部と前記下段部とを接続する段差部とを有する。
【0010】
例えば、支持部が平板状である場合、支持部の下面が第1フランジに接触する位置まで支持部の位置を下げたとしても、支持部の上面は第1フランジよりも上側に位置する。このため、支持部に支持される新規外壁材も第1フランジよりも上側に位置する。したがって、新規外壁材によって土台全体を覆うことができない。
(【0011】以降は省略されています)
この特許をJ-PlatPat(特許庁公式サイト)で参照する
関連特許
積水ハウス株式会社
建築物
9日前
積水ハウス株式会社
建築物
今日
積水ハウス株式会社
建築物
1か月前
積水ハウス株式会社
柱及び建築物
今日
積水ハウス株式会社
鋼製フレーム
1日前
積水ハウス株式会社
鋼製フレーム
1日前
積水ハウス株式会社
屋根構造及び取付金具
1か月前
積水ハウス株式会社
屋根構造及びカバー部材
1か月前
積水ハウス株式会社
建築物及び建築物の施工方法
9日前
積水ハウス株式会社
ドア用解施錠装置及び建築物
1か月前
積水ハウス株式会社
固定ピン保持用アタッチメント
29日前
積水ハウス株式会社
取付金具および吊下物の取付構造
今日
積水ハウス株式会社
建築物のリフォーム方法及び建築物
今日
積水ハウス株式会社
軸組構造、および、軸組構造を備えた建築物
今日
積水ハウス株式会社
剥離装置及び、当該剥離装置を用いた剥離方法
9日前
積水ハウス株式会社
見守りシステム
8日前
個人
接合構造
1か月前
個人
タッチミー
1か月前
個人
安心補助てすり
1か月前
個人
ベンリナアングル
1か月前
個人
防災建築物
1か月前
株式会社シンケン
住宅
1か月前
株式会社熊谷組
床構成材
1か月前
株式会社熊谷組
吊り治具
1か月前
三協立山株式会社
構造体
16日前
三協立山株式会社
構造体
21日前
三協立山株式会社
構造体
1か月前
株式会社大林組
接合構造
1か月前
三洋工業株式会社
床構造
1か月前
鹿島建設株式会社
解体方法
1か月前
岡部株式会社
柱梁接合構造
8日前
鹿島建設株式会社
接合構造
1か月前
鹿島建設株式会社
制震架構
1か月前
ミサワホーム株式会社
住宅
29日前
ミサワホーム株式会社
玄関
21日前
株式会社オカムラ
移動式什器
1か月前
続きを見る
他の特許を見る