TOP
|
特許
|
意匠
|
商標
特許ウォッチ
Twitter
他の特許を見る
10個以上の画像は省略されています。
公開番号
2025173247
公報種別
公開特許公報(A)
公開日
2025-11-27
出願番号
2024078743
出願日
2024-05-14
発明の名称
鋼製フレーム
出願人
積水ハウス株式会社
,
日本製鉄株式会社
代理人
個人
,
個人
主分類
E04B
2/56 20060101AFI20251119BHJP(建築物)
要約
【課題】 本発明は、効率的に製造できる鋼製フレームを提供する。
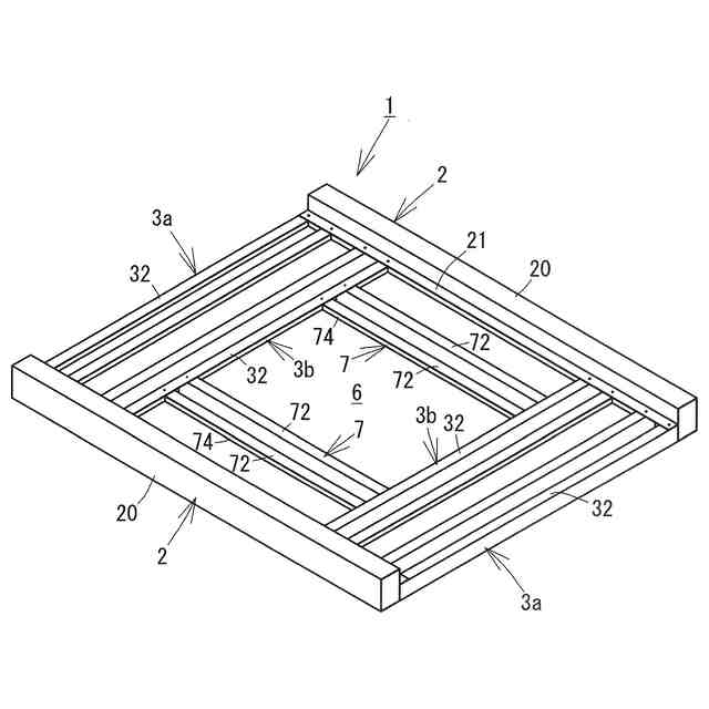
【解決手段】鋼製フレーム1は、長尺な一対の縦枠2と、前記一対の縦枠2の間に架設される複数の横枠3a~3dと、を備え、前記一対の縦枠2は、互いに接近する方向に突き出してそれぞれ長尺方向に沿って形成されるヒレ部21を有し、前記横枠3a~3dは、長尺方向に延びる2つの側板部30と、前記側板部30の一方の側縁同士を接続する接続板部31とを有し、溝状に形成される本体部34と、前記側板部30の他方の側縁からそれぞれ前記接続板部31と平行な方向にそれぞれ形成される鍔部32と、を有し、前記鍔部32の端部が前記縦枠2の前記ヒレ部21に当接して接合される。
【選択図】図1
特許請求の範囲
【請求項1】
長尺な一対の縦枠と、前記一対の縦枠の間に架設される複数の横枠と、を備え、
前記一対の縦枠は、互いに接近する方向に突き出してそれぞれ長尺方向に沿って形成されるヒレ部を有し、
前記横枠は、
長尺方向に延びる2つの側板部と、前記側板部の一方の側縁同士を接続する接続板部とを有し、溝状に形成される本体部と、
前記側板部の他方の側縁からそれぞれ前記接続板部と平行な方向にそれぞれ形成される鍔部と、を有し、
前記横枠の前記鍔部の端部が前記縦枠の前記ヒレ部に当接して接合される、
鋼製フレーム。
続きを表示(約 860 文字)
【請求項2】
前記側板部の間で、前記鍔部に接合される補強板材を更に備え、
前記補強板材の厚さは前記側板部の幅よりも短く形成されており、前記鍔部にスペーサを介して前記補強板材が接合され、
前記補強板材と前記接続板部とが面一に配置される、
請求項1に記載の鋼製フレーム。
【請求項3】
前記側板部の間で、前記鍔部に接合される補強板材を更に備え、
前記補強板材の厚さは前記側板部の幅と等しく形成される、
請求項1に記載の鋼製フレーム。
【請求項4】
前記横枠のうちの2本の横枠が前記一対の縦枠の長尺方向の両端にそれぞれ架設されて、前記一対の縦枠とともに矩形の外周を形成する外周横枠であり、
2本の前記外周横枠は、それぞれの外周側の前記鍔部が前記側板部の他方の側縁から互いに接近する方向に延びて形成される、
請求項1に記載の鋼製フレーム。
【請求項5】
前記横枠のうちの2本の横枠が前記一対の縦枠の長尺方向の両端にそれぞれ架設されて、前記一対の縦枠とともに矩形の外周を形成する外周横枠であり、
2本の前記外周横枠は、それぞれの外周側の前記鍔部の外周側の側縁から前記側板部と反対方向に延びる外周板が形成される、
請求項1に記載の鋼製フレーム。
【請求項6】
前記横枠のうち2本の横枠にLアングルが架設され、
前記2本の横枠の互いに接近する鍔部に、それぞれ開口下地板が形成される、
請求項1に記載の鋼製フレーム。
【請求項7】
請求項1から請求項6のいずれかに記載の鋼製フレームを製造する製造方法であり、
作業面上に前記横枠を載置する工程と、
前記横枠の端部の上に前記ヒレ部が当接するように、前記縦枠を載置する工程と、
前記横枠の前記鍔部と前記縦枠の前記ヒレ部とを接合する工程と、
を有する鋼製フレームの製造方法。
発明の詳細な説明
【技術分野】
【0001】
本発明は、鋼製フレームに関する。
続きを表示(約 1,300 文字)
【背景技術】
【0002】
従来より、建物の内壁材の下地となる鋼製内壁枠のような鋼製フレームが知られている。鋼製内壁枠は、左右一対の縦枠の間に複数の横枠が架設されて形成されており、防湿シートや断熱材が貼り付けられて、建物の外周躯体に接続されるとともに、石膏ボードなどの内壁材がビス止めされて、建物の内壁面を形成する。
【先行技術文献】
【特許文献】
【0003】
特開2006-70507号公報
【発明の概要】
【発明が解決しようとする課題】
【0004】
ところで、鋼製フレームを製造する際に、縦枠と横枠との組付作業は、同一方向から作業できれば、反転作業が不要となり効率的である。また、部材同士の接合の際には、一方の部材の端部を他方の部材の開口に差し込む作業がないほうが効率的である。
【0005】
そこで本発明は、効率的に製造できる鋼製フレームを提供することを目的とする。
【課題を解決するための手段】
【0006】
上記課題を解決する第1の鋼製フレームは、長尺な一対の縦枠と、前記一対の縦枠の間に架設される複数の横枠と、を備え、前記一対の縦枠は、互いに接近する方向に突き出してそれぞれ長尺方向に沿って形成されるヒレ部を有し、前記横枠は、長尺方向に延びる2つの側板部と、前記側板部の一方の側縁同士を接続する接続板部とを有し、溝状に形成される本体部と、前記側板部の他方の側縁からそれぞれ前記接続板部と平行な方向にそれぞれ形成される鍔部と、を有し、前記横枠の前記鍔部の端部が前記縦枠の前記ヒレ部に当接して接合される。
【0007】
第2の鋼製フレームは、第1の鋼製フレームにおいて、前記側板部の間で、前記鍔部に接合される補強板材を更に備え、前記補強板材の厚さは前記側板部の幅よりも短く形成されており、前記鍔部にスペーサを介して前記補強板材が接合され、前記補強板材と前記接続板部とが面一に配置される。
【0008】
第3の鋼製フレームは、第1の鋼製フレームにおいて、前記側板部の間で、前記鍔部に接合される補強板材を更に備え、前記補強板材の厚さは前記側板部の幅と等しく形成される。
【0009】
第4の鋼製フレームは、第1から第3のいずれかの鋼製フレームにおいて、前記横枠のうちの2本の横枠が前記一対の縦枠の長尺方向の両端にそれぞれ架設されて、前記一対の縦枠とともに矩形の外周を形成する外周横枠であり、2本の前記外周横枠は、それぞれの外周側の前記鍔部が前記側板部の他方の側縁から互いに接近する方向に延びて形成される、
【0010】
第5の鋼製フレームは、第1から第3のいずれかの鋼製フレームにおいて、前記横枠のうちの2本の横枠が前記一対の縦枠の長尺方向の両端にそれぞれ架設されて、前記一対の縦枠とともに矩形の外周を形成する外周横枠であり、2本の前記外周横枠は、それぞれの外周側の前記鍔部の外周側の側縁から前記側板部と反対方向に延びる外周板が形成される。
(【0011】以降は省略されています)
この特許をJ-PlatPat(特許庁公式サイト)で参照する
関連特許
積水ハウス株式会社
建築物
10日前
積水ハウス株式会社
建築物
1日前
積水ハウス株式会社
建築物
1か月前
積水ハウス株式会社
柱及び建築物
1日前
積水ハウス株式会社
鋼製フレーム
2日前
積水ハウス株式会社
鋼製フレーム
2日前
積水ハウス株式会社
建築物及び建築物の施工方法
10日前
積水ハウス株式会社
固定ピン保持用アタッチメント
1か月前
積水ハウス株式会社
取付金具および吊下物の取付構造
1日前
積水ハウス株式会社
建築物のリフォーム方法及び建築物
1日前
積水ハウス株式会社
軸組構造、および、軸組構造を備えた建築物
1日前
積水ハウス株式会社
剥離装置及び、当該剥離装置を用いた剥離方法
10日前
積水ハウス株式会社
見守りシステム
9日前
個人
接合構造
1か月前
個人
タッチミー
1か月前
個人
屋台
2か月前
個人
野良猫ハウス
2か月前
個人
フェンス
3か月前
個人
転落防止用手摺
2か月前
個人
安心補助てすり
1か月前
個人
居住車両用駐車場
2か月前
個人
筋交自動設定装置
2か月前
積水樹脂株式会社
柵体
2か月前
ニチハ株式会社
建築板
3か月前
個人
ベンリナアングル
1か月前
個人
地下型マンション
4か月前
個人
鋼管結合資材
4か月前
個人
熱抵抗多層断熱建材
2か月前
個人
補強部材
2か月前
個人
柵
3か月前
成友建設株式会社
建物
2か月前
個人
身体用シェルター
2か月前
個人
防災建築物
1か月前
鹿島建設株式会社
壁体
3か月前
株式会社シンケン
住宅
1か月前
個人
身体用シェルター
2か月前
続きを見る
他の特許を見る