TOP
|
特許
|
意匠
|
商標
特許ウォッチ
Twitter
他の特許を見る
公開番号
2025172163
公報種別
公開特許公報(A)
公開日
2025-11-20
出願番号
2025151449,2021209930
出願日
2025-09-11,2021-12-23
発明の名称
見守りシステム
出願人
積水ハウス株式会社
代理人
弁理士法人はるか国際特許事務所
主分類
A61B
5/11 20060101AFI20251113BHJP(医学または獣医学;衛生学)
要約
【課題】ノイズを低減して被測定者の生体情報を精度よく取得できる見守りシステムを実現すること。
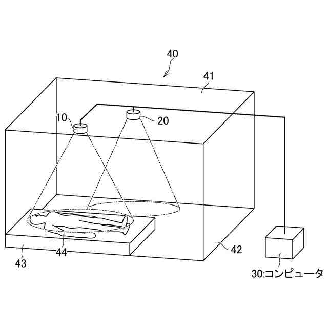
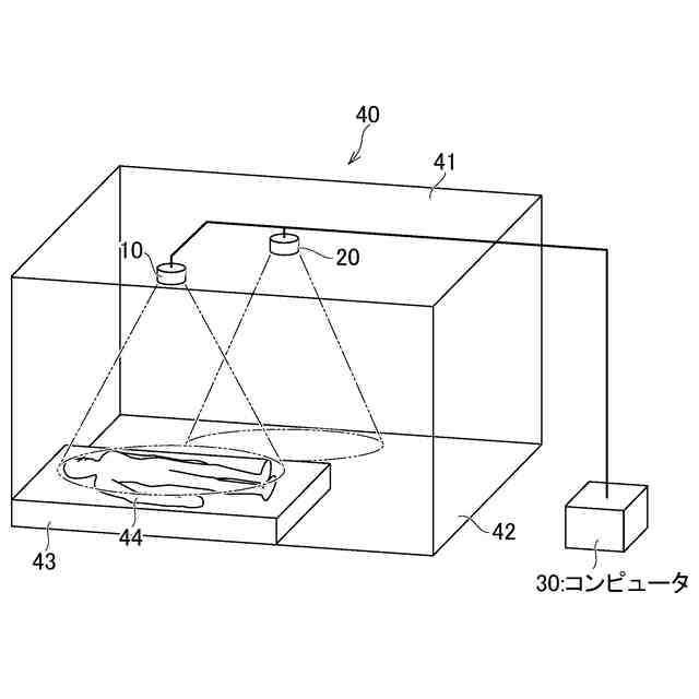
【解決手段】見守りシステムは、被測定者44に向けられる第1ドップラセンサ10と、被測定者44以外に向けられる第2ドップラセンサ20と、第1ドップラセンサ10から出力されるドップラ信号に周波数解析を施し、第1解析結果を取得するとともに、第2ドップラセンサ20から出力されるドップラ信号に周波数解析を施し、第2解析結果を取得する周波数解析手段と、第1解析結果と第2解析結果の相違に基づいて被測定者44の生体情報を取得する生体情報取得手段と、を含む。
【選択図】図1
特許請求の範囲
【請求項1】
被測定者に向けられる第1のドップラセンサと、
前記被測定者以外に向けられる第2のドップラセンサと、
前記第1のドップラセンサから出力されるドップラ信号に周波数解析を施し、第1の解析結果を取得するとともに、前記第2のドップラセンサから出力されるドップラ信号に周波数解析を施し、第2の解析結果を取得する周波数解析手段と、
前記第1の解析結果と前記第2の解析結果の相違に基づいて、前記被測定者の生体情報を取得する生体情報取得手段と、
を含む見守りシステム。
続きを表示(約 190 文字)
【請求項2】
請求項1に記載の見守りシステムにおいて、
前記第2のドップラセンサは、前記被測定者が存在する部屋内に向けられる、
見守りシステム。
【請求項3】
請求項1または請求項2に記載の見守りシステムにおいて、
前記第1のドップラセンサと前記第2のドップラセンサは同一の方面に向くように設けられる、
見守りシステム。
発明の詳細な説明
【技術分野】
【0001】
本発明は見守りシステムに関し、特にドップラセンサにより被測定者の生体情報を測定する見守りシステムに関する。
続きを表示(約 1,400 文字)
【背景技術】
【0002】
被測定者の生体情報を測定する各種の見守りシステムが検討されている。被測定者に電極を接触させて心電位を計測する従来のシステムでは被測定者の負担が大きいことから、マイクロ波ドップラセンサによって非接触で生体情報を測定するシステムが有力視されている(特許文献1参照)。マイクロ波ドップラセンサによれば、被測定者の体表面や体内の動きを測定することにより、呼吸数や心拍数といった生体情報を取得できる。
【先行技術文献】
【特許文献】
【0003】
特開2017-134795号公報
【発明の概要】
【発明が解決しようとする課題】
【0004】
しかし、マイクロ波ドップラセンサは非接触でセンサ前方に存在する物体との微小な距離変動を広範囲に検出するものであることから、ノイズを拾いやすいという課題がある。特に、本願発明者らはマイクロ波ドップラセンサを住宅等の建物内に配置することを検討していることから、建物の揺れ等、予期しない動きをドップラセンサが検出してしまうことが懸念される。こうしたノイズをドップラセンサが検出してしまうと、被測定者の生体情報の検出精度が悪化してしまう。
【0005】
本発明は上記課題に鑑みてなされたものであって、その目的は、ノイズレベルを低減して被測定者の生体情報を精度よく取得できる見守りシステムを提供することにある。
【課題を解決するための手段】
【0006】
上記課題を解決するために、本発明に係る見守りシステムは、被測定者に向けられる第1のドップラセンサと、前記被測定者以外に向けられる第2のドップラセンサと、前記第1のドップラセンサから出力されるドップラ信号に周波数解析を施し、第1の解析結果を取得するとともに、前記第2のドップラセンサから出力されるドップラ信号に周波数解析を施し、第2の解析結果を取得する周波数解析手段と、前記第1の解析結果と前記第2の解析結果の相違に基づいて、前記被測定者の生体情報を取得する生体情報取得手段と、を含む。
【0007】
ここで、前記第1のドップラセンサと前記第2のドップラセンサは同一の部屋に設けられてよい。また、前記第1のドップラセンサと前記第2のドップラセンサは前記部屋の共通の面に設けられてよい。さらに、前記第1のドップラセンサと前記第2のドップラセンサは前記部屋における前記共通の面とは異なる面に向けられてよい。
【0008】
例えば、前記第1のドップラセンサと前記第2のドップラセンサは前記部屋の天井に設けられてよく、前記第2のドップラセンサは前記部屋の床に向けられてよい。
【0009】
また、前記第1及び第2の解析結果は、周波数ごとの信号強度を示してよい。前記生体情報取得手段は、前記第1の解析結果により示される信号強度と前記第2の解析結果により示される信号強度との差が所定条件を満たす周波数を特定してよい。
【発明の効果】
【0010】
本発明によれば、前記第1の解析結果と前記第2の解析結果の相違に基づいて、前記被測定者の生体情報を取得するので、ノイズレベルを低減し、被測定者の生体情報を精度よく取得できる。
【図面の簡単な説明】
(【0011】以降は省略されています)
この特許をJ-PlatPat(特許庁公式サイト)で参照する
関連特許
積水ハウス株式会社
建築物
6日前
積水ハウス株式会社
建築物
1か月前
積水ハウス株式会社
引き戸
1か月前
積水ハウス株式会社
屋根構造
1か月前
積水ハウス株式会社
屋根構造及び取付金具
1か月前
積水ハウス株式会社
屋根構造及びカバー部材
1か月前
積水ハウス株式会社
建築物及び建築物の施工方法
6日前
積水ハウス株式会社
ドア用解施錠装置及び建築物
1か月前
積水ハウス株式会社
固定ピン保持用アタッチメント
26日前
積水ハウス株式会社
屋根構造およびこれを用いた屋根の施工方法
1か月前
積水ハウス株式会社
剥離装置及び、当該剥離装置を用いた剥離方法
6日前
積水ハウス株式会社
見守りシステム
5日前
個人
貼付剤
29日前
個人
簡易担架
11日前
個人
短下肢装具
4か月前
個人
足踏み器具
18日前
個人
腋臭防止剤
11日前
個人
嚥下鍛錬装置
4か月前
個人
排尿補助器具
1か月前
個人
前腕誘導装置
4か月前
個人
バッグ式オムツ
5か月前
個人
腰ベルト
1か月前
個人
アイマスク装置
3か月前
個人
矯正椅子
6か月前
個人
胸骨圧迫補助具
2か月前
個人
ウォート指圧法
1か月前
個人
汚れ防止シート
1か月前
個人
歯の修復用材料
5か月前
個人
シャンプー
7か月前
個人
美容セット
20日前
個人
陣痛緩和具
4か月前
個人
排尿排便補助器具
13日前
個人
哺乳瓶冷まし容器
4か月前
個人
湿布連続貼り機。
3か月前
個人
歯の保護用シール
6か月前
株式会社大野
骨壷
4か月前
続きを見る
他の特許を見る