TOP
|
特許
|
意匠
|
商標
特許ウォッチ
Twitter
他の特許を見る
公開番号
2025170655
公報種別
公開特許公報(A)
公開日
2025-11-19
出願番号
2024075417
出願日
2024-05-07
発明の名称
建築物
出願人
積水ハウス株式会社
代理人
個人
,
個人
主分類
E04H
1/02 20060101AFI20251112BHJP(建築物)
要約
【課題】屋外とダイニングキッチンとの間の移動しやすさを向上できる建築物を提供する。
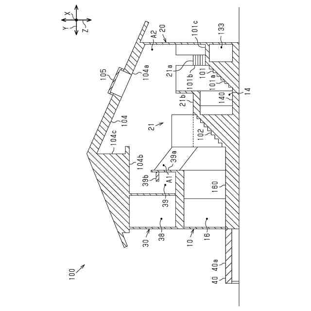
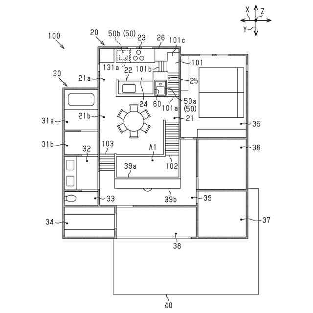
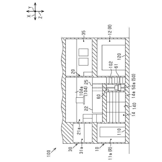
【解決手段】建築物100は、一階10と、二階と、一階10よりも高く、かつ二階よりも低い位置に設けられた中二階と、一階10と中二階とを繋ぐ第1階段101とを備えている。中二階には、ダイニングキッチンが設けられている。一階10には、屋外との行き来が可能な玄関11、ビルトインガレージ12、及び収納土間13と、第1階段101、玄関11、ビルトインガレージ12、及び収納土間13のそれぞれと繋がる第1廊下14とが設けられている。
【選択図】図2
特許請求の範囲
【請求項1】
一階と、二階と、前記一階よりも高く、かつ前記二階よりも低い位置に設けられた中二階と、前記一階と前記中二階とを繋ぐ第1階段とを備え、
前記中二階には、ダイニングキッチンが設けられている建築物であって、
前記一階には、屋外との行き来が可能な複数の連通空間と、前記第1階段及び前記複数の連通空間のそれぞれと繋がる廊下とが設けられている建築物。
続きを表示(約 1,000 文字)
【請求項2】
前記一階には、前記複数の連通空間として、第1連通空間、第2連通空間、及び第3連通空間が設けられ、
前記廊下は、第1方向に延びており、
前記第1連通空間は、前記第1方向における前記廊下の第1端と繋がり、
前記第2連通空間は、前記第1方向における前記廊下の第2端と繋がり、
前記第3連通空間は、前記第1方向と直交する第2方向において前記廊下と繋がっている請求項1に記載の建築物。
【請求項3】
前記第1連通空間は、玄関であり、
前記第2連通空間は、ビルトインガレージであり、
前記第3連通空間は、前記中二階の下に設けられた収納土間である請求項2に記載の建築物。
【請求項4】
前記一階には、リビングが設けられており、
前記収納土間の床の高さは、前記リビングの床の高さよりも低い請求項3に記載の建築物。
【請求項5】
前記玄関は、玄関土間と玄関ホールとを有し、
前記廊下の床の高さ、前記玄関土間の床の高さ、及び前記ビルトインガレージの床の高さはそれぞれ、前記収納土間の床の高さと同じである請求項4に記載の建築物。
【請求項6】
前記一階と前記中二階との間で昇降する荷台を有するリフトを備える請求項1に記載の建築物。
【請求項7】
前記リフトとして、前記荷台が前記廊下と前記ダイニングキッチンとの間で昇降する第1リフトを備える請求項6に記載の建築物。
【請求項8】
前記一階には、前記中二階の下に設けられた前記連通空間としての収納土間が設けられ、
前記リフトとして、前記荷台が前記収納土間と前記ダイニングキッチンとの間で昇降する第2リフトを備える請求項6に記載の建築物。
【請求項9】
前記一階には、リビングが設けられ、
前記リビングと前記ダイニングキッチンとを繋ぐ第2階段をさらに備える請求項1に記載の建築物。
【請求項10】
前記ダイニングキッチンは、キッチン部とダイニング部とを有し、
前記第1階段は、前記廊下と前記キッチン部とを繋ぎ、
前記第2階段は、前記リビングと前記ダイニング部とを繋いでいる請求項9に記載の建築物。
(【請求項11】以降は省略されています)
発明の詳細な説明
【技術分野】
【0001】
本開示は、建築物に関する。
続きを表示(約 1,200 文字)
【背景技術】
【0002】
特許文献1に記載の建築物は、一階と、二階と、一階よりも高く、かつ二階よりも低い位置に設けられた中二階と、一階と中二階とを繋ぐ階段とを備えている。中二階には、ダイニングキッチンが設けられている。
【先行技術文献】
【特許文献】
【0003】
特開2023-136818号公報
【発明の概要】
【発明が解決しようとする課題】
【0004】
例えば、買い物した食料をダイニングキッチンに運んだり、ダイニングキッチンでの料理により発生したゴミを屋外に運んだりと、屋外とダイニングキッチンとの間での移動の機会は多い。このため、屋外とダイニングキッチンとの間での移動しやすさが求められている。
【課題を解決するための手段】
【0005】
(1)上記課題を解決する建築物は、一階と、二階と、前記一階よりも高く、かつ前記二階よりも低い位置に設けられた中二階と、前記一階と前記中二階とを繋ぐ第1階段とを備え、前記中二階には、ダイニングキッチンが設けられている建築物であって、前記一階には、屋外との行き来が可能な複数の連通空間と、前記第1階段及び前記複数の連通空間のそれぞれと繋がる廊下とが設けられている。
【0006】
この構成によれば、建築物の居住者は、連通空間、廊下、及び第1階段を介して屋外と中二階との間を移動する際、複数の連通空間のうち、任意の連通空間を通ることができる。したがって、屋外とダイニングキッチンとの間での移動しやすさが向上する。
【0007】
(2)上記(1)の建築物において、前記一階には、前記複数の連通空間として、第1連通空間、第2連通空間、及び第3連通空間が設けられ、前記廊下は、第1方向に延びており、前記第1連通空間は、前記第1方向における前記廊下の第1端と繋がり、前記第2連通空間は、前記第1方向における前記廊下の第2端と繋がり、前記第3連通空間は、前記第1方向と直交する第2方向において前記廊下と繋がっている。
【0008】
この構成によれば、建築物の居住者は、第1方向における廊下の第1端、第2端、及び第1端と第2端との間の3箇所において、連通空間と廊下との間を移動することができる。
【0009】
(3)上記(2)の建築物において、前記第1連通空間は、玄関であり、前記第2連通空間は、ビルトインガレージであり、前記第3連通空間は、前記中二階の下に設けられた収納土間である。
【0010】
この構成によれば、建築物の居住者は、玄関、ビルトインガレージ、及び収納土間の何れかを介して屋外と中二階との間を移動することができる。また、中二階の下の天井高の低いスペースを収納土間として活用することができる。
(【0011】以降は省略されています)
この特許をJ-PlatPat(特許庁公式サイト)で参照する
関連特許
積水ハウス株式会社
建築物
今日
積水ハウス株式会社
建築物
28日前
積水ハウス株式会社
引き戸
1か月前
積水ハウス株式会社
屋根構造
1か月前
積水ハウス株式会社
屋根構造及び取付金具
1か月前
積水ハウス株式会社
屋根構造及びカバー部材
1か月前
積水ハウス株式会社
建築物及び建築物の施工方法
今日
積水ハウス株式会社
ドア用解施錠装置及び建築物
28日前
積水ハウス株式会社
固定ピン保持用アタッチメント
20日前
積水ハウス株式会社
屋根構造およびこれを用いた屋根の施工方法
1か月前
積水ハウス株式会社
剥離装置及び、当該剥離装置を用いた剥離方法
今日
個人
接合構造
1か月前
個人
屋台
2か月前
個人
タッチミー
1か月前
個人
野良猫ハウス
2か月前
個人
フェンス
3か月前
個人
転落防止用手摺
2か月前
個人
安心補助てすり
27日前
個人
地下型マンション
4か月前
個人
筋交自動設定装置
1か月前
積水樹脂株式会社
柵体
2か月前
個人
ベンリナアングル
1か月前
個人
居住車両用駐車場
2か月前
ニチハ株式会社
建築板
2か月前
個人
鋼管結合資材
4か月前
株式会社タナクロ
テント
4か月前
個人
熱抵抗多層断熱建材
2か月前
個人
補強部材
2か月前
個人
柵
3か月前
成友建設株式会社
建物
2か月前
個人
循環流水式屋根融雪装置
4か月前
鹿島建設株式会社
壁体
2か月前
個人
身体用シェルター
1か月前
個人
身体用シェルター
1か月前
個人
防災建築物
1か月前
株式会社シンケン
住宅
28日前
続きを見る
他の特許を見る