TOP
|
特許
|
意匠
|
商標
特許ウォッチ
Twitter
他の特許を見る
10個以上の画像は省略されています。
公開番号
2025176966
公報種別
公開特許公報(A)
公開日
2025-12-05
出願番号
2024083403
出願日
2024-05-22
発明の名称
建築物の壁および建築物
出願人
積水ハウス株式会社
代理人
個人
,
個人
主分類
E04B
1/10 20060101AFI20251128BHJP(建築物)
要約
【課題】横架材の変形を抑制できる建築物の壁および建築物を提供する。
【解決手段】建築物の壁10は、横架材12と、横架材12の上方に配置される第1耐力パネル21と、横架材12の上方に配置され、第1耐力パネル21と隣り合う第2耐力パネル22と、第1耐力パネル21および第2耐力パネル22と横架材12とを結合する第1結合部材41と、を備える。第1耐力パネル21および第2耐力パネル22は、第1結合部材41によって横架材12に接触しないように横架材に結合される。第1結合部材41は、横架材12と第1耐力パネル21との間に位置する第1部分41Aと、横架材12と第2耐力パネル22との間に位置する第2部分41Bと、を含む。第2部分41Bの少なくとも一部は、第1部分41Aと一体に形成される。
【選択図】図3
特許請求の範囲
【請求項1】
横架材と、
前記横架材の上方に配置される第1耐力パネルと、
前記横架材の上方に配置され、前記第1耐力パネルと隣り合う第2耐力パネルと、
前記第1耐力パネルおよび前記第2耐力パネルと前記横架材とを結合する第1結合部材と、を備え、
前記第1耐力パネルおよび前記第2耐力パネルは、前記第1結合部材によって前記横架材に接触しないように前記横架材に結合され、
前記第1結合部材は、前記横架材と前記第1耐力パネルとの間に位置し、前記第1耐力パネルと前記横架材とを結合する第1部分と、前記横架材と前記第2耐力パネルとの間に位置し、前記第2耐力パネルと前記横架材とを結合する第2部分と、を含み、
前記第2部分の少なくとも一部は、前記第1部分と一体に形成される、
建築物の壁。
続きを表示(約 1,100 文字)
【請求項2】
前記横架材の下方に配置される第3耐力パネルと、
前記横架材の下方に配置され、前記第3耐力パネルと隣り合う第4耐力パネルと、
前記第3耐力パネルおよび前記第4耐力パネルと前記横架材とを結合する第2結合部材と、をさらに備え、
前記第3耐力パネルおよび前記第4耐力パネルは、前記第2結合部材によって前記横架材に接触しないように前記横架材に結合され、
前記第2結合部材は、前記横架材と前記第3耐力パネルとの間に位置し、前記第3耐力パネルと前記横架材とを結合する第3部分と、前記横架材と前記第4耐力パネルとの間に位置し、前記第4耐力パネルと前記横架材とを結合する第4部分と、を含み、
前記第4部分の少なくとも一部は、前記第3部分と一体に形成され、
前記第3耐力パネルと前記第4耐力パネルとの間に位置する中間線は、前記第1耐力パネルと前記第2耐力パネルとの間に位置する中間線と一致する、
請求項1に記載の建築物の壁。
【請求項3】
前記第1結合部材は、前記横架材の内部に配置される連結部材によって前記第2結合部材に連結される、
請求項2に記載の建築物の壁。
【請求項4】
前記第1耐力パネル、前記第2耐力パネル、前記第3耐力パネル、および、前記第4耐力パネルのそれぞれは、パネル締結部を有し、
前記第1結合部材および前記第2結合部材のそれぞれは、結合締結部を有し、
前記第1耐力パネルおよび前記第2耐力パネルのそれぞれの前記パネル締結部は、第1接続部材によって前記第1結合部材の前記結合締結部に接続され、
前記第3耐力パネルおよび前記第4耐力パネルのそれぞれの前記パネル締結部は、前記第1接続部材とは異なる第2接続部材によって前記第2結合部材の前記結合締結部に接続される、
請求項2に記載の建築物の壁。
【請求項5】
前記第1結合部材は、
前記第1部分の一部および前記第2部分の一部の両方を含む第1板状部と、
前記結合締結部を含む第1立ち上がり部と、を有し、
前記第1板状部は、前記横架材の上面に固定され、
前記第1立ち上がり部は、前記第1板状部から上方に延び、
前記第2結合部材は、
前記第3部分の一部および前記第4部分の一部の両方を含む第2板状部と、
前記結合締結部を含む第2立ち上がり部と、を有し、
前記第2板状部は、前記横架材の下面に固定され、
前記第2立ち上がり部は、前記第2板状部から下方に延びる、
請求項4に記載の建築物の壁。
【請求項6】
請求項1から5のいずれか一項に記載の前記建築物の壁を備える、
建築物。
発明の詳細な説明
【技術分野】
【0001】
本開示は、建築物の壁および建築物に関する。
続きを表示(約 2,100 文字)
【背景技術】
【0002】
特許文献1に記載の建築物は、横架材(同文献では、胴差)と、耐力パネル(同文献では、木造軸組み構造用単位耐力壁枠体)と、を備える壁を有する。横架材には、複数の耐力パネルが結合されている。耐力パネルは、横架材の上方および下方のそれぞれに配置されている。
【先行技術文献】
【特許文献】
【0003】
特開平11-100896号公報
【発明の概要】
【発明が解決しようとする課題】
【0004】
風、地震等に起因する建築物の揺れによって耐力パネルが動くことがある。耐力パネルの動きによって耐力パネルから横架材に力が加わる。建築物の揺れによって耐力パネルが動くと、横架材が変形するおそれがある。
【課題を解決するための手段】
【0005】
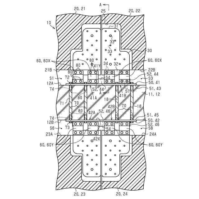
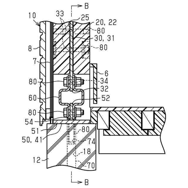
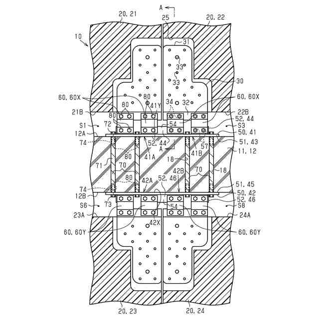
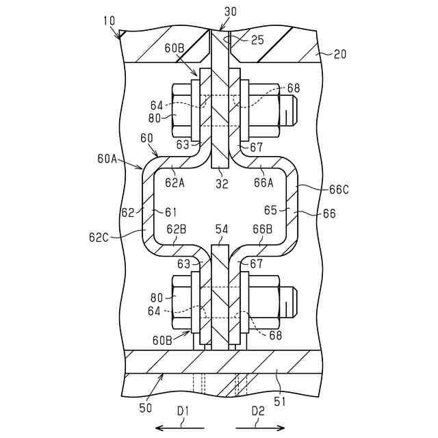
(1)上記課題を解決する建築物の壁は、横架材と、前記横架材の上方に配置される第1耐力パネルと、前記横架材の上方に配置され、前記第1耐力パネルと隣り合う第2耐力パネルと、前記第1耐力パネルおよび前記第2耐力パネルと前記横架材とを結合する第1結合部材と、を備え、前記第1耐力パネルおよび前記第2耐力パネルは、前記第1結合部材によって前記横架材に接触しないように前記横架材に結合され、前記第1結合部材は、前記横架材と前記第1耐力パネルとの間に位置し、前記第1耐力パネルと前記横架材とを結合する第1部分と、前記横架材と前記第2耐力パネルとの間に位置し、前記第2耐力パネルと前記横架材とを結合する第2部分と、を含み、前記第2部分の少なくとも一部は、前記第1部分と一体に形成される。
【0006】
建築物が揺れるときに横架材に加わる力として、複数の耐力パネルが回転することによる剪断力が挙げられる。具体的には、建築物が揺れると、複数の耐力パネルが概ね同じ周期で揺動する。要するに、建築物が揺れていると、第1耐力パネルと第2耐力パネルとは同じ方向に回転する。一例として、横架材の付近においては、第1耐力パネルの下部おける第2耐力パネル側の端部が上向きに動くとともに、第2耐力パネルの下部における第1耐力パネル側の端部が下向きに動く。このとき、横架材において、第1耐力パネルの下部おける第2耐力パネル側の端部と、第2耐力パネルの下部における第1耐力パネル側の端部との2つの端部から力を受ける部分に、剪断力が生じる。
【0007】
この点、上記の構成によれば、第2部分の少なくとも一部が第1部分と一体に形成される。このため、第1部分と第2部分とが一体になった部分によって、上向きに動く第1耐力パネルの端部による力と、下向きに動く第2耐力パネルの端部による力とが受け止められる。これによって、横架材に剪断力が加わりにくい。第1結合部材によって第1耐力パネルと第2耐力パネルとの間に対応する部分において横架材に生じる剪断力が抑制されるため、剪断力による横架材の変形を抑制できる。
【0008】
(2)上記(1)に記載の建築物の壁において、前記横架材の下方に配置される第3耐力パネルと、前記横架材の下方に配置され、前記第3耐力パネルと隣り合う第4耐力パネルと、前記第3耐力パネルおよび前記第4耐力パネルと前記横架材とを結合する第2結合部材と、をさらに備え、前記第3耐力パネルおよび前記第4耐力パネルは、前記第2結合部材によって前記横架材に接触しないように前記横架材に結合され、前記第2結合部材は、前記横架材と前記第3耐力パネルとの間に位置し、前記第3耐力パネルと前記横架材とを結合する第3部分と、前記横架材と前記第4耐力パネルとの間に位置し、前記第4耐力パネルと前記横架材とを結合する第4部分と、を含み、前記第4部分の少なくとも一部は、前記第3部分と一体に形成され、前記第3耐力パネルと前記第4耐力パネルとの間に位置する中間線は、前記第1耐力パネルと前記第2耐力パネルとの間に位置する中間線と一致する。
【0009】
建築物が揺れていると、第3耐力パネルと第4耐力パネルとは同じ方向に回転する。一例として、横架材の付近においては、第3耐力パネルの上部おける第4耐力パネル側の端部が上向きに動くとともに、第4耐力パネルの上部における第3耐力パネル側の端部が下向きに動く。このとき、横架材において、第3耐力パネルの上部おける第4耐力パネル側の端部と、第4耐力パネルの上部における第3耐力パネル側の端部との2つの端部から力を受ける部分に、剪断力が生じる。
【0010】
この点、上記の構成によれば、第4部分の少なくとも一部が第3部分と一体に形成される。このため、第3部分と第4部分とが一体になった部材によって、上向きに動く第3耐力パネルの端部による力と、下向きに動く第4耐力パネルの端部による力とが受け止められる。これによって、横架材に剪断力が加わりにくい。第2結合部材によって第3耐力パネルと第4耐力パネルとの間に対応する部分において横架材に生じる剪断力が抑制されるため、剪断力による横架材の変形をより抑制できる。
(【0011】以降は省略されています)
この特許をJ-PlatPat(特許庁公式サイト)で参照する
関連特許
積水ハウス株式会社
建築物
19日前
積水ハウス株式会社
建築物
10日前
積水ハウス株式会社
建築物
1か月前
積水ハウス株式会社
柱及び建築物
10日前
積水ハウス株式会社
鋼製フレーム
11日前
積水ハウス株式会社
鋼製フレーム
11日前
積水ハウス株式会社
建築物の壁および建築物
3日前
積水ハウス株式会社
建築物及び建築物の施工方法
19日前
積水ハウス株式会社
固定ピン保持用アタッチメント
1か月前
積水ハウス株式会社
取付金具および吊下物の取付構造
10日前
積水ハウス株式会社
建築物のリフォーム方法及び建築物
10日前
積水ハウス株式会社
軸組構造、および、軸組構造を備えた建築物
10日前
積水ハウス株式会社
剥離装置及び、当該剥離装置を用いた剥離方法
19日前
積水ハウス株式会社
付帯物取付部材、建築物、及び建築物の施工方法
4日前
積水ハウス株式会社
見守りシステム
18日前
個人
接合構造
2か月前
個人
タッチミー
2か月前
個人
屋台
2か月前
個人
野良猫ハウス
3か月前
個人
フェンス
3か月前
個人
転落防止用手摺
3か月前
個人
安心補助てすり
1か月前
積水樹脂株式会社
柵体
2か月前
個人
居住車両用駐車場
3か月前
個人
筋交自動設定装置
2か月前
個人
ベンリナアングル
2か月前
ニチハ株式会社
建築板
3か月前
個人
熱抵抗多層断熱建材
3か月前
個人
免震建築構造
3日前
個人
補強部材
3か月前
個人
柵
4か月前
成友建設株式会社
建物
3か月前
株式会社フジタ
合成床
3日前
個人
身体用シェルター
2か月前
個人
身体用シェルター
2か月前
鹿島建設株式会社
壁体
3か月前
続きを見る
他の特許を見る