TOP
|
特許
|
意匠
|
商標
特許ウォッチ
Twitter
他の特許を見る
公開番号
2025176209
公報種別
公開特許公報(A)
公開日
2025-12-04
出願番号
2024080236
出願日
2024-05-16
発明の名称
付帯物取付部材、建築物、及び建築物の施工方法
出願人
積水ハウス株式会社
代理人
個人
,
個人
主分類
G09F
7/18 20060101AFI20251127BHJP(教育;暗号方法;表示;広告;シール)
要約
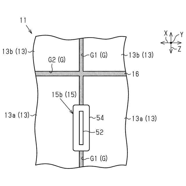
【課題】付帯物の取付強度を向上できる付帯物取付部材、建築物、及び建築物の施工方法を提供する。
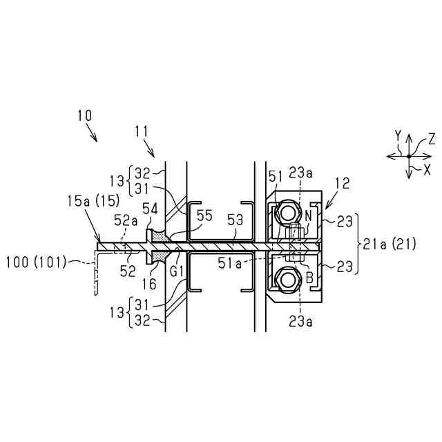
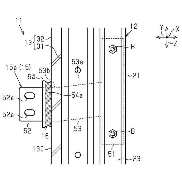
【解決手段】建築物は、構造材12及び構造材12よりも屋外側に設けられた外壁材13を有する外壁11と、外壁11の屋外側に付帯物を取り付けるための付帯物取付部材15とを備えている。付帯物取付部材15は、構造材12に固定される固定部51と、外壁材13よりも屋外側に位置するとともに付帯物が取り付けられる取付部52と、固定部51と取付部52とを接続する接続部53とを有している。接続部53における外壁材13よりも屋外側に位置する部分には、接続部53が延びる方向と交差する方向に突出するフランジ54が設けられている。フランジ54と外壁材13との間には、シーリング材16が設けられている。
【選択図】図7
特許請求の範囲
【請求項1】
構造材及び前記構造材よりも屋外側に設けられた外壁材を有する外壁の屋外側に付帯物を取り付けるための付帯物取付部材であって、
前記構造材に固定される固定部と、
前記付帯物が取り付けられる取付部と、
前記固定部と前記取付部とを接続する接続部と、
を備え、
前記接続部には、前記接続部が延びる方向と交差する方向に突出するフランジが設けられている付帯物取付部材。
続きを表示(約 1,400 文字)
【請求項2】
前記フランジは、前記接続部が延びる方向から見て、前記接続部の全周に亘って設けられている請求項1に記載の付帯物取付部材。
【請求項3】
構造材及び前記構造材よりも屋外側に設けられた外壁材を有する外壁と、
前記外壁の屋外側に付帯物を取り付けるための付帯物取付部材と、
を備える建築物であって、
前記付帯物取付部材は、
前記構造材に固定される固定部と、
前記外壁材よりも屋外側に位置するとともに前記付帯物が取り付けられる取付部と、
前記固定部と前記取付部とを接続する接続部と、
を有し、
前記接続部における前記外壁材よりも屋外側に位置する部分には、前記接続部が延びる方向と交差する方向に突出するフランジが設けられており、
前記フランジと前記外壁材との間には、シーリング材が設けられている建築物。
【請求項4】
前記外壁は、前記外壁材を複数有し、
複数の前記外壁材は、間隔を空けて配置されており、
前記接続部は、前記外壁材の目地に挿通されている請求項3に記載の建築物。
【請求項5】
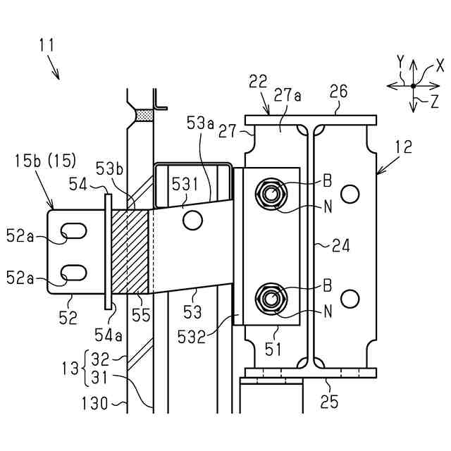
前記構造材は、横架材を有し、
前記横架材は、ウェブと、前記ウェブの下側に位置する下フランジと、前記ウェブの上側に位置する上フランジと、前記ウェブと前記下フランジと前記上フランジとを接続するスチフナとを有し、
前記目地は、前記横架材が延びる方向において隣り合う前記外壁材の間に設けられた縦目地を有し、
前記横架材が延びる方向において、前記スチフナと前記縦目地とは同じ位置に設けられており、
前記接続部は、前記縦目地に挿通される基部と、前記横架材が延びる方向において前記基部に対する前記固定部の位置がずれるように前記基部と前記固定部とを接続するシフト部とを有し、
前記固定部は、前記横架材が延びる方向における前記スチフナの一端面に沿うように配置された状態で前記スチフナに固定されている請求項4に記載の建築物。
【請求項6】
前記構造材は、柱を有し、
前記柱は、2つのC形鋼によって構成され、
前記固定部は、前記2つのC形鋼の間に配置された状態で前記柱に固定されている請求項3に記載の建築物。
【請求項7】
前記接続部は、前記固定部から前記取付部に向かうにつれて下方に位置するように傾斜する傾斜部を有している請求項3に記載の建築物。
【請求項8】
前記接続部における前記フランジよりも屋内側かつ前記外壁材よりも屋外側に位置する部分には、ボンドブレーカが設けられている請求項3に記載の建築物。
【請求項9】
前記ボンドブレーカは、さらに、前記接続部における前記外壁材と対向する部分に設けられている請求項8に記載の建築物。
【請求項10】
請求項8又は請求項9に記載の建築物を施工する建築物の施工方法であって、
前記接続部に前記ボンドブレーカを設けるボンドブレーカ取付工程と、
前記付帯物取付部材を前記外壁に取り付ける付帯物取付工程と、
を含み、
前記ボンドブレーカ取付工程は、前記付帯物取付工程よりも前に行われる建築物の施工方法。
発明の詳細な説明
【技術分野】
【0001】
本開示は、付帯物取付部材、建築物、及び建築物の施工方法に関する。
続きを表示(約 1,500 文字)
【背景技術】
【0002】
特許文献1に記載の広告物固定構造において、広告物は、広告物固定具を介して建築物の壁面に取り付けられている。広告固定具は、ボルトによって壁面に直接固定されている。
【先行技術文献】
【特許文献】
【0003】
実用新案登録第3199402号公報
【発明の概要】
【発明が解決しようとする課題】
【0004】
広告固定具がボルトによって壁面に直接固定される場合、広告物の重量は広告物固定具及びボルトを介して壁面にかかるため、広告物の取付強度が不足するおそれがある。
【課題を解決するための手段】
【0005】
(1)上記課題を解決する付帯物取付部材は、構造材及び前記構造材よりも屋外側に設けられた外壁材を有する外壁の屋外側に付帯物を取り付けるための付帯物取付部材であって、前記構造材に固定される固定部と、前記付帯物が取り付けられる取付部と、前記固定部と前記取付部とを接続する接続部と、を備え、前記接続部には、前記接続部が延びる方向と交差する方向に突出するフランジが設けられている。
【0006】
この構成によれば、付帯物取付部材は構造材に固定されるため、外壁材に固定される場合と比較して、付帯物の取付強度を向上できる。
また、接続部にはフランジが設けられているため、付帯物取付部材と外壁材との間をシーリングする際、フランジと外壁材との間にシーリング材を設けることができる。これにより、付帯物取付部材と外壁材との間が三角シーリングされる場合と比較して、付帯物取付部材と外壁材との間の防水性を向上できる。
【0007】
(2)上記(1)の付帯物取付部材において、前記フランジは、前記接続部が延びる方向から見て、前記接続部の全周に亘って設けられている。
この構成によれば、接続部が延びる方向から見て、接続部の全周に亘って、フランジと外壁材との間にシーリング材を設けることができる。したがって、付帯物取付部材と外壁材との間の防水性をより向上できる。
【0008】
(3)上記課題を解決する建築物は、構造材及び前記構造材よりも屋外側に設けられた外壁材を有する外壁と、前記外壁の屋外側に付帯物を取り付けるための付帯物取付部材と、を備える建築物であって、前記付帯物取付部材は、前記構造材に固定される固定部と、前記外壁材よりも屋外側に位置するとともに前記付帯物が取り付けられる取付部と、前記固定部と前記取付部とを接続する接続部と、を有し、前記接続部における前記外壁材よりも屋外側に位置する部分には、前記接続部が延びる方向と交差する方向に突出するフランジが設けられており、前記フランジと前記外壁材との間には、シーリング材が設けられている。
【0009】
この構成によれば、付帯物取付部材は構造材に固定されているため、外壁材に固定されている場合と比較して、付帯物の取付強度を向上できる。
また、接続部にはフランジが設けられているとともに、フランジと外壁材との間にはシーリング材が設けられているため、付帯物取付部材と外壁材との間が三角シーリングされる場合と比較して、付帯物取付部材と外壁材との間の防水性を向上できる。
【0010】
(4)上記(3)の建築物において、前記外壁は、前記外壁材を複数有し、複数の前記外壁材は、間隔を空けて配置されており、前記接続部は、前記外壁材の目地に挿通されている。
この構成によれば、接続部を挿通するための貫通孔を外壁材に設けなくても済む。
(【0011】以降は省略されています)
この特許をJ-PlatPat(特許庁公式サイト)で参照する
関連特許
積水ハウス株式会社
建築物
1か月前
積水ハウス株式会社
建築物
10日前
積水ハウス株式会社
引き戸
2か月前
積水ハウス株式会社
建築物
19日前
積水ハウス株式会社
屋根構造
2か月前
積水ハウス株式会社
柱及び建築物
10日前
積水ハウス株式会社
鋼製フレーム
11日前
積水ハウス株式会社
鋼製フレーム
11日前
積水ハウス株式会社
柱脚金物および建物
2か月前
積水ハウス株式会社
屋根構造及び取付金具
2か月前
積水ハウス株式会社
建築物の壁および建築物
3日前
積水ハウス株式会社
屋根構造及びカバー部材
2か月前
積水ハウス株式会社
ドア用解施錠装置及び建築物
1か月前
積水ハウス株式会社
建築物及び建築物の施工方法
19日前
積水ハウス株式会社
扉、収納ボックス、及び建築物
2か月前
積水ハウス株式会社
固定ピン保持用アタッチメント
1か月前
積水ハウス株式会社
取付金具および吊下物の取付構造
10日前
積水ハウス株式会社
建築物のリフォーム方法及び建築物
10日前
積水ハウス株式会社
屋根構造およびこれを用いた屋根の施工方法
2か月前
積水ハウス株式会社
軸組構造、および、軸組構造を備えた建築物
10日前
積水ハウス株式会社
剥離装置及び、当該剥離装置を用いた剥離方法
19日前
積水ハウス株式会社
付帯物取付部材、建築物、及び建築物の施工方法
4日前
積水ハウス株式会社
見守りシステム
18日前
個人
教育のAI化
1か月前
個人
英語教材
1か月前
個人
回転式カード学習具
3か月前
個人
時刻表示機能つき手帳
4か月前
日本精機株式会社
表示装置
3か月前
日本精機株式会社
表示装置
2か月前
日本精機株式会社
表示装置
1か月前
個人
計算用教具
2か月前
中国電力株式会社
標示旗
2か月前
日本精機株式会社
車両用表示装置
1か月前
日本精機株式会社
車両用表示装置
4か月前
日本精機株式会社
車両用表示装置
3か月前
個人
インフィニティミラー
1か月前
続きを見る
他の特許を見る