TOP
|
特許
|
意匠
|
商標
特許ウォッチ
Twitter
他の特許を見る
10個以上の画像は省略されています。
公開番号
2025177458
公報種別
公開特許公報(A)
公開日
2025-12-05
出願番号
2024084311
出願日
2024-05-23
発明の名称
圧縮機
出願人
川崎重工業株式会社
,
株式会社スギノマシン
代理人
主分類
F04B
39/12 20060101AFI20251128BHJP(液体用容積形機械;液体または圧縮性流体用ポンプ)
要約
【課題】
シリンダ室と外部を結ぶ流路が高圧に晒された場合においても、流路内の応力が過大になることを抑制できる圧縮機の提供。
【解決手段】
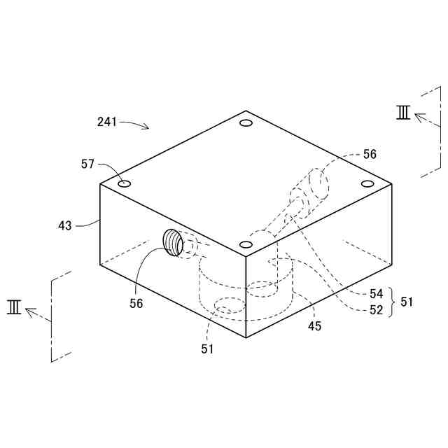
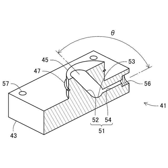
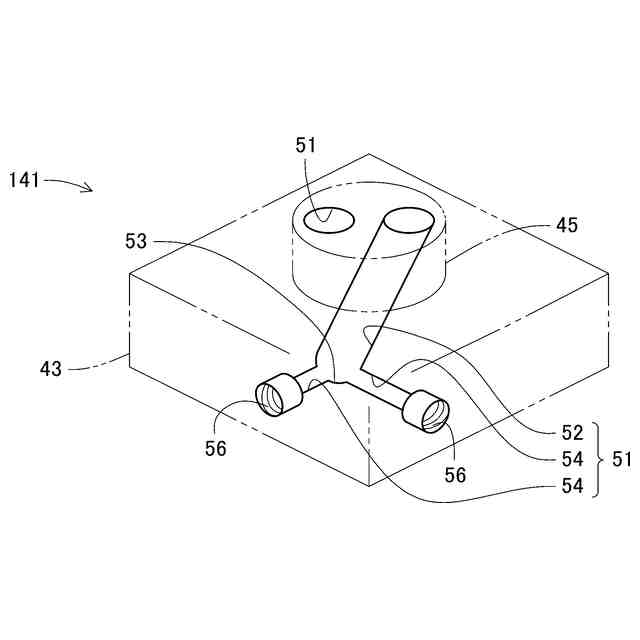
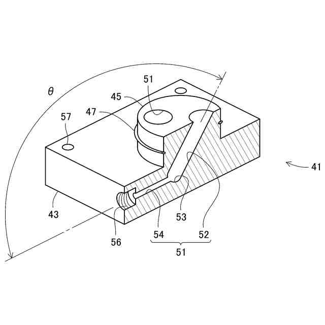
シリンダ室31を有するシリンダ21と、シリンダ21の内部を往復するピストン27と、シリンダ21の一端面を塞ぐヘッドカバー41と、を有する。ヘッドカバー41は、シリンダ室31に開口する内方区間52と、内方区間52に接続してヘッドカバー41の側面に開口する外方区間54と、を含む流路51を有する。内方区間52と外方区間54のなす角を鈍角とすることで、内方区間52と外方区間54の交点に形成されるエッジ部分の鋭さが緩和され、応力が過大になることを抑制できる。
【選択図】 図1
特許請求の範囲
【請求項1】
シリンダ室を有するシリンダと、
前記シリンダの内部を往復するピストンと、
前記シリンダの一端面を塞ぐヘッドカバーであって、
前記シリンダ室に開口する内方区間と、前記内方区間に接続して前記ヘッドカバーの側面に開口する外方区間と、を含む流路を有する、
ヘッドカバーと、
を備える圧縮機。
続きを表示(約 480 文字)
【請求項2】
前記流路は、複数組である請求項1に記載の圧縮機。
【請求項3】
前記内方区間と前記外方区間のなす角は、鈍角である請求項1又は2に記載の圧縮機。
【請求項4】
前記流路において、前記内方区間と前記外方区間のいずれか一方は、曲面で構成された底面を有し、前記内方区間と前記外方区間において残る一方は、前記底面に開口している、請求項1~3のいずれか一項に記載の圧縮機。
【請求項5】
前記流路は、前記内方区間と前記外方区間で内径が異なり、前記内方区間と前記外方区間において内径の大きい方は、曲面で構成された底面を有し、前記内方区間と前記外方区間において内径の小さい方は、前記底面に開口している、請求項1~3のいずれか一項に記載の圧縮機。
【請求項6】
前記内方区間と前記外方区間の間には、曲線区間を有する、請求項1~3のいずれか一項に記載の圧縮機。
【請求項7】
前記流路は、一本の前記内方区間に接続する複数の前記外方区間を有する、請求項4又は5に記載の圧縮機。
発明の詳細な説明
【技術分野】
【0001】
本発明は、水素などの流体を加圧する際に使用する圧縮機に関する。
続きを表示(約 1,000 文字)
【背景技術】
【0002】
シリンダの端面がブロックで塞がれており、ブロックの内部には、吸入弁と吐出弁を有し、ブロックを挟んで圧縮室の反対側にガスの出入口を有する往復動コンプレッサが提案されている(特許文献1)。
【先行技術文献】
【特許文献】
【0003】
特開2006-52709号公報
【発明の概要】
【発明が解決しようとする課題】
【0004】
特許文献1で開示されたブロックのように、ピストンの移動方向に沿って流路を形成した場合、圧縮室の圧力によってブロックが変形し、流路の内周面の応力が過大になることがある。また、流路に高圧が作用することで、特定の領域で応力が過大になることがある。
本発明は、シリンダ室と外部を結ぶ流路が高圧に晒された場合においても、流路内の応力が過大になることを抑制できる圧縮機を提供する。
【課題を解決するための手段】
【0005】
本発明の第1の観点は、
シリンダ室を有するシリンダと、
前記シリンダの内部を往復するピストンと、
前記シリンダの一端面を塞ぐヘッドカバーであって、
前記シリンダ室に開口する内方区間と、前記内方区間に接続して前記ヘッドカバーの側面に開口する外方区間と、を含む流路を有する、
ヘッドカバーと、
を備える圧縮機である。
【0006】
流路は、複数組であっても良い。
内方区間と外方区間のなす角は、鈍角であっても良い。
【0007】
流路において、内方区間と外方区間のいずれか一方は、曲面で構成された底面を有し、内方区間と外方区間において残る一方は、底面に開口していても良い。底面を構成する曲面は、半球形のほか、放物線断面などであっても良い。
【0008】
流路は、内方区間と外方区間で内径が異なっていても良い。この場合、内径の大きい方は、曲面で構成された底面を有し、内径の小さい方は、底面に開口していても良い。底面を構成する曲面は、半球形のほか、放物線断面などであっても良い。
【0009】
内方区間と外方区間の間には、曲線区間を有していても良い。
【0010】
流路は、一本の内方区間に接続する複数の外方区間を有していても良い。
(【0011】以降は省略されています)
この特許をJ-PlatPat(特許庁公式サイト)で参照する
関連特許
川崎重工業株式会社
寝台
2日前
川崎重工業株式会社
圧縮機
今日
川崎重工業株式会社
圧縮機
今日
川崎重工業株式会社
断熱配管
1か月前
川崎重工業株式会社
水中構造体
1か月前
川崎重工業株式会社
液化空気保護装置
7日前
川崎重工業株式会社
基板搬送システム
今日
川崎重工業株式会社
ロボットシステム
今日
川崎重工業株式会社
遠心式ターボ機械
1か月前
川崎重工業株式会社
ダイクッション装置
1か月前
川崎重工業株式会社
バーナおよび燃焼器
1か月前
川崎重工業株式会社
多段遠心ターボ機械
1か月前
川崎重工業株式会社
廃棄物処理システム
1か月前
川崎重工業株式会社
ワーク搬送ロボット
1か月前
川崎重工業株式会社
寝台及び寝台セット
今日
川崎重工業株式会社
ガスタービンエンジン
1か月前
川崎重工業株式会社
多段ラジアルタービン
28日前
川崎重工業株式会社
航空機の電気機械システム
1か月前
川崎重工業株式会社
支援システムおよび支援方法
1か月前
川崎重工業株式会社
カーボンリサイクルシステム
1日前
川崎重工業株式会社
クローズドインペラの製造方法
1か月前
川崎重工業株式会社
経路作成方法及び経路作成装置
1か月前
川崎重工業株式会社
付加製造方法及び付加製造装置
1か月前
川崎重工業株式会社
付加製造方法及び付加製造装置
1か月前
川崎重工業株式会社
情報処理装置および情報提供方法
9日前
川崎重工業株式会社
アンモニア回収システム及び方法
1か月前
川崎重工業株式会社
熱交換器の製造方法及び熱交換器
1か月前
川崎重工業株式会社
可変静翼の制御装置および制御方法
今日
横浜ゴム株式会社
多層空洞音響材
28日前
川崎重工業株式会社
手術支援システムおよび手術支援方法
1か月前
川崎重工業株式会社
船舶用の寝台及び船舶用の寝台セット
今日
川崎重工業株式会社
多段遠心圧縮機および圧縮機システム
1か月前
川崎重工業株式会社
ロボットハンドおよびロボットシステム
1か月前
川崎重工業株式会社
手術ロボットシステムおよびその制御方法
1か月前
川崎重工業株式会社
情報処理装置および情報処理装置の制御方法
7日前
川崎重工業株式会社
廃棄物処理システムおよび廃棄物用振動装置
1か月前
続きを見る
他の特許を見る