TOP
|
特許
|
意匠
|
商標
特許ウォッチ
Twitter
他の特許を見る
公開番号
2025177426
公報種別
公開特許公報(A)
公開日
2025-12-05
出願番号
2024084255
出願日
2024-05-23
発明の名称
可変静翼の制御装置および制御方法
出願人
川崎重工業株式会社
代理人
個人
,
個人
,
個人
,
個人
,
個人
主分類
F04D
29/56 20060101AFI20251128BHJP(液体用容積形機械;液体または圧縮性流体用ポンプ)
要約
【課題】可変静翼の駆動装置の推力の上昇を抑えることにより、ガスタービンエンジンの寿命低下を防ぐことが可能な可変静翼の制御装置および制御方法を提供する。
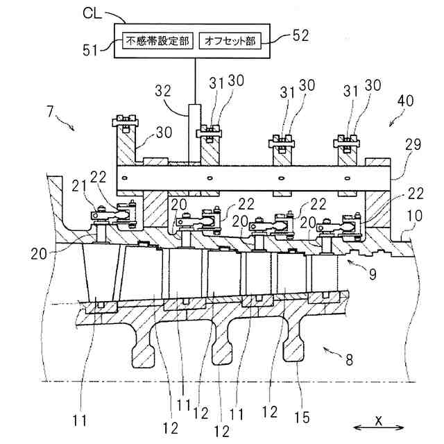
【解決手段】本開示の可変静翼の制御装置は、軸流圧縮機1の静翼11に連結されたアーム21と、アーム21の一端部に連結されて軸流圧縮機1のケーシング10の外周に位置する回転リング22と、回転リング22を回転させることにより、アーム21を介して静翼11を回動させる駆動装置40と、駆動装置40を指令信号によって制御するコントローラCLとを備える。コントローラCLは、静翼11を目的の取付角度θに移動させた後、指令信号を無効にする不感帯制御を所定時間行う不感帯設定部51と、所定時間経過後、アーム21、回転リング22、および駆動装置40に蓄えられた弾性エネルギーを緩和する方向に、駆動装置40を所定の距離だけ戻すオフセット部52とを有する。
【選択図】図3
特許請求の範囲
【請求項1】
軸流圧縮機の静翼の取付角度を制御する制御装置であって、
前記静翼に連結されたアームと、
前記アームの一端部に連結されて前記軸流圧縮機のケーシングの外周に位置する回転リングと、
前記回転リングを回転させることにより、前記アームを介して前記静翼を回動させる駆動装置と、
前記駆動装置を指令信号によって制御するコントローラとを備え、
前記コントローラは、前記静翼を目的の取付角度に移動させた後、前記指令信号を無効にする不感帯制御を所定時間行う不感帯設定部と、
前記所定時間経過後、前記アーム、前記回転リング、および前記駆動装置に蓄えられた弾性エネルギーを緩和する方向に、前記駆動装置を所定の距離だけ戻すオフセット部とを有する制御装置。
続きを表示(約 380 文字)
【請求項2】
請求項1に記載の制御装置において、
前記駆動装置は、電動機と、この電動機により駆動されるボールねじとを有する電動アクチュエータである制御装置。
【請求項3】
軸流圧縮機の静翼に連結されたアームと、
前記アームの一端部に連結されて前記軸流圧縮機のケーシングの外周に位置する回転リングと、
前記回転リングを回転させることにより、前記アームを介して前記静翼を回動させる駆動装置とを備える可変静翼機構を制御する制御方法であって、
前記静翼を目的の取付角度に移動させた後、前記駆動装置に対する指令信号を無効にする不感帯制御を所定時間行い、
前記所定時間経過後、前記アーム、前記回転リング、および前記駆動装置に蓄えられた弾性エネルギーを緩和する方向に、前記駆動装置を所定の距離だけ戻す制御方法。
発明の詳細な説明
【技術分野】
【0001】
本開示は、ガスタービンエンジン、ターボ冷凍機などで用いられる軸流圧縮機の静翼の取付角度を調節する可変静翼機構の制御装置および制御方法に関する。
続きを表示(約 1,800 文字)
【背景技術】
【0002】
ガスタービンエンジンにおいて、気体を圧縮するために軸流圧縮機が用いられている。ガスタービンエンジンでは吸い込んだ空気を軸流圧縮機によって高圧に圧縮し、燃焼器へ導く。燃焼器で燃焼した高温高圧ガスはタービンで回転エネルギーとして回収されたのちに排出される。ガスタービンの圧縮機は、エンジン起動中に旋回失速と呼ばれる不安定状態となることがある。このような不安定状態で、ガスタービンエンジンを長時間運転すると、エンジン始動渋滞となり、起動完了できないことがある。
【0003】
これを回避する方法として、圧縮機中間段での抽気や前方段の可変静翼機構を採用している。例えば、特許文献1には、軸流圧縮機のケーシングに摩擦パッドを設けることで、静翼を支持する回転リングの過回転を阻止して静翼の取付角度を適正に調節でき、かつ、耐久性に優れる軸流圧縮機の可変静翼機構が記載されている。
【先行技術文献】
【特許文献】
【0004】
特開2015-117657号公報
【発明の概要】
【発明が解決しようとする課題】
【0005】
しかしながら、経年により駆動部の摩擦抵抗や弾性エネルギー等の機械的な反力が増加することにより、可変静翼の駆動装置の推力が上昇し、駆動装置のモータ温度が上昇する事象が発生していた。モータ温度の上昇は駆動装置のトラブルの要因となり、ガスタービンエンジンの寿命低下に繋がる。
【0006】
本出願の開示は、上記課題を解決するためになされたものであって、可変静翼の駆動装置の推力の上昇を抑えることにより、ガスタービンエンジンの寿命低下を防ぐことが可能な可変静翼の制御装置および制御方法を提供する。
【課題を解決するための手段】
【0007】
本開示に係る可変静翼の制御装置は、軸流圧縮機の静翼の取付角度を制御する制御装置であって、前記静翼に連結されたアームと、前記アームの一端部に連結されて前記軸流圧縮機のケーシングの外周に位置する回転リングと、前記回転リングを回転させることにより、前記アームを介して前記静翼を回動させる駆動装置と、前記駆動装置を指令信号によって制御するコントローラとを備え、前記コントローラは、前記静翼を目的の取付角度に移動させた後、前記指令信号を無効にする不感帯制御を所定時間行う不感帯設定部と、前記所定時間経過後、前記アーム、前記回転リング、および前記駆動装置に蓄えられた弾性エネルギーを緩和する方向に、前記駆動装置を所定の距離だけ戻すオフセット部とを有する。
【発明の効果】
【0008】
本開示に係る可変静翼の制御装置によれば、可変静翼の駆動装置の推力の上昇を抑えることにより、ガスタービンエンジンの寿命低下を防ぐことができる。
【図面の簡単な説明】
【0009】
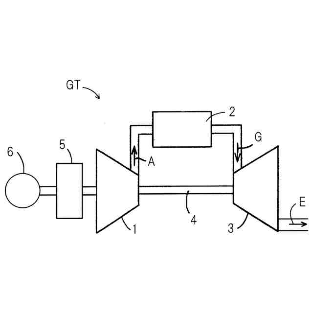
本開示の可変静翼機構を採用したガスタービンエンジンの発電システムを示す概略図である。
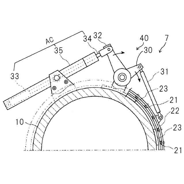
本開示の可変静翼機構を示す縦断面図である。
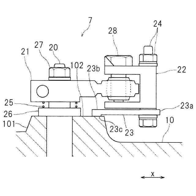
本開示の可変静翼機構の部分拡大縦断面図である。
図3の翼列の一部を示す図である。
本開示の軸流圧縮機の静翼の翼列を示す縦断面図である。
本開示の可変静翼機構を圧縮機の軸方向から見た図である。
本開示の駆動装置の状態およびモータ温度の推移を示す図である。
【発明を実施するための形態】
【0010】
本開示の実施の形態を図面を参照しながら説明する。
図1は、本開示の可変静翼機構を採用したガスタービンエンジンGTの発電システムの概略構成を示す。同図において、ガスタービンGTは、軸流圧縮機(以下、単に「圧縮機」という)1と、燃焼器2と、タービン3とを主な構成要素として備えている。圧縮機1から供給される圧縮空気Aと、図示外の燃料供給装置から供給される燃料Fとを燃焼器2で燃焼させ、燃焼により発生する高温高圧の燃焼ガスGをタービン3に供給して、タービン3を駆動する。タービン3から排ガスEが排出される。圧縮機1は回転軸4を介してタービン3により駆動され、タービン3はまた、減速機5を介して発電機のような外部の負荷6を駆動する。
(【0011】以降は省略されています)
この特許をJ-PlatPat(特許庁公式サイト)で参照する
関連特許
川崎重工業株式会社
寝台
2日前
川崎重工業株式会社
圧縮機
今日
川崎重工業株式会社
圧縮機
今日
川崎重工業株式会社
水中構造体
1か月前
川崎重工業株式会社
基板搬送システム
今日
川崎重工業株式会社
ロボットシステム
今日
川崎重工業株式会社
遠心式ターボ機械
1か月前
川崎重工業株式会社
液化空気保護装置
7日前
川崎重工業株式会社
バーナおよび燃焼器
1か月前
川崎重工業株式会社
ダイクッション装置
1か月前
川崎重工業株式会社
ワーク搬送ロボット
1か月前
川崎重工業株式会社
寝台及び寝台セット
今日
川崎重工業株式会社
多段遠心ターボ機械
1か月前
川崎重工業株式会社
廃棄物処理システム
1か月前
川崎重工業株式会社
ガスタービンエンジン
1か月前
川崎重工業株式会社
多段ラジアルタービン
28日前
川崎重工業株式会社
航空機の電気機械システム
1か月前
川崎重工業株式会社
カーボンリサイクルシステム
1日前
川崎重工業株式会社
クローズドインペラの製造方法
1か月前
川崎重工業株式会社
付加製造方法及び付加製造装置
1か月前
川崎重工業株式会社
付加製造方法及び付加製造装置
1か月前
川崎重工業株式会社
経路作成方法及び経路作成装置
1か月前
川崎重工業株式会社
情報処理装置および情報提供方法
9日前
川崎重工業株式会社
熱交換器の製造方法及び熱交換器
1か月前
横浜ゴム株式会社
多層空洞音響材
28日前
川崎重工業株式会社
可変静翼の制御装置および制御方法
今日
川崎重工業株式会社
船舶用の寝台及び船舶用の寝台セット
今日
川崎重工業株式会社
多段遠心圧縮機および圧縮機システム
1か月前
川崎重工業株式会社
ロボットハンドおよびロボットシステム
1か月前
川崎重工業株式会社
廃棄物処理システムおよび廃棄物用振動装置
1か月前
川崎重工業株式会社
情報処理装置および情報処理装置の制御方法
7日前
川崎重工業株式会社
ワーク搬送ロボットおよびロボット制御方法
1か月前
川崎重工業株式会社
基板搬送ロボットおよび基板搬送ロボットの制御方法
1か月前
川崎重工業株式会社
多段遠心圧縮機のケーシング、及び、多段遠心圧縮機
15日前
川崎重工業株式会社
ポペット弁装置、及びそれを備える液圧駆動システム
1か月前
川崎重工業株式会社
二酸化炭素排出システム及び方法、並びに水中航走体
1か月前
続きを見る
他の特許を見る