TOP
|
特許
|
意匠
|
商標
特許ウォッチ
Twitter
他の特許を見る
公開番号
2025178167
公報種別
公開特許公報(A)
公開日
2025-12-05
出願番号
2025082527
出願日
2025-05-16
発明の名称
船舶用の寝台及び船舶用の寝台セット
出願人
川崎重工業株式会社
代理人
弁理士法人有古特許事務所
主分類
B63B
29/10 20060101AFI20251128BHJP(船舶またはその他の水上浮揚構造物;関連艤装品)
要約
【課題】利用者が床板を跳ね上げて床板を開閉する際に、利用者にかかる負荷が少なく抑えられた船舶用の寝台及び船舶用の寝台セットを提供する。
【解決手段】
寝台は、船舶用の寝台であって、平面視矩形状の底壁と、側壁と、上面に形成された開口部と、前記底壁、前記側壁及び前記開口部で区画された収納空間と、を有する収納体と、前記開口部の上方を覆う床板と、前記床板の一端において、前記床板を前記収納体に支持する支持体と、前記収納体の外側の少なくとも四隅に立設され、前記収納体を支持する複数の柱と、を備え、前記床板は、前記長手方向に複数に分割され、分割された複数の前記床板それぞれが、前記支持体を介し、前記収納体に対して回動可能に支持される。
【選択図】図3
特許請求の範囲
【請求項1】
船舶用の寝台であって、
平面視矩形状の底壁と、側壁と、上面に形成された開口部と、前記底壁、前記側壁及び前記開口部で区画された収納空間と、を有する収納体と、
前記開口部の上方を覆う床板と、
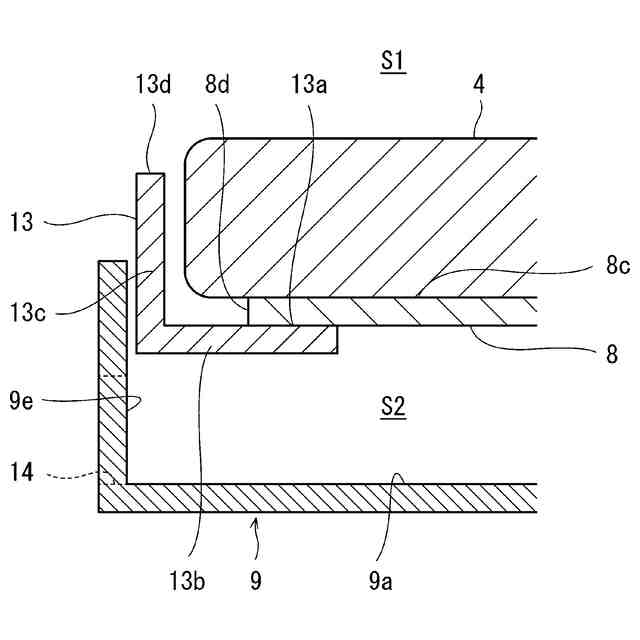
前記床板の一端において、前記床板を前記収納体に支持する支持体と、
前記収納体の外側の少なくとも四隅に立設され、前記収納体を支持する複数の柱と、を備え、
前記床板は、前記長手方向に複数に分割され、
分割された複数の前記床板それぞれが、前記支持体を介し、前記収納体に対して回動可能に支持される、船舶用の寝台。
続きを表示(約 890 文字)
【請求項2】
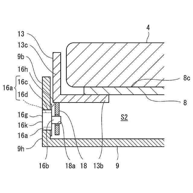
前記支持体は、前記床板が押圧されたときに前記床板の運動エネルギーを吸収しながら前記床板を押圧方向に変位させるダンパー部材を有する、請求項1に記載の船舶用の寝台。
【請求項3】
前記床板は、前記床板の上面よりも上方に突出し、前記床板上に配置される寝具の位置を規制する規制部材を有する、請求項1または2に記載の船舶用の寝台。
【請求項4】
前記収納体は、
前記側壁を貫通して前記収納空間と外部とを連通するごみ排出口と、
前記側壁の外面に前記ごみ排出口を覆う蓋と、をさらに有する、請求項1または2に記載の船舶用の寝台。
【請求項5】
前記収納体と前記床板とを閉じた状態で施錠可能な錠を更に備える、請求項1または2に記載の船舶用の寝台。
【請求項6】
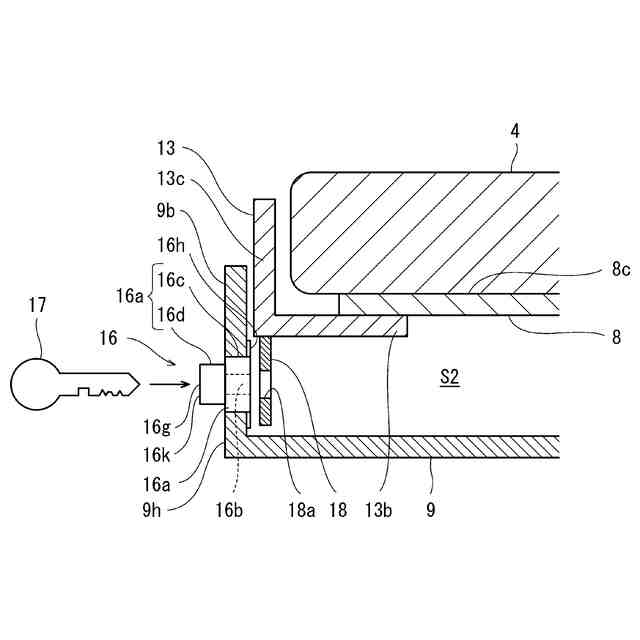
前記錠は前記収納体へ設けられ、
前記床板は、前記錠と係合する受座を有し、
前記錠は、本体部と、施錠時に前記本体部から前記受座に向かって移動するシリンダ部とを有し、
前記本体部は、鍵が挿入される鍵穴を含み、
前記錠は、前記鍵穴に前記鍵が差し込まれて回動されると前記シリンダ部が前記本体部から前記受座に向かって移動し、前記シリンダ部が前記受座と係合して、前記収納体と前記床板とを施錠する、請求項5に記載の船舶用の寝台。
【請求項7】
前記本体部は、基部と、開錠時に前記基部から突出すると共に施錠時に前記基部の内部に押し込まれる突出部と、を含み、
前記鍵穴は、前記突出部に設けられ、
前記突出部が前記基部に対し押し込まれた状態のときには、前記突出部における前記鍵穴の設けられた側面が、前記幅方向において、前記収納体の側壁の外面と同じ位置、あるいは、前記外面よりも内側の位置に配置される、請求項6に記載の船舶用の寝台。
【請求項8】
前記請求項1乃至7のいずれか1項に記載の船舶用の寝台が複数備えられ、前記複数の寝台が上下方向に組み上げられた、船舶用の寝台セット。
発明の詳細な説明
【技術分野】
【0001】
本開示は、床板の下方に物品収納室を備えた船舶用の寝台及び船舶用の寝台セットに関する。
続きを表示(約 1,600 文字)
【背景技術】
【0002】
特許文献1には、上面に寝具を配置する床板の下方に物品収納室を備えた収納式跳ね上げベッド装置について開示されている。特許文献1の収納式跳ね上げベッド装置においては、床板をベッド本体に対し跳ね上げ可能に構成されている。床板が跳ね上げられることにより、床板の下方の空間に物品を収納し、床板の下方の空間を物品収納室として使用することができる。
【先行技術文献】
【特許文献】
【0003】
特開2008-173394号公報
【発明の概要】
【発明が解決しようとする課題】
【0004】
しかしながら、特許文献1に開示された構成では、1枚の床板がベッド本体の上面の全体に設けられている。そのため、床板を跳ね上げ、床板の下部の物品収納室に物品を収納するには、床板の全体を上方に跳ね上げる必要がある。その場合、床板を上方に跳ね上げるのに大きな力が必要になり、利用者にかかる負荷が大きくなる可能性がある。特に、ベッド装置を船舶用として用いる場合にはベッド装置の周りで揺れが生じ易く、利用者は不安定な環境でベッド装置を取り扱うことになる。そのため、利用者にとって容易に取り扱うことのできるベッド装置が求められる。
【0005】
そこで本開示の一態様は、利用者が床板を跳ね上げて床板を開閉する際に、利用者にかかる負荷が少なく抑えられた船舶用の寝台及び船舶用の寝台セットを提供することを目的とする。
【課題を解決するための手段】
【0006】
本開示の船舶用の寝台は、船舶用の寝台であって、平面視矩形状の底壁と、側壁と、上面に形成された開口部と、前記底壁、前記側壁及び前記開口部で区画された収納空間と、を有する収納体と、前記開口部の上方を覆う床板と、前記床板の一端において、前記床板を前記収納体に支持する支持体と、前記収納体の外側の少なくとも四隅に立設され、前記収納体を支持する複数の柱と、を備え、前記床板は、前記長手方向に複数に分割され、分割された複数の前記床板それぞれが、前記支持体を介し、前記収納体に対して回動可能に支持される。
【発明の効果】
【0007】
本開示によれば、収納体及び床板が、長手方向に複数に分割されているので、床板を開けるときに、床板を移動させるのに必要な力を小さくすることができる。これにより、利用者が床板を開閉させる際に利用者にかかる負荷を少なく抑えることができる。
【図面の簡単な説明】
【0008】
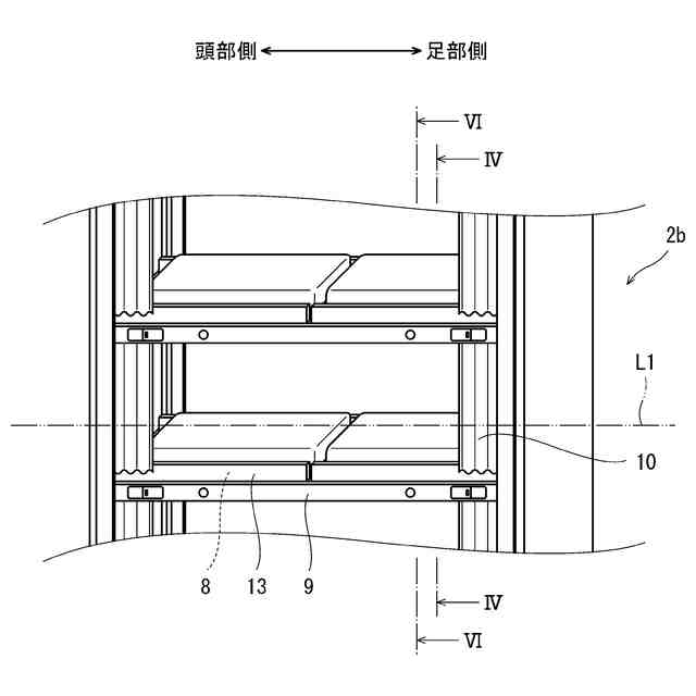
実施形態に係る寝台セット1の斜視図である。
図1の寝台セットにおける1つの寝台についての斜視図である。
図2の寝台において、収納体に対し床板が開いた状態の斜視図である。
図2の寝台のIV-IV線に沿う断面図である。
図2の寝台における収納体のごみ排出口と蓋について示した側面図である。
図2の寝台のVI-VI線に沿う断面図である。
図6の寝台において、錠が施錠された状態の断面図である。
【発明を実施するための形態】
【0009】
以下、図面を参照して実施形態を説明する。なお、以下の説明では、寝台内部に配置される寝具の頭部を配置する側から足部を配置する側にかけての方向を長手方向というものとする。また、寝台の積み重ねられた方向を上下方向というものとする。
【0010】
図1は、寝台セット1の斜視図である。本実施形態においては、寝台セット1は、3つの寝台2、つまり寝台2a、2b、2cが上下方向に重ねられて構成されている。図2に、3つの寝台2a、2b、2cのうちの1つの寝台2bについて拡大した斜視図を示す。
(【0011】以降は省略されています)
この特許をJ-PlatPat(特許庁公式サイト)で参照する
関連特許
川崎重工業株式会社
寝台
2日前
川崎重工業株式会社
ハンド
1か月前
川崎重工業株式会社
圧縮機
今日
川崎重工業株式会社
圧縮機
今日
川崎重工業株式会社
断熱配管
1か月前
川崎重工業株式会社
水中構造体
1か月前
川崎重工業株式会社
塗装システム
1か月前
川崎重工業株式会社
配管の支持構造
1か月前
川崎重工業株式会社
ロボットシステム
1か月前
川崎重工業株式会社
液化空気保護装置
7日前
川崎重工業株式会社
遠心式ターボ機械
1か月前
川崎重工業株式会社
ロボットシステム
今日
川崎重工業株式会社
基板搬送システム
今日
川崎重工業株式会社
ワーク搬送ロボット
1か月前
川崎重工業株式会社
バーナおよび燃焼器
1か月前
川崎重工業株式会社
廃棄物処理システム
1か月前
川崎重工業株式会社
多段遠心ターボ機械
1か月前
川崎重工業株式会社
寝台及び寝台セット
今日
川崎重工業株式会社
ダイクッション装置
1か月前
川崎重工業株式会社
ガスタービンエンジン
1か月前
川崎重工業株式会社
多段ラジアルタービン
28日前
川崎重工業株式会社
航空機の電気機械システム
1か月前
川崎重工業株式会社
カーボンリサイクルシステム
1日前
株式会社キッツ
逆流防止弁
1か月前
川崎重工業株式会社
支援システムおよび支援方法
1か月前
川崎重工業株式会社
経路作成方法及び経路作成装置
1か月前
川崎重工業株式会社
クローズドインペラの製造方法
1か月前
川崎重工業株式会社
付加製造方法及び付加製造装置
1か月前
川崎重工業株式会社
付加製造方法及び付加製造装置
1か月前
川崎重工業株式会社
アンモニア回収システム及び方法
1か月前
川崎重工業株式会社
熱交換器の製造方法及び熱交換器
1か月前
川崎重工業株式会社
情報処理装置および情報提供方法
9日前
横浜ゴム株式会社
多層空洞音響材
28日前
川崎重工業株式会社
可変静翼の制御装置および制御方法
今日
川崎重工業株式会社
手術支援システムおよび手術支援方法
1か月前
川崎重工業株式会社
多段遠心圧縮機および圧縮機システム
1か月前
続きを見る
他の特許を見る