TOP
|
特許
|
意匠
|
商標
特許ウォッチ
Twitter
他の特許を見る
10個以上の画像は省略されています。
公開番号
2025177099
公報種別
公開特許公報(A)
公開日
2025-12-05
出願番号
2024083627
出願日
2024-05-22
発明の名称
寝台及び寝台セット
出願人
川崎重工業株式会社
代理人
弁理士法人有古特許事務所
主分類
B63B
29/10 20060101AFI20251128BHJP(船舶またはその他の水上浮揚構造物;関連艤装品)
要約
【課題】寝台上のスペースが閉じられたときであっても、寝台上で利用者が使用することのできるスペースが広く確保された寝台を提供する。
【解決手段】
寝台は、平面視矩形状の床板と、前記床板の少なくとも四隅に立設された複数の柱と、前記床板の長手方向の一方に立設された第1壁と、前記床板の長手方向の他方に立設された第2壁と、前記床板の上方であって、前記床板と平行に設けられた天井壁と、前記床板の幅方向の一方側であって、前記床板と前記天井壁との間に設けられた開口部と、前記第1壁、前記第2壁及び前記天井壁の内側であって、前記第1壁、前記第2壁もしくは前記天井壁の少なくともいずれか1つの壁の内側の壁面に沿って設けられたガイドレールと、前記ガイドレールに沿って全体がスライドすることで、前記開口部を開閉するシャッターカーテンと、を備える。
【選択図】図2
特許請求の範囲
【請求項1】
平面視矩形状の床板と、
前記床板の少なくとも四隅に立設された複数の柱と、
前記床板の長手方向の一方に立設された第1壁と、
前記床板の長手方向の他方に立設された第2壁と、
前記床板の上方であって、前記床板と平行に設けられた天井壁と、
前記床板の幅方向の一方側であって、前記床板と前記天井壁との間に設けられた開口部と、
前記第1壁、前記第2壁及び前記天井壁の内側であって、前記第1壁、前記第2壁もしくは前記天井壁の少なくともいずれか1つの壁の内側の壁面に沿って設けられたガイドレールと、
前記ガイドレールに沿って全体がスライドすることで、前記開口部を開閉するシャッターカーテンと、を備える寝台。
続きを表示(約 1,100 文字)
【請求項2】
前記ガイドレールは、
前記開口部よりも前記床板の幅方向の内側で、前記複数の柱の立設方向に延びる第1レールと、
前記天井壁の内側の側面に沿って設けられ、前記床板の幅方向に延びる第2レールと、
を有する請求項1に記載の寝台。
【請求項3】
前記ガイドレールは、
前記開口部よりも前記床板の幅方向の内側で、前記床板の長手方向に延びる第1レールと、
前記第1壁の内側の側面に沿って設けられ、前記床板の幅方向に延びる第2レールと、
を有する請求項1に記載の寝台。
【請求項4】
前記第1レールは、前記天井壁の下面に沿って設けられた上側第1レールと、前記床板の上面に沿って設けられた下側第1レールとを含み、
前記シャッターカーテンは、上端が前記上側第1レールによって移動をガイドされ、下端が前記下側第1レールによって移動をガイドされる、請求項3に記載の寝台。
【請求項5】
前記ガイドレールは、前記第2壁の内側の側面に沿って設けられ、前記床板の幅方向に延びる第3レールをさらに有し、
前記シャッターカーテンは、前記第1レール及び前記第2レールに沿って全体がスライドする第1シャッターと、前記第1レール及び前記第3レールに沿って全体がスライドする第2シャッターと、を有する、請求項3に記載の寝台。
【請求項6】
前記第1レールは、夫々が略平行に配置された二つの第1レールを含み、
前記第2レールは、夫々が略平行に配置された二つの第2レールを含み、
前記シャッターカーテンは前記二つの第1レールの間及び前記二つの第2レールの間に設けられ、当該レールに沿って全体がスライドする、請求項2または請求項3に記載の寝台。
【請求項7】
前記ガイドレールは、幅方向における前記一方側とは反対側の他方側で、前記床板の前記他方側の端部と、前記床板の上面で寝具の載置される載置部における幅方向の前記他方側の端部との間の領域において、前記シャッターカーテンの移動をガイドする第4レールを含む、請求項2または3に記載の寝台。
【請求項8】
前記シャッターカーテンは、外側面及び内側面の両面に手で把持することが可能な手掛け部材を有する、請求項1に記載の寝台。
【請求項9】
前記柱はL型断面を有するL型アングルであり、
前記第1壁及び前記第2壁は、前記柱の外側に立設され、
前記ガイドレールは前記柱より内側に設けられる、請求項1に記載の寝台。
【請求項10】
前記シャッターは、複数のシャッター部材同士が組まれている、請求項1に記載の寝台。
(【請求項11】以降は省略されています)
発明の詳細な説明
【技術分野】
【0001】
本開示は、開閉可能なシャッターを備えた寝台及び寝台セットに関する。
続きを表示(約 1,700 文字)
【背景技術】
【0002】
特許文献1には、寝具を配置するスペースの周囲にスペースを取り囲むように蛇腹状のシャッターが設けられた寝具補助装置について開示されている。特許文献1の寝具補助装置においては、シャッターの一端が寝具補助装置の壁板に固定されつつ、シャッターの他端がシャッターの一端に対し相対的に移動することにより、シャッターが閉じて個室が形成される。
【先行技術文献】
【特許文献】
【0003】
実用新案登録第3120474号公報
【発明の概要】
【発明が解決しようとする課題】
【0004】
しかしながら、特許文献1に開示された構成では、シャッターは、蛇腹状かつ一端が壁板に固定されているため、シャッターが開けられて、利用者が寝具を配置するスペースへ出入り可能な状態のときには、収縮したシャッターが折り畳まれ内側へせり出すため、利用者が使用することのできるスペースが小さくなる。これにより、寝具補助装置の使い勝手が損なわれてしまう可能性がある。
【0005】
そこで本開示の一態様は、寝台上のスペースが開けられたときであっても、シャッター内側のスペースが広く確保された寝台及び寝台セットを提供することを目的とする。
【課題を解決するための手段】
【0006】
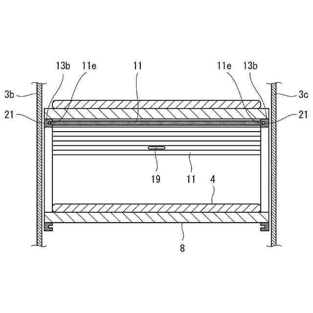
本開示の寝台は、平面視矩形状の床板と、前記床板の少なくとも四隅に立設された複数の柱と、前記床板の長手方向の一方に立設された第1壁と、前記床板の長手方向の他方に立設された第2壁と、前記床板の上方であって、前記床板と平行に設けられた天井壁と、前記床板の幅方向の一方側であって、前記床板と前記天井壁との間に設けられた開口部と、前記第1壁、前記第2壁及び前記天井壁の内側であって、前記1壁、前記第2壁もしくは前記天井壁の少なくともいずれか1つの壁の内側の壁面に沿って設けられたガイドレールと、前記ガイドレールに沿って全体がスライドすることで、前記開口部を開閉するシャッターカーテンと、を備える。
【発明の効果】
【0007】
本開示によれば、シャッターカーテンが、ガイドレールに沿って全体がスライドすることによって開口部を開閉するので、シャッターカーテンが開閉する際に、シャッターカーテン自身が伸縮せずに開口部を開閉させることができる。従って、シャッターカーテンが開けられたときであってもシャッターカーテンの占める容積が小さく抑えられ、利用者の使えるスペースが広く確保される。これにより、使い勝手の良い寝台及び寝台セットを提供することができる。
【図面の簡単な説明】
【0008】
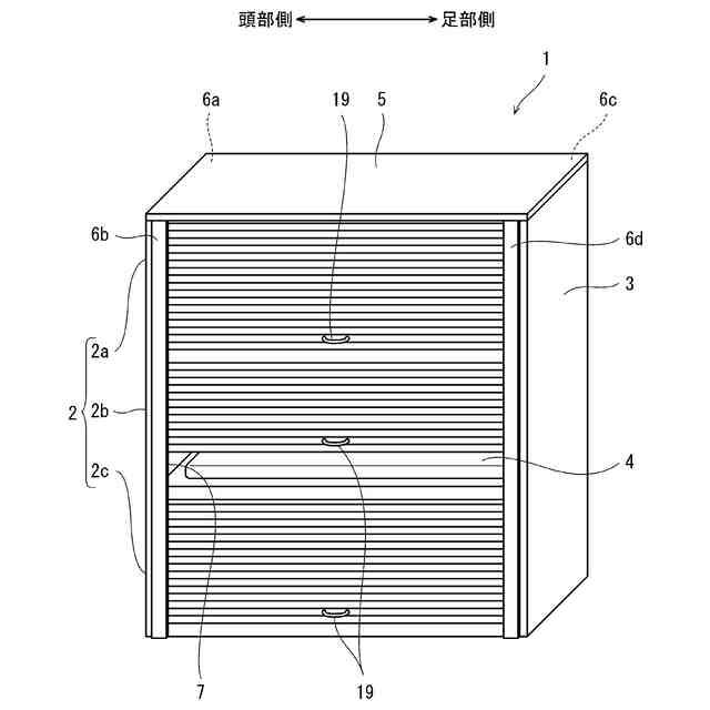
第1実施形態に係る寝台セット1の斜視図である。
図1の寝台セットにおける1つの寝台についての斜視図である。
図2のIII-III線に沿う断面図である。
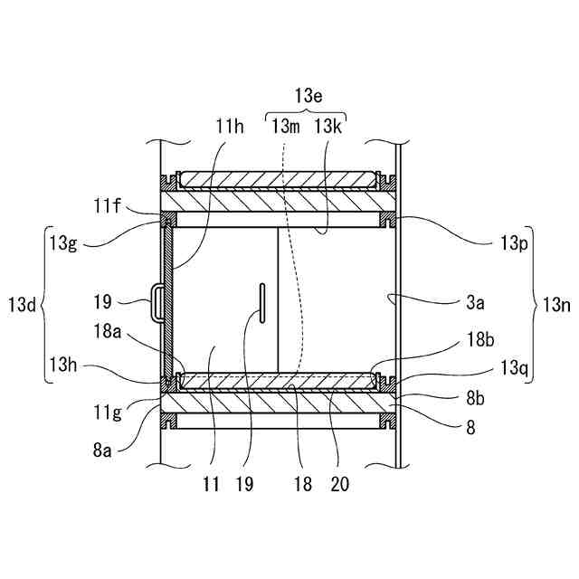
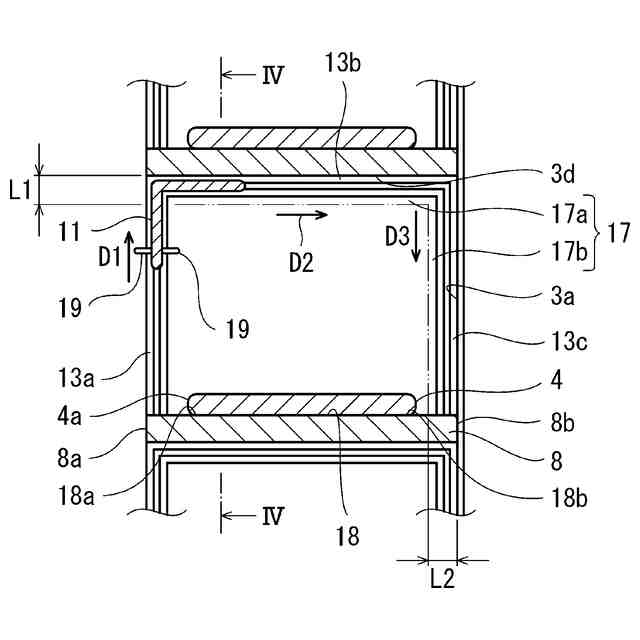
図3のIV-IV線に沿う断面図である。
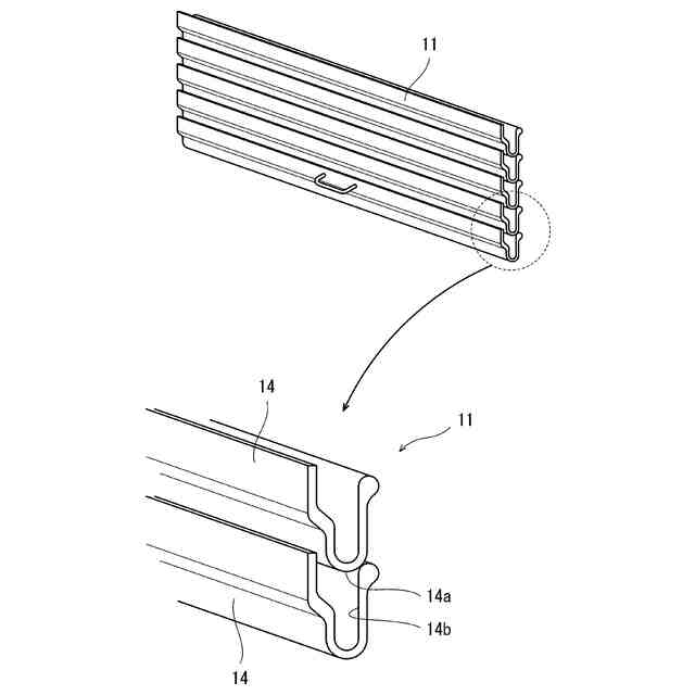
図2のシャッターを構成するシャッター部材について説明するための説明図である。
図2の寝台の変形例についての斜視図である。
第2実施形態に係る寝台の斜視図である。
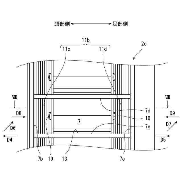
図7のVII-VII線に沿う断面図である。
図8のIX-IX線に沿う断面図である。
【発明を実施するための形態】
【0009】
以下、図面を参照して実施形態を説明する。なお、以下の説明では、寝台内部に配置される寝具の頭部を配置する側から足部を配置する側にかけての方向を長手方向というものとする。また長手方向とは直交する寝具の幅方向の外側に向かう方向を側方というものとする。また、寝台の積み重ねられた方向を上下方向というものとする。
【0010】
(第1実施形態)
図1は、第1実施形態に係る寝台セット1の斜視図である。本実施形態においては、寝台セット1は、3つの寝台2、つまり寝台2a、2b、2cが上下方向に重ねられて構成されている。
(【0011】以降は省略されています)
この特許をJ-PlatPat(特許庁公式サイト)で参照する
関連特許
川崎重工業株式会社
寝台
2日前
川崎重工業株式会社
圧縮機
今日
川崎重工業株式会社
圧縮機
今日
川崎重工業株式会社
ハンド
1か月前
川崎重工業株式会社
断熱配管
1か月前
川崎重工業株式会社
水中構造体
1か月前
川崎重工業株式会社
塗装システム
1か月前
川崎重工業株式会社
監視システム
1か月前
川崎重工業株式会社
配管の支持構造
1か月前
川崎重工業株式会社
液化空気保護装置
7日前
川崎重工業株式会社
ロボットシステム
1か月前
川崎重工業株式会社
ロボットシステム
今日
川崎重工業株式会社
ロボットシステム
1か月前
川崎重工業株式会社
基板搬送システム
今日
川崎重工業株式会社
遠心式ターボ機械
1か月前
川崎重工業株式会社
バーナおよび燃焼器
1か月前
川崎重工業株式会社
ワーク搬送ロボット
1か月前
川崎重工業株式会社
寝台及び寝台セット
今日
川崎重工業株式会社
多段遠心ターボ機械
1か月前
川崎重工業株式会社
廃棄物処理システム
1か月前
川崎重工業株式会社
ダイクッション装置
1か月前
川崎重工業株式会社
多段ラジアルタービン
28日前
川崎重工業株式会社
ガスタービンエンジン
1か月前
川崎重工業株式会社
締結方法及び締結装置
2か月前
川崎重工業株式会社
極低温流体用配管設備
1か月前
川崎重工業株式会社
ロボットの診断システム
1か月前
川崎重工業株式会社
航空機の電気機械システム
1か月前
川崎重工業株式会社
支援システムおよび支援方法
1か月前
株式会社キッツ
逆流防止弁
1か月前
川崎重工業株式会社
カーボンリサイクルシステム
1日前
川崎重工業株式会社
経路作成方法及び経路作成装置
1か月前
川崎重工業株式会社
付加製造方法及び付加製造装置
1か月前
川崎重工業株式会社
クローズドインペラの製造方法
1か月前
川崎重工業株式会社
付加製造方法及び付加製造装置
1か月前
川崎重工業株式会社
アンモニア回収システム及び方法
1か月前
川崎重工業株式会社
ガス燃料供給システムおよび船舶
2か月前
続きを見る
他の特許を見る