TOP
|
特許
|
意匠
|
商標
特許ウォッチ
Twitter
他の特許を見る
公開番号
2025176508
公報種別
公開特許公報(A)
公開日
2025-12-04
出願番号
2024082705
出願日
2024-05-21
発明の名称
カーボンリサイクルシステム
出願人
川崎重工業株式会社
代理人
弁理士法人有古特許事務所
主分類
B01D
53/62 20060101AFI20251127BHJP(物理的または化学的方法または装置一般)
要約
【課題】カーボンリサイクルシステムにおいて、運転時のシステム外からの投入エネルギーを削減する。
【解決手段】カーボンリサイクルシステムは、二酸化炭素含有ガスを導入するガス導入口と吸収液を導入する第1液導入口とを有し、二酸化炭素含有ガスに含まれるCO
2
を吸収液に吸収させることにより二酸化炭素含有ガスからCO
2
を分離する吸収塔と、CO
2
を吸収した吸収液を導入する第2液導入口と吸収液を加熱する加熱器とを有し、吸収液の加熱により吸収液から放出されたCO
2
を回収する再生塔と、吸収液を冷却する熱交換器と吸収液を昇圧する加圧ポンプとを有し、吸収塔から再生塔へCO
2
を吸収した吸収液を送る移送ラインと、CO
2
を利用する二酸化炭素利用設備と、再生塔から二酸化炭素利用設備へCO
2
を送る二酸化炭素ラインとを備え、吸収塔の塔内圧力よりも再生塔の塔内圧力が高い。
【選択図】図1
特許請求の範囲
【請求項1】
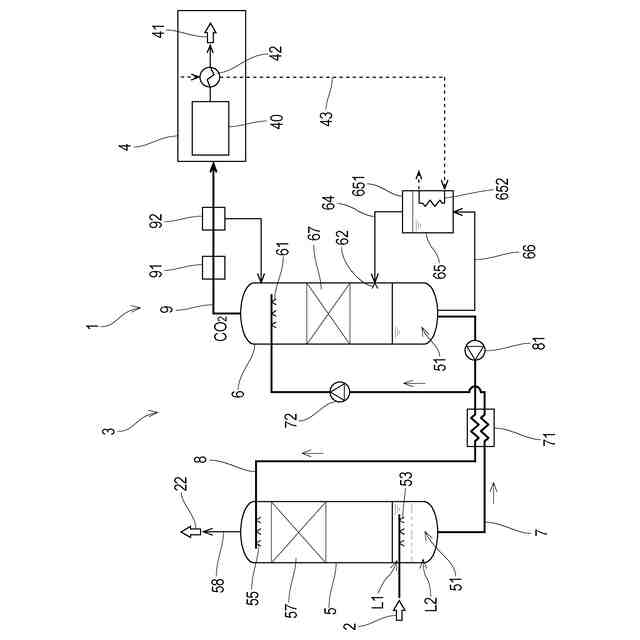
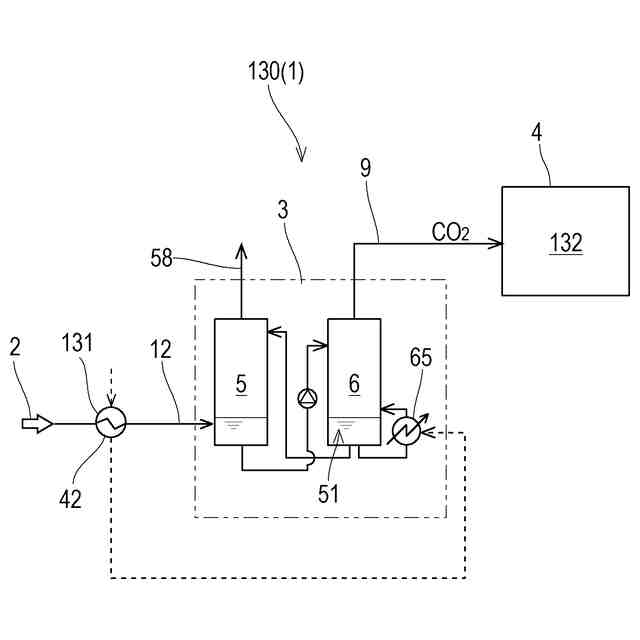
二酸化炭素含有ガスを導入するガス導入口と、吸収液を導入する第1液導入口とを有し、前記二酸化炭素含有ガスに含まれる二酸化炭素を前記吸収液に吸収させることにより、前記二酸化炭素含有ガスから二酸化炭素を分離する吸収塔と、
二酸化炭素を吸収した前記吸収液を導入する第2液導入口と、前記吸収液を加熱する加熱器とを有し、前記吸収液の加熱により前記吸収液から放出された二酸化炭素を回収する再生塔と、
前記吸収液を冷却する熱交換器と、前記吸収液を昇圧する加圧ポンプとを有し、前記吸収塔から前記再生塔へ二酸化炭素を吸収した前記吸収液を送る移送ラインと、
二酸化炭素を利用する二酸化炭素利用設備と、
前記再生塔から前記二酸化炭素利用設備へ二酸化炭素を送る二酸化炭素ラインとを備え、
前記吸収塔の塔内圧力よりも前記再生塔の塔内圧力が高い、
カーボンリサイクルシステム。
続きを表示(約 1,000 文字)
【請求項2】
前記再生塔の塔内圧力は、前記二酸化炭素利用設備への二酸化炭素の供給圧力よりも高い、
請求項1に記載のカーボンリサイクルシステム。
【請求項3】
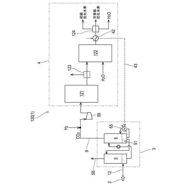
前記二酸化炭素利用設備は発熱反応により反応生成物を生成する反応槽を有し、
前記加熱器は、前記反応槽で生成された前記反応生成物から回収した熱エネルギーで前記吸収液を加熱するように構成されている、
請求項1に記載のカーボンリサイクルシステム。
【請求項4】
前記吸収塔へ供給される前記二酸化炭素含有ガスを冷却する冷却器を備え、
前記加熱器は前記冷却器で前記二酸化炭素含有ガスから回収した熱エネルギーで前記吸収液を加熱するように構成されている、
請求項1に記載のカーボンリサイクルシステム。
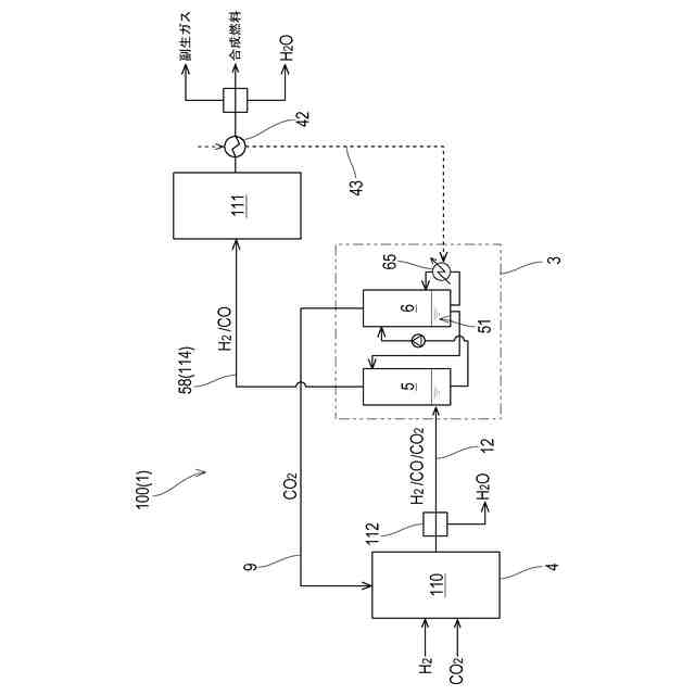
【請求項5】
逆水性ガスシフト反応によって二酸化炭素と水素から一酸化炭素と水を生成する逆シフト反応槽と、
二酸化炭素含有ガスを導入するガス導入口と、吸収液を導入する第1液導入口とを有し、前記二酸化炭素含有ガスに含まれる二酸化炭素を前記吸収液に吸収させることにより、前記二酸化炭素含有ガスから二酸化炭素を分離する吸収塔と、
前記逆シフト反応槽から前記吸収塔へ一酸化炭素、水素、及び二酸化炭素を含有する前記二酸化炭素含有ガスを送る二酸化炭素含有ガスラインと、
二酸化炭素を吸収した前記吸収液を導入する第2液導入口と、前記吸収液を加熱する加熱器とを有し、前記吸収液の加熱により前記吸収液から放出された二酸化炭素を回収する再生塔と、
前記吸収液を冷却する熱交換器と、前記吸収液を昇圧する加圧ポンプとを有し、前記吸収塔から前記再生塔へ二酸化炭素を吸収した前記吸収液を送る移送ラインと、
前記再生塔から前記逆シフト反応槽へ二酸化炭素を送る二酸化炭素ラインと、
FT合成反応によって水素と一酸化炭素を含む合成ガスから合成燃料を合成するFT合成反応槽と、
前記吸収塔で前記二酸化炭素含有ガスから二酸化炭素が取り除かれて水素及び一酸化炭素を含むガスを前記FT合成反応槽へ送る合成ガスラインと、を備え、
前記吸収塔の塔内圧力よりも前記再生塔の塔内圧力が高く、
前記加熱器は、前記FT合成反応槽で合成された前記合成燃料から回収した熱エネルギーで前記吸収液を加熱するように構成されている、
カーボンリサイクルシステム。
発明の詳細な説明
【技術分野】
【0001】
本開示は、二酸化炭素を回収して再利用するカーボンリサイクルシステムに関する。
続きを表示(約 2,400 文字)
【背景技術】
【0002】
化石燃料の利用に伴う二酸化炭素の排出を削減するために、二酸化炭素を炭素資源と捉え、二酸化炭素を回収し、回収した二酸化炭素を素材や燃料などの多様な炭素化合物として再利用する「カーボンリサイクル」が推進されている。
【0003】
二酸化炭素を回収するために、二酸化炭素含有ガスから二酸化炭素を選択的に分離する二酸化炭素分離が行われる。二酸化炭素分離技術は、物理吸収法及び化学吸収法の2つの基本方式に大別される。例えば、特許文献1では、化学吸収法を用いて化学吸収法によって二酸化炭素含有ガスから二酸化炭素を分離し、分離した二酸化炭素を回収するシステムが開示されている。
【0004】
特許文献1に記載の二酸化炭素分離回収システムは、内部の圧力が2×10
5
Pa以上に設定され、アルカリ性化合物を含む吸収液と二酸化炭素含有ガスとを接触させることにより吸収液に二酸化炭素を吸収させる吸収塔と、二酸化炭素を吸収した吸収液を吸収塔から送出する移送ラインと、内部の圧力が5×10
5
Pa以上に設定され、移送ラインから供給された吸収液から二酸化炭素を放出させて吸収液を再生する再生塔と、再生された吸収液を吸収塔に還流する還流路と、を備える。
【先行技術文献】
【特許文献】
【0005】
特開2018-134604号公報
【発明の概要】
【発明が解決しようとする課題】
【0006】
カーボンリサイクルシステムでは、二酸化炭素分離回収設備で二酸化炭素を分離回収し、この二酸化炭素を二酸化炭素利用設備で炭素化合物として再生する。特許文献1のように化学吸収法により二酸化炭素を吸収した吸収液は、加熱されることにより二酸化炭素を放出するが、吸収液の加熱に大量のエネルギーが消費される。また、二酸化炭素分離回収設備で回収された二酸化炭素は二酸化炭素利用設備へ送られるが、二酸化炭素の圧送のためにエネルギーが消費される。このようにカーボンリサイクルシステムの運転はエネルギーを消費するが、消費されるエネルギーの生成に伴う二酸化炭素の排出を抑制する観点から、システム外から投入されるエネルギーを抑えることが好ましい。
【0007】
本開示は以上の事情に鑑みてなされたものであり、二酸化炭素含有ガスから二酸化炭素を回収して再利用するカーボンリサイクルシステムにおいて、システム外からの投入エネルギーを削減することを目的とする。
【課題を解決するための手段】
【0008】
上記課題を解決するために、本開示の一態様に係るカーボンリサイクルシステムは、
二酸化炭素含有ガスを導入するガス導入口と、吸収液を導入する第1液導入口とを有し、前記二酸化炭素含有ガスに含まれる二酸化炭素を前記吸収液に吸収させることにより、前記二酸化炭素含有ガスから二酸化炭素を分離する吸収塔と、
二酸化炭素を吸収した前記吸収液を導入する第2液導入口と、前記吸収液を加熱する加熱器とを有し、前記吸収液の加熱により前記吸収液から放出された二酸化炭素を回収する再生塔と、
前記吸収液を冷却する熱交換器と、前記吸収液を昇圧する加圧ポンプとを有し、前記吸収塔から前記再生塔へ二酸化炭素を吸収した前記吸収液を送る移送ラインと、
二酸化炭素を利用する二酸化炭素利用設備と、
前記再生塔から前記二酸化炭素利用設備へ二酸化炭素を送る二酸化炭素ラインとを備え、
前記吸収塔の塔内圧力よりも前記再生塔の塔内圧力が高いものである。
【0009】
また、本開示の別の一態様に係るカーボンリサイクルシステムは、
逆水性ガスシフト反応によって二酸化炭素と水素から一酸化炭素と水を生成する逆シフト反応槽と、
二酸化炭素含有ガスを導入するガス導入口と、吸収液を導入する第1液導入口とを有し、前記二酸化炭素含有ガスに含まれる二酸化炭素を前記吸収液に吸収させることにより、前記二酸化炭素含有ガスから二酸化炭素を分離する吸収塔と、
前記逆シフト反応槽から前記吸収塔へ一酸化炭素、水素、及び二酸化炭素を含有する前記二酸化炭素含有ガスを送る二酸化炭素含有ガスラインと、
二酸化炭素を吸収した前記吸収液を導入する第2液導入口と、前記吸収液を加熱する加熱器とを有し、前記吸収液の加熱により前記吸収液から放出された二酸化炭素を回収する再生塔と、
前記吸収液を冷却する熱交換器と、前記吸収液を昇圧する加圧ポンプとを有し、前記吸収塔から前記再生塔へ二酸化炭素を吸収した前記吸収液を送る移送ラインと、
前記再生塔から前記逆シフト反応槽へ二酸化炭素を送る二酸化炭素ラインと、
FT合成反応によって水素と一酸化炭素を含む合成ガスから合成燃料を合成するFT合成反応槽と、
前記吸収塔で前記二酸化炭素含有ガスから二酸化炭素が取り除かれて水素及び一酸化炭素を含むガスを前記FT合成反応槽へ送る合成ガスラインと、を備え、
前記吸収塔の塔内圧力よりも前記再生塔の塔内圧力が高く、
前記加熱器は、前記FT合成反応槽で合成された前記合成燃料から回収した熱エネルギーで前記吸収液を加熱するように構成されているものである。
【発明の効果】
【0010】
本開示によれば、二酸化炭素含有ガスから二酸化炭素を回収して再利用するカーボンリサイクルシステムにおいて、システム外からの投入エネルギーを削減できる。
【図面の簡単な説明】
(【0011】以降は省略されています)
この特許をJ-PlatPat(特許庁公式サイト)で参照する
関連特許
川崎重工業株式会社
寝台
2日前
川崎重工業株式会社
圧縮機
今日
川崎重工業株式会社
圧縮機
今日
川崎重工業株式会社
水中構造体
1か月前
川崎重工業株式会社
液化空気保護装置
7日前
川崎重工業株式会社
遠心式ターボ機械
1か月前
川崎重工業株式会社
基板搬送システム
今日
川崎重工業株式会社
ロボットシステム
今日
川崎重工業株式会社
廃棄物処理システム
1か月前
川崎重工業株式会社
バーナおよび燃焼器
1か月前
川崎重工業株式会社
ダイクッション装置
1か月前
川崎重工業株式会社
寝台及び寝台セット
今日
川崎重工業株式会社
多段遠心ターボ機械
1か月前
川崎重工業株式会社
ガスタービンエンジン
1か月前
川崎重工業株式会社
多段ラジアルタービン
28日前
川崎重工業株式会社
航空機の電気機械システム
1か月前
川崎重工業株式会社
カーボンリサイクルシステム
1日前
川崎重工業株式会社
付加製造方法及び付加製造装置
1か月前
川崎重工業株式会社
クローズドインペラの製造方法
1か月前
川崎重工業株式会社
付加製造方法及び付加製造装置
1か月前
川崎重工業株式会社
情報処理装置および情報提供方法
9日前
川崎重工業株式会社
熱交換器の製造方法及び熱交換器
1か月前
横浜ゴム株式会社
多層空洞音響材
28日前
川崎重工業株式会社
可変静翼の制御装置および制御方法
今日
川崎重工業株式会社
船舶用の寝台及び船舶用の寝台セット
今日
川崎重工業株式会社
多段遠心圧縮機および圧縮機システム
1か月前
川崎重工業株式会社
廃棄物処理システムおよび廃棄物用振動装置
1か月前
川崎重工業株式会社
情報処理装置および情報処理装置の制御方法
7日前
川崎重工業株式会社
基板搬送ロボットおよび基板搬送ロボットの制御方法
1か月前
川崎重工業株式会社
二酸化炭素排出システム及び方法、並びに水中航走体
1か月前
川崎重工業株式会社
多段遠心圧縮機のケーシング、及び、多段遠心圧縮機
15日前
川崎重工業株式会社
ロボット
1か月前
川崎重工業株式会社
レーダ反射断面積切換装置及びレーダ反射断面積切換方法
1か月前
川崎重工業株式会社
ロボットシステム
今日
川崎重工業株式会社
モータ制御システム、ロボットシステム、および、モータ制御方法
9日前
川崎重工業株式会社
ヘリウムリーク試験用治具およびそれを用いたヘリウムリーク試験方法
今日
続きを見る
他の特許を見る