TOP
|
特許
|
意匠
|
商標
特許ウォッチ
Twitter
他の特許を見る
公開番号
2025178241
公報種別
公開特許公報(A)
公開日
2025-12-05
出願番号
2025127847,2024083523
出願日
2025-07-31,2024-05-22
発明の名称
ロボットシステム
出願人
川崎重工業株式会社
代理人
弁理士法人前田特許事務所
主分類
H01L
21/677 20060101AFI20251128BHJP(基本的電気素子)
要約
【課題】搬送される基板に関する情報を取得する。
【解決手段】ロボットシステム6は、基板9を保持するハンド3を有しかつ基板を搬送する水平多関節型ロボット2と、ハンドに固定されかつハンドに保持されている基板を撮影するカメラ5と、を備える。
【選択図】図3
特許請求の範囲
【請求項1】
基板を保持するハンドを有しかつ、搬送元において保持した前記基板を、搬送先へ搬送する水平多関節型ロボットと、
前記ハンドに固定されかつ前記ハンドに保持されている前記基板を撮影するカメラと、
を備え、
前記水平多関節型ロボットは、前記カメラの撮影のために、前記搬送元又は前記搬送先において前記基板の搬送を一時的に停止し、
前記カメラは、前記水平多関節型ロボットが前記基板の搬送を一時的に停止している間に、前記基板を撮影する、ロボットシステム。
続きを表示(約 980 文字)
【請求項2】
請求項1に記載のロボットシステムにおいて、
前記水平多関節型ロボットは、前記基板をフープから取り出した直後に、前記基板の搬送を一時的に停止し、
前記カメラは、前記水平多関節型ロボットが前記基板をフープから取り出して前記基板の搬送を一時的に停止している間に、前記基板を撮影する、ロボットシステム。
【請求項3】
請求項1に記載のロボットシステムにおいて、
前記水平多関節型ロボットは、前記基板をアライナにセットする直前、セット中、又はセット直後に、前記基板の搬送を一時的に停止し、
前記カメラは、前記水平多関節型ロボットが前記基板をアライナにセットする直前、セット中、又はセット直後の、前記基板の搬送を一時的に停止している間に、前記基板を撮影する、ロボットシステム。
【請求項4】
請求項1乃至3のいずれか1項に記載のロボットシステムにおいて、
前記カメラの撮影のために前記基板の搬送が停止される箇所に設置された、撮影用の光源をさらに備える、ロボットシステム。
【請求項5】
請求項1に記載のロボットシステムにおいて、
前記カメラは、前記基板の表面を撮影する、ロボットシステム。
【請求項6】
請求項5に記載のロボットシステムにおいて、
前記カメラは、前記基板の表面の全体を撮影する画角を有する、ロボットシステム。
【請求項7】
請求項1、5又は6に記載のロボットシステムにおいて、
前記カメラの撮影データに基づいて、前記基板の色が検出される、ロボットシステム。
【請求項8】
請求項1、5又は6に記載のロボットシステムにおいて、
前記カメラの撮影データに基づいて、前記基板の温度が検出される、ロボットシステム。
【請求項9】
請求項8に記載のロボットシステムにおいて、
前記カメラの撮影データに基づいて、前記基板の表面の温度分布が検出される、ロボットシステム。
【請求項10】
請求項1、5又は6に記載のロボットシステムにおいて、
前記カメラの撮影データに基づいて、前記基板の表面の濡れが検出される、ロボットシステム。
発明の詳細な説明
【技術分野】
【0001】
ここに開示する技術は、ロボットシステムに関する。
続きを表示(約 1,300 文字)
【背景技術】
【0002】
特許文献1には、従来のロボットシステムが記載されている。ロボットシステムは、水平多関節型のロボットを備える。ロボットのハンドは、基板を保持する。ロボットは、ハンドが保持している基板を搬送する。
【0003】
ロボットシステムは、カメラを有する。カメラは、ハンドに固定される。カメラは、基板を保持していない状態において、ハンドを撮影する。コンピュータを含む診断装置は、カメラによって撮影された画像に基づいて、ハンドに変形が生じていることを判断する。
【先行技術文献】
【特許文献】
【0004】
特許第6718352号公報
【発明の概要】
【発明が解決しようとする課題】
【0005】
基板に関する情報は、ロボットを含む基板の搬送システムに利用できる。しかし、従来のシステムは、基板に関する情報を取得できない。
【課題を解決するための手段】
【0006】
ここに開示する技術は、ロボットシステムに係る。ロボットシステムは、
基板を保持するハンドを有しかつ、搬送元において保持した前記基板を、搬送先へ搬送する水平多関節型ロボットと、
前記ハンドに固定されかつ前記ハンドに保持されている前記基板を撮影するカメラと、
を備え、
前記水平多関節型ロボットは、前記カメラの撮影のために、前記搬送元又は前記搬送先において前記基板の搬送を一時的に停止し、
前記カメラは、前記水平多関節型ロボットが前記基板の搬送を一時的に停止している間に、前記基板を撮影する。
【発明の効果】
【0007】
前記のロボットシステムは、カメラが基板の画像を撮影するから、基板に関する情報を取得できる。
【図面の簡単な説明】
【0008】
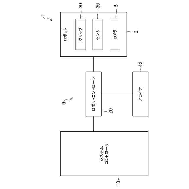
図1は、基板の搬送システムを示す。
図2は、基板の搬送システムのブロック図である。
図3は、ロボットのハンドを示す。
図4は、カメラによって撮影された基板の画像である。
図5は、カメラによって撮影された基板の画像である。
【発明を実施するための形態】
【0009】
以下、ロボットシステムの実施形態について、図面を参照しながら説明する。ここで説明するロボットシステムは例示である。
【0010】
(基板搬送システム)
図1は、基板搬送システム1の平面図である。図2は、基板搬送システム1のブロック図である。基板搬送システム1は、基板9を搬送する。基板9は、半導体ウェハ又はガラス基板である。基板搬送システム1は、例えばEFEM(Equipment Front End Module)である。基板搬送システム1は、例えばソータ(Sorter)である。基板搬送システム1は、例えばストッカ(Stocker)である。ロボットシステム6は、基板搬送システム1に組み込まれる。
(【0011】以降は省略されています)
この特許をJ-PlatPat(特許庁公式サイト)で参照する
関連特許
川崎重工業株式会社
寝台
2日前
川崎重工業株式会社
圧縮機
今日
川崎重工業株式会社
圧縮機
今日
川崎重工業株式会社
水中構造体
1か月前
川崎重工業株式会社
基板搬送システム
今日
川崎重工業株式会社
ロボットシステム
今日
川崎重工業株式会社
液化空気保護装置
7日前
川崎重工業株式会社
遠心式ターボ機械
1か月前
川崎重工業株式会社
ダイクッション装置
1か月前
川崎重工業株式会社
ワーク搬送ロボット
1か月前
川崎重工業株式会社
バーナおよび燃焼器
1か月前
川崎重工業株式会社
廃棄物処理システム
1か月前
川崎重工業株式会社
寝台及び寝台セット
今日
川崎重工業株式会社
多段遠心ターボ機械
1か月前
川崎重工業株式会社
多段ラジアルタービン
28日前
川崎重工業株式会社
ガスタービンエンジン
1か月前
川崎重工業株式会社
航空機の電気機械システム
1か月前
川崎重工業株式会社
カーボンリサイクルシステム
1日前
川崎重工業株式会社
支援システムおよび支援方法
1か月前
川崎重工業株式会社
クローズドインペラの製造方法
1か月前
川崎重工業株式会社
付加製造方法及び付加製造装置
1か月前
川崎重工業株式会社
付加製造方法及び付加製造装置
1か月前
川崎重工業株式会社
経路作成方法及び経路作成装置
1か月前
川崎重工業株式会社
情報処理装置および情報提供方法
9日前
川崎重工業株式会社
熱交換器の製造方法及び熱交換器
1か月前
横浜ゴム株式会社
多層空洞音響材
28日前
川崎重工業株式会社
可変静翼の制御装置および制御方法
今日
川崎重工業株式会社
手術支援システムおよび手術支援方法
1か月前
川崎重工業株式会社
船舶用の寝台及び船舶用の寝台セット
今日
川崎重工業株式会社
多段遠心圧縮機および圧縮機システム
1か月前
川崎重工業株式会社
ロボットハンドおよびロボットシステム
1か月前
川崎重工業株式会社
廃棄物処理システムおよび廃棄物用振動装置
1か月前
川崎重工業株式会社
情報処理装置および情報処理装置の制御方法
7日前
川崎重工業株式会社
ワーク搬送ロボットおよびロボット制御方法
1か月前
川崎重工業株式会社
ポペット弁装置、及びそれを備える液圧駆動システム
1か月前
川崎重工業株式会社
手術支援システム、手術支援方法および情報提供方法
1か月前
続きを見る
他の特許を見る