TOP
|
特許
|
意匠
|
商標
特許ウォッチ
Twitter
他の特許を見る
公開番号
2025175970
公報種別
公開特許公報(A)
公開日
2025-12-03
出願番号
2025082528
出願日
2025-05-16
発明の名称
寝台
出願人
川崎重工業株式会社
代理人
弁理士法人有古特許事務所
主分類
B63B
29/10 20060101AFI20251126BHJP(船舶またはその他の水上浮揚構造物;関連艤装品)
要約
【課題】プライベート感を向上させることができる寝台を提供する。
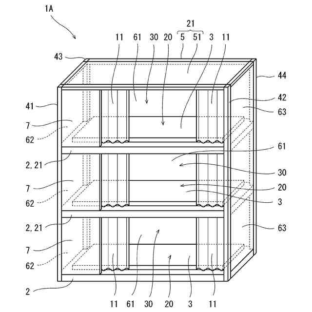
【解決手段】一実施形態に係る寝台1Aは、支持台2と、就寝スペース30を挟んで支持台2と対向する天井壁21と、天井壁21を支持する一対の正面側支柱41,42および一対の背面側支柱43,44と、背面側支柱43,44の間で就寝スペース30に面する背面壁61と、正面側支柱41,42と背面側支柱43,44との間で就寝スペース30に面する一対の側面壁62,63を含む。さらに、寝台1Aは、正面側支柱41,42の一方に隣接する位置で支持台2と天井壁21の間を閉塞し、正面側支柱41,42の他方との間に開口20を形成するサイドボード7を含む。
【選択図】図1
特許請求の範囲
【請求項1】
船舶に搭載される寝台であって、
支持台と、
就寝スペースを挟んで前記支持台と対向する天井壁と、
前記天井壁を支持する一対の正面側支柱および一対の背面側支柱と、
前記一対の背面側支柱の間で前記就寝スペースに面する背面壁と、
前記一対の正面側支柱と前記一対の背面側支柱との間で前記就寝スペースに面する一対の側面壁と、
前記一対の正面側支柱の一方に隣接する位置で前記支持台と前記天井壁の間を閉塞し、前記一対の正面側支柱の他方との間に開口を形成するサイドボードと、
を備える、寝台。
続きを表示(約 970 文字)
【請求項2】
前記サイドボードは前記一対の正面側支柱のうちの頭部側の正面側支柱に隣接し、
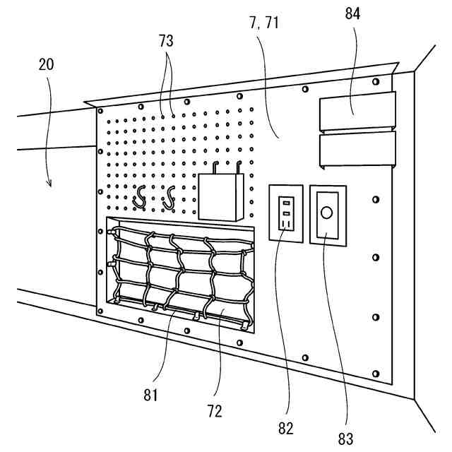
前記サイドボードは中空であり、当該サイドボードの内部空間を前記就寝スペースと連通させる複数の孔を有する、請求項1に記載の寝台。
【請求項3】
前記サイドボードは前記一対の正面側支柱のうちの頭部側の正面側支柱に隣接し、
前記サイドボードの前記就寝スペースに面する内側面には窪みが形成され、前記窪みに収納用ネットが取り付けられている、請求項1または2に記載の寝台。
【請求項4】
前記サイドボードは前記一対の正面側支柱のうちの頭部側の正面側支柱に隣接し、
前記サイドボードの前記就寝スペースに面する内側面にはコンセントが取り付けられている、請求項1または2に記載の寝台。
【請求項5】
前記サイドボードは前記一対の正面側支柱のうちの頭部側の正面側支柱に隣接し、
前記サイドボードの前記就寝スペースに面する内側面には照明および前記照明用のスイッチが取り付けられている、請求項1または2に記載の寝台。
【請求項6】
前記支持台は前記就寝スペースが複数段並ぶように複数段で設けられており、最下段以外の支持台が前記天井壁の役割を果たし、
前記サイドボードは前記一対の正面側支柱のうちの足元側の正面側支柱に隣接し、
最上段の就寝スペースに面するサイドボード以外のサイドボードでは、前記サイドボードの前記就寝スペースと反対側を向く外側面に、前記サイドボードと平行な縦向き姿勢と前記サイドボードと垂直な横向き姿勢との間で揺動可能となるようにステップが取り付けられている、請求項1に記載の寝台。
【請求項7】
前記外側面には窪みが形成され、前記窪みに前記縦向き姿勢の前記ステップが収容される、請求項6に記載の寝台。
【請求項8】
前記サイドボードは前記一対の正面側支柱のうちの足元側の正面側支柱に隣接し、
前記サイドボードの前記就寝スペースに面する内側面と前記背面壁との間に設けられ、前記内側面、前記背面壁、および前記側面壁の少なくともいずれか一面に支持された棚をさらに備える、請求項1に記載の寝台。
発明の詳細な説明
【技術分野】
【0001】
本開示は、船舶に搭載される寝台に関する。
続きを表示(約 1,100 文字)
【背景技術】
【0002】
従来から、船舶に寝台が搭載されている。このような寝台では、支持台によってマットレスなどの寝具が支持される。
【0003】
例えば、特許文献1には、支持台の上方の就寝スペースが背面壁、一対の側面壁および天井壁で囲まれ、正面側に開口を有する寝台が開示されている。なお、特許文献1では、支持台が寝台底板、背面壁が奥側壁板、一対の側面壁が前側壁板および後側壁板と呼ばれている。また、特許文献1の寝台では、正面側の開口の頭部側および足元側に、就寝スペースよりも高さの低い転落防止板が配置されている。
【先行技術文献】
【特許文献】
【0004】
特開平11-301577号公報
【発明の概要】
【発明が解決しようとする課題】
【0005】
特許文献1のような寝台では、正面側の開口の長さが就寝スペースの長さと等しいために、プライベート感を向上させることが望まれる。
【0006】
そこで、本開示は、プライベート感を向上させることができる寝台を提供することを目的とする。
【課題を解決するための手段】
【0007】
本開示は、船舶に搭載される寝台であって、支持台と、就寝スペースを挟んで前記支持台と対向する天井壁と、前記天井壁を支持する一対の正面側支柱および一対の背面側支柱と、前記一対の背面側支柱の間で前記就寝スペースに面する背面壁と、前記一対の正面側支柱と前記一対の背面側支柱との間で前記就寝スペースに面する一対の側面壁と、前記一対の正面側支柱の一方に隣接する位置で前記支持台と前記天井壁の間を閉塞し、前記一対の正面側支柱の他方との間に開口を形成するサイドボードと、を備える、寝台を提供する。
【発明の効果】
【0008】
本開示によれば、プライベート感を向上させることができる寝台が提供される。
【図面の簡単な説明】
【0009】
第1実施形態に係る寝台の斜視図である。
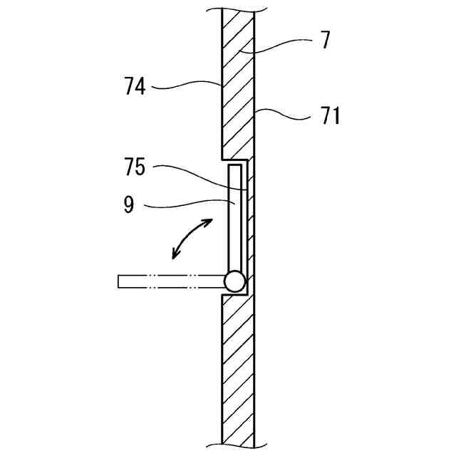
一つのサイドボードを内側から見た図である。
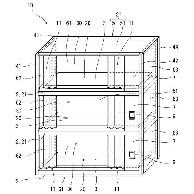
第2実施形態に係る寝台の斜視図である。
一つのサイドボードの断面図である。
【発明を実施するための形態】
【0010】
<第1実施形態>
図1に、第1実施形態に係る、船舶に搭載される寝台1Aを示す。寝台1Aは、マットレスなどの寝具3を支持する支持台2と、就寝スペース30を挟んで支持台2と対向する天井壁21と、支持台2の四隅で天井壁21を支持する一対の正面側支柱41,42および一対の背面側支柱43,44を含む。
(【0011】以降は省略されています)
この特許をJ-PlatPat(特許庁公式サイト)で参照する
関連特許
川崎重工業株式会社
寝台
3日前
川崎重工業株式会社
圧縮機
1日前
川崎重工業株式会社
圧縮機
1日前
川崎重工業株式会社
水中構造体
1か月前
川崎重工業株式会社
液化空気保護装置
8日前
川崎重工業株式会社
基板搬送システム
1日前
川崎重工業株式会社
ロボットシステム
1日前
川崎重工業株式会社
遠心式ターボ機械
1か月前
川崎重工業株式会社
ワーク搬送ロボット
1か月前
川崎重工業株式会社
廃棄物処理システム
1か月前
川崎重工業株式会社
多段遠心ターボ機械
1か月前
川崎重工業株式会社
バーナおよび燃焼器
1か月前
川崎重工業株式会社
寝台及び寝台セット
1日前
川崎重工業株式会社
ダイクッション装置
1か月前
川崎重工業株式会社
ガスタービンエンジン
1か月前
川崎重工業株式会社
多段ラジアルタービン
29日前
川崎重工業株式会社
航空機の電気機械システム
1か月前
川崎重工業株式会社
カーボンリサイクルシステム
2日前
川崎重工業株式会社
クローズドインペラの製造方法
1か月前
川崎重工業株式会社
付加製造方法及び付加製造装置
1か月前
川崎重工業株式会社
付加製造方法及び付加製造装置
1か月前
川崎重工業株式会社
情報処理装置および情報提供方法
10日前
川崎重工業株式会社
熱交換器の製造方法及び熱交換器
1か月前
横浜ゴム株式会社
多層空洞音響材
29日前
川崎重工業株式会社
可変静翼の制御装置および制御方法
1日前
川崎重工業株式会社
多段遠心圧縮機および圧縮機システム
1か月前
川崎重工業株式会社
船舶用の寝台及び船舶用の寝台セット
1日前
川崎重工業株式会社
ロボットハンドおよびロボットシステム
1か月前
川崎重工業株式会社
廃棄物処理システムおよび廃棄物用振動装置
1か月前
川崎重工業株式会社
情報処理装置および情報処理装置の制御方法
8日前
川崎重工業株式会社
ワーク搬送ロボットおよびロボット制御方法
1か月前
川崎重工業株式会社
基板搬送ロボットおよび基板搬送ロボットの制御方法
1か月前
川崎重工業株式会社
二酸化炭素排出システム及び方法、並びに水中航走体
1か月前
川崎重工業株式会社
多段遠心圧縮機のケーシング、及び、多段遠心圧縮機
16日前
川崎重工業株式会社
ポペット弁装置、及びそれを備える液圧駆動システム
1か月前
川崎重工業株式会社
ロボット
1か月前
続きを見る
他の特許を見る