TOP
|
特許
|
意匠
|
商標
特許ウォッチ
Twitter
他の特許を見る
公開番号
2025177460
公報種別
公開特許公報(A)
公開日
2025-12-05
出願番号
2024084313
出願日
2024-05-23
発明の名称
圧縮機
出願人
川崎重工業株式会社
,
株式会社スギノマシン
代理人
主分類
F04B
39/12 20060101AFI20251128BHJP(液体用容積形機械;液体または圧縮性流体用ポンプ)
要約
【課題】
流体との接触による劣化が懸念される場合においても、劣化を抑制しながらコストダウンが可能な圧縮機の提供。
【解決手段】
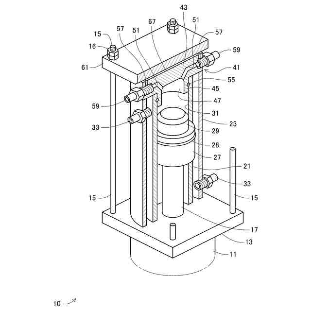
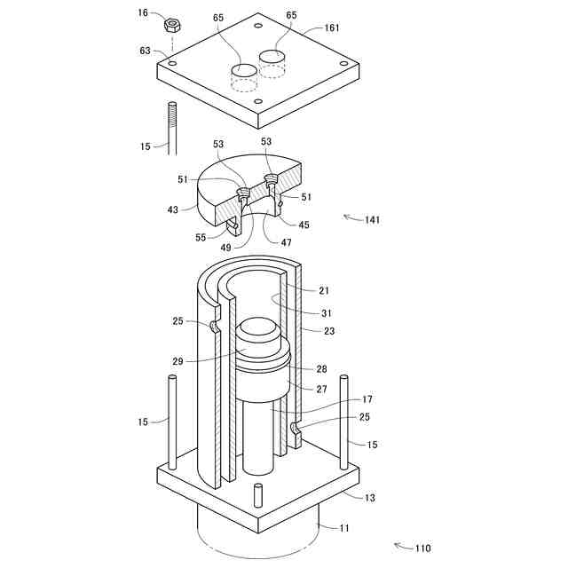
シリンダ室31を有するシリンダ21と、シリンダ21の内部を往復するピストン27と、シリンダ21の一端面を塞ぐヘッドカバー41と、ヘッドカバー押え61と、緊結具15と、を有する。ヘッドカバー押え61は、ヘッドカバー41を基準としてシリンダ21の反対側に配置する。緊結具15は、ヘッドカバー押え61とシリンダ21を連結し、ヘッドカバー41をシリンダ21に向けて付勢する。ヘッドカバー押え61により、ヘッドカバー41が小型化され、劣化を抑制しながらコストダウンが可能である。
【選択図】 図1
特許請求の範囲
【請求項1】
シリンダ室を有するシリンダと、
前記シリンダの内部を往復するピストンと、
前記シリンダの一端面を塞ぐヘッドカバーと、
前記ヘッドカバーを基準として前記シリンダの反対側に配置されるヘッドカバー押えと、
前記ヘッドカバー押えと前記シリンダを連結し、前記ヘッドカバー押え及び前記ヘッドカバーを前記シリンダに向けて付勢する緊結具と、
を備える圧縮機。
続きを表示(約 480 文字)
【請求項2】
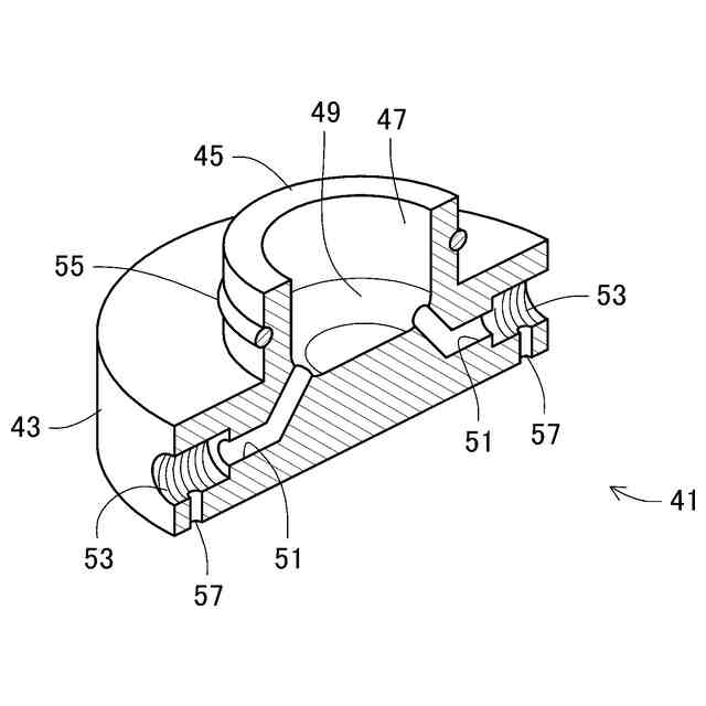
前記ヘッドカバーは、前記シリンダ室で圧縮される流体の吸入及び排出を担う流路を有する、請求項1に記載の圧縮機。
【請求項3】
前記ヘッドカバーにおいて、前記シリンダ室に開口する面には、前記ピストンから遠ざかる方向に陥没した凹部を有する、請求項1又は2に記載の圧縮機。
【請求項4】
前記ピストンには、前記凹部に嵌まり込む凸部を有する、請求項3に記載の圧縮機。
【請求項5】
前記凹部の底面外縁には、フィレットを有する、請求項3又は4に記載の圧縮機。
【請求項6】
前記流路の一端側は、前記フィレットの表面に開口している、請求項5に記載の圧縮機。
【請求項7】
前記流路において、前記シリンダ室から離れた方の端部には、接続口を有し、
前記ヘッドカバーには、前記接続口の内周面から前記ヘッドカバー押えに向けて延伸する排気穴を有し、
前記ヘッドカバー押えには、前記排気穴を外部に連通させる逃げ溝を有する、請求項2~6のいずれか一項に記載の圧縮機。
発明の詳細な説明
【技術分野】
【0001】
本発明は、水素などの流体を加圧する際に使用する圧縮機に関する。
続きを表示(約 1,200 文字)
【背景技術】
【0002】
シリンダの端面がブロックで塞がれており、ブロックの内部には、吸入弁と吐出弁を有し、ブロックを挟んで圧縮室の反対側にガスの出入口を有する往復動コンプレッサが提案されている(特許文献1)。
【先行技術文献】
【特許文献】
【0003】
特開2006-52709号公報
【発明の概要】
【発明が解決しようとする課題】
【0004】
特許文献1のように、ブロックの内部に流体の流路を形成することで、流体との接触によってブロックの劣化が促進される恐れがある。特に流体が水素の場合、水素脆化を考慮する必要がある。水素脆化に対応するため、ブロックの素材については、SUH660などの耐熱鋼の使用が適している。このような耐熱鋼は高価であるほか、加工が困難であり、圧縮機のコストアップの要因になる。
【0005】
ブロックにおいて、流体との接触面は高圧に晒される。この接触面で応力集中を生じやすい箇所があれば、そこを起点としてブロックが破損する恐れがある。
本発明は、流体との接触による劣化が懸念される場合においても、劣化を抑制しながらコストダウンが可能な圧縮機を提供する。
【課題を解決するための手段】
【0006】
本発明の第1の観点は、
シリンダ室を有するシリンダと、
前記シリンダの内部を往復するピストンと、
前記シリンダの一端面を塞ぐヘッドカバーと、
前記ヘッドカバーを基準として前記シリンダの反対側に配置されるヘッドカバー押えと、
前記ヘッドカバー押えと前記シリンダを連結し、前記ヘッドカバー押え及び前記ヘッドカバーを前記シリンダに向けて付勢する緊結具と、
を備える圧縮機である。
【0007】
シリンダ室は、流体の圧縮を行う空間である。ヘッドカバーの中心部分は、シリンダの内部に嵌まり込む構成とすることもできる。ピストンの駆動方法は自在であり、油圧シリンダや電動機などから選択する。
【0008】
ヘッドカバー押えは、ヘッドカバーを基準としてシリンダの反対側に配置される。ヘッドカバー押えは、シリンダと接触しなくても良い。ヘッドカバー押えとヘッドカバーは、隣接する場合がある。ヘッドカバー押えとヘッドカバーの間には、何らかの介在物を挟み込む場合もある。
【0009】
緊結具は、ヘッドカバー押えと接続し、ヘッドカバー押えをシリンダに向けて付勢する。ヘッドカバーは、ヘッドカバー押えに押圧され、シリンダに密着する。緊結具は、例えばタイロッドである。タイロッドは、その端部をヘッドカバー押えに差し込む。
【0010】
ヘッドカバーは、シリンダ室で圧縮される流体の吸入及び排出を担う流路を有していても良い。
(【0011】以降は省略されています)
この特許をJ-PlatPat(特許庁公式サイト)で参照する
関連特許
川崎重工業株式会社
寝台
2日前
川崎重工業株式会社
圧縮機
今日
川崎重工業株式会社
圧縮機
今日
川崎重工業株式会社
断熱配管
1か月前
川崎重工業株式会社
水中構造体
1か月前
川崎重工業株式会社
液化空気保護装置
7日前
川崎重工業株式会社
遠心式ターボ機械
1か月前
川崎重工業株式会社
基板搬送システム
今日
川崎重工業株式会社
ロボットシステム
今日
川崎重工業株式会社
バーナおよび燃焼器
1か月前
川崎重工業株式会社
ダイクッション装置
1か月前
川崎重工業株式会社
多段遠心ターボ機械
1か月前
川崎重工業株式会社
寝台及び寝台セット
今日
川崎重工業株式会社
廃棄物処理システム
1か月前
川崎重工業株式会社
ワーク搬送ロボット
1か月前
川崎重工業株式会社
多段ラジアルタービン
28日前
川崎重工業株式会社
ガスタービンエンジン
1か月前
川崎重工業株式会社
航空機の電気機械システム
1か月前
川崎重工業株式会社
支援システムおよび支援方法
1か月前
川崎重工業株式会社
カーボンリサイクルシステム
1日前
川崎重工業株式会社
付加製造方法及び付加製造装置
1か月前
川崎重工業株式会社
経路作成方法及び経路作成装置
1か月前
川崎重工業株式会社
クローズドインペラの製造方法
1か月前
川崎重工業株式会社
付加製造方法及び付加製造装置
1か月前
川崎重工業株式会社
熱交換器の製造方法及び熱交換器
1か月前
川崎重工業株式会社
情報処理装置および情報提供方法
9日前
川崎重工業株式会社
アンモニア回収システム及び方法
1か月前
川崎重工業株式会社
可変静翼の制御装置および制御方法
今日
横浜ゴム株式会社
多層空洞音響材
28日前
川崎重工業株式会社
多段遠心圧縮機および圧縮機システム
1か月前
川崎重工業株式会社
手術支援システムおよび手術支援方法
1か月前
川崎重工業株式会社
船舶用の寝台及び船舶用の寝台セット
今日
川崎重工業株式会社
ロボットハンドおよびロボットシステム
1か月前
川崎重工業株式会社
廃棄物処理システムおよび廃棄物用振動装置
1か月前
川崎重工業株式会社
情報処理装置および情報処理装置の制御方法
7日前
川崎重工業株式会社
ワーク搬送ロボットおよびロボット制御方法
1か月前
続きを見る
他の特許を見る