TOP
|
特許
|
意匠
|
商標
特許ウォッチ
Twitter
他の特許を見る
公開番号
2025177648
公報種別
公開特許公報(A)
公開日
2025-12-05
出願番号
2024084676
出願日
2024-05-24
発明の名称
ヘリウムリーク試験用治具およびそれを用いたヘリウムリーク試験方法
出願人
川崎重工業株式会社
代理人
弁理士法人有古特許事務所
主分類
G01M
3/20 20060101AFI20251128BHJP(測定;試験)
要約
【課題】ヘリウムを用いたリーク試験においてヘリウムの使用量を削減することができるヘリウムリーク試験用治具およびそれを用いたヘリウムリーク試験方法を提供する。
【解決手段】ヘリウムリーク試験用治具は、プレートと、プレートの第1面における所定の第1領域の周囲を取り囲むように、第1面から突出して配置される第1シールと、プレートの第1面において第1領域を取り囲むように設定された所定の第2領域の周囲を取り囲むように、第1面から突出して配置される第2シールと、を備え、試験対象物の表面に第1シールおよび第2シールが当接した状態において、プレートの第1領域と第1シールの内側面と試験対象物の表面とで区画される空間が、ヘリウムガスが供給される加圧空間として構成され、プレートの第2領域と第1シールの外側面と第2シールの内側面と試験対象物の表面とで区画される空間が、試験対象物に密着させる減圧空間として構成される。
【選択図】図3
特許請求の範囲
【請求項1】
プレートと、
前記プレートの第1面における所定の第1領域の周囲を取り囲むように、前記第1面から突出して配置される第1シールと、
前記プレートの前記第1面において前記第1領域を取り囲むように設定された所定の第2領域の周囲を取り囲むように、前記第1面から突出して配置される第2シールと、を備え、
試験対象物の表面に前記第1シールおよび前記第2シールが当接した状態において、前記プレートの前記第1領域と前記第1シールの内側面と前記試験対象物の表面とで区画される空間が、ヘリウムガスが供給される加圧空間として構成されるとともに、前記プレートの前記第2領域と前記第1シールの外側面と前記第2シールの内側面と前記試験対象物の表面とで区画される空間が、前記プレートを前記第1シールおよび前記第2シールを介して前記試験対象物に密着させる減圧空間として構成される、ヘリウムリーク試験用治具。
続きを表示(約 1,300 文字)
【請求項2】
前記第1シールは、突出方向先端部が平面である、請求項1に記載のヘリウムリーク試験用治具。
【請求項3】
前記プレートは、
前記第1領域において、前記第1面と、前記第1面とは反対側の第2面とを貫通し、前記第2面側から前記加圧空間にヘリウムガスを供給し、前記加圧空間を加圧する加圧源を前記第2面側に接続するための第1孔と、
前記第2領域において、前記第1面と前記第2面とを貫通し、前記減圧空間を減圧する減圧源を前記第2面側に接続するための第2孔と、を有する、請求項1または2に記載のヘリウムリーク試験用治具。
【請求項4】
前記プレートは、前記第1シールの外側において前記第1面から突出された外側第1シールガイドを有し、
前記第1シールおよび前記第2シールは、前記外側第1シールガイドの端面より突出している、請求項1または2に記載のヘリウムリーク試験用治具。
【請求項5】
前記プレートは、前記第2シールの内側において前記第1面から突出された内側第2シールガイドを有し、
前記第1シールおよび前記第2シールは、前記内側第2シールガイドの端面より突出している、請求項1または2に記載のヘリウムリーク試験用治具。
【請求項6】
前記プレートは、前記第1領域において、前記第1面と前記第2面とを貫通し、前記第2面側に第1圧力計が接続される第3孔を有する、請求項3に記載のヘリウムリーク試験用治具。
【請求項7】
前記プレートは、前記第2領域において、前記第1面と前記第2面とを貫通し、前記第2面側に第2圧力計が接続される第4孔を有する、請求項3に記載のヘリウムリーク試験用治具。
【請求項8】
溶接部を有する試験対象物の前記溶接部に、許容できない漏れがあるかどうかの試験を行うヘリウムリーク試験方法であって、
プレートと、前記プレートの第1面における所定の第1領域の周囲を取り囲むように、前記第1面から突出して配置される第1シールと、前記プレートの前記第1面において前記第1領域を取り囲むように設定された所定の第2領域の周囲を取り囲むように、前記第1面から突出して配置される第2シールと、を備えた試験用治具を、前記第1領域に対向する位置に前記試験対象物の前記溶接部が位置するように、前記第1シールおよび前記第2シールを試験対象物の表面に当接させることによって設置し、
前記プレートの前記第2領域と前記第1シールの外側面と前記第2シールの内側面と前記試験対象物の表面とで区画される減圧空間内の空気を吸引して前記試験用治具を前記試験対象物に密着させ、
前記試験用治具が前記試験対象物に密着した状態で前記プレートの前記第1領域と前記第1シールの内側面と前記試験対象物の表面とで区画される加圧空間にヘリウムガスを供給することにより前記加圧空間を加圧し、
前記試験対象物の裏面側にヘリウムガスを検出するヘリウム検出器を近づけて前記ヘリウムガスの検出量により前記試験対象物の前記加圧空間に面する領域のリーク試験を行う、ヘリウムリーク試験方法。
発明の詳細な説明
【技術分野】
【0001】
本開示は、ヘリウムリーク試験用治具およびそれを用いたヘリウムリーク試験方法に関する。
続きを表示(約 2,000 文字)
【背景技術】
【0002】
溶接箇所等のリーク試験を行うためにヘリウムを用いたリーク試験方法が知られている。例えば、液化水素タンク等の貯留タンクに対するリーク試験では、タンク内部をヘリウムガスで満たすことで加圧し、タンク外表面に向けてタンク内から漏れ出たヘリウムガスを検出する検出器を近づけることにより、リーク試験を行うスニッファー法が採用されている。
【0003】
また、下記特許文献1には、エンジンのシリンダブロック等のワークに対するリーク試験のためにプレートとシールゴムとを含む治具を用いた例が示されている。このような治具を用いることにより、ワークの内部にヘリウムガスを満たす密閉空間がなくても密閉空間を作ることができる。
【先行技術文献】
【特許文献】
【0004】
特開2019-219216号公報
【発明の概要】
【発明が解決しようとする課題】
【0005】
しかし、従来のスニッファー法においては、タンク内部等の密閉空間に充満させるヘリウムの量が多くなる問題がある。ヘリウムは入手が難しく、高価である。上記特許文献1のような治具を用いたリーク試験においても、密閉空間の容積がワークの形状に依存するため、ヘリウムの使用量を削減することについて改善の余地がある。
【0006】
そこで、本開示は、ヘリウムを用いたリーク試験においてヘリウムの使用量を削減することができるヘリウムリーク試験用治具およびそれを用いたヘリウムリーク試験方法を提供することを目的とする。
【課題を解決するための手段】
【0007】
本開示の一態様に係るヘリウムリーク試験用治具は、プレートと、前記プレートの第1面における所定の第1領域の周囲を取り囲むように、前記第1面から突出して配置される第1シールと、前記プレートの前記第1面において前記第1領域を取り囲むように設定された所定の第2領域の周囲を取り囲むように、前記第1面から突出して配置される第2シールと、を備え、試験対象物の表面に前記第1シールおよび前記第2シールが当接した状態において、前記プレートの前記第1領域と前記第1シールの内側面と前記試験対象物の表面とで区画される空間が、ヘリウムガスが供給される加圧空間として構成されるとともに、前記プレートの前記第2領域と前記第1シールの外側面と前記第2シールの内側面と前記試験対象物の表面とで区画される空間が、前記プレートを前記第1シールおよび前記第2シールを介して前記試験対象物に密着させる減圧空間として構成される。
【0008】
本開示の他の態様に係るヘリウムリーク試験方法は、溶接部を有する試験対象物の前記溶接部に、許容できない漏れがあるかどうかの試験を行うヘリウムリーク試験方法であって、プレートと、前記プレートの第1面における所定の第1領域の周囲を取り囲むように、前記第1面から突出して配置される第1シールと、前記プレートの前記第1面において前記第1領域を取り囲むように設定された所定の第2領域の周囲を取り囲むように、前記第1面から突出して配置される第2シールと、を備えた試験用治具を、前記第1領域に対向する位置に前記試験対象物の前記溶接部が位置するように、前記第1シールおよび前記第2シールが試験対象物の表面に当接させることによって設置し、前記プレートの前記第2領域と前記第1シールの外側面と前記第2シールの内側面と前記試験対象物の表面とで区画される減圧空間内の空気を吸引して前記試験用治具を前記試験対象物に密着させ、前記プレートの前記第1領域と前記第1シールの内側面と前記試験対象物の表面とで区画される加圧空間にヘリウムガスを供給することにより前記加圧空間を加圧し、前記試験対象物の裏面側にヘリウムガスを検出するヘリウム検出器を近づけて前記ヘリウムガスの検出量により前記試験対象物の前記加圧空間に面する領域のリーク試験を行う。
【発明の効果】
【0009】
本開示によれば、ヘリウムを用いたリーク試験においてヘリウムの使用量を削減することができる。
【図面の簡単な説明】
【0010】
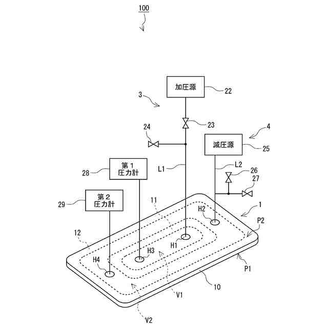
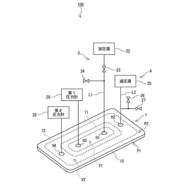
図1は、本開示の一実施の形態に係るヘリウムリーク試験方法に使用する試験用治具の概略構成を示す図である。
図2は、図1に示す試験用治具のII-II断面図を示す図である。
図3は、図1に示す試験用治具を用いたヘリウムリーク試験システムの概略構成を示す図である。
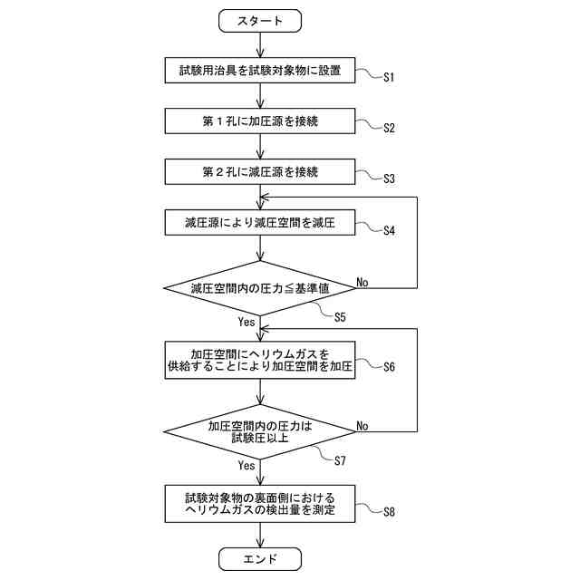
図4は、図3に示すヘリウムリーク試験システムを用いたヘリウムリーク試験の手順を示すフローチャートである。
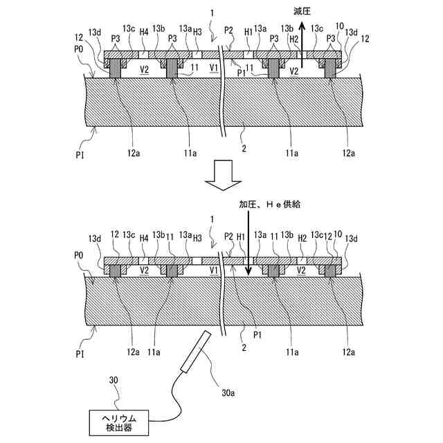
図5は、図2に示す試験用治具の減圧前後の様子を示す図である。
【発明を実施するための形態】
(【0011】以降は省略されています)
この特許をJ-PlatPat(特許庁公式サイト)で参照する
関連特許
川崎重工業株式会社
寝台
3日前
川崎重工業株式会社
圧縮機
1日前
川崎重工業株式会社
圧縮機
1日前
川崎重工業株式会社
水中構造体
1か月前
川崎重工業株式会社
液化空気保護装置
8日前
川崎重工業株式会社
基板搬送システム
1日前
川崎重工業株式会社
ロボットシステム
1日前
川崎重工業株式会社
遠心式ターボ機械
1か月前
川崎重工業株式会社
多段遠心ターボ機械
1か月前
川崎重工業株式会社
バーナおよび燃焼器
1か月前
川崎重工業株式会社
ダイクッション装置
1か月前
川崎重工業株式会社
寝台及び寝台セット
1日前
川崎重工業株式会社
ガスタービンエンジン
1か月前
川崎重工業株式会社
多段ラジアルタービン
29日前
川崎重工業株式会社
航空機の電気機械システム
1か月前
川崎重工業株式会社
カーボンリサイクルシステム
2日前
川崎重工業株式会社
付加製造方法及び付加製造装置
1か月前
川崎重工業株式会社
付加製造方法及び付加製造装置
1か月前
川崎重工業株式会社
クローズドインペラの製造方法
1か月前
川崎重工業株式会社
熱交換器の製造方法及び熱交換器
1か月前
川崎重工業株式会社
情報処理装置および情報提供方法
10日前
川崎重工業株式会社
可変静翼の制御装置および制御方法
1日前
横浜ゴム株式会社
多層空洞音響材
29日前
川崎重工業株式会社
多段遠心圧縮機および圧縮機システム
1か月前
川崎重工業株式会社
船舶用の寝台及び船舶用の寝台セット
1日前
川崎重工業株式会社
廃棄物処理システムおよび廃棄物用振動装置
1か月前
川崎重工業株式会社
情報処理装置および情報処理装置の制御方法
8日前
川崎重工業株式会社
基板搬送ロボットおよび基板搬送ロボットの制御方法
1か月前
川崎重工業株式会社
二酸化炭素排出システム及び方法、並びに水中航走体
1か月前
川崎重工業株式会社
多段遠心圧縮機のケーシング、及び、多段遠心圧縮機
16日前
川崎重工業株式会社
ロボット
1か月前
川崎重工業株式会社
レーダ反射断面積切換装置及びレーダ反射断面積切換方法
1か月前
川崎重工業株式会社
ロボットシステム
1日前
川崎重工業株式会社
モータ制御システム、ロボットシステム、および、モータ制御方法
10日前
川崎重工業株式会社
ロボット移動システム、ロボット移動方法及びロボット移動プログラム
9日前
川崎重工業株式会社
ヘリウムリーク試験用治具およびそれを用いたヘリウムリーク試験方法
1日前
続きを見る
他の特許を見る