TOP
|
特許
|
意匠
|
商標
特許ウォッチ
Twitter
他の特許を見る
公開番号
2025161792
公報種別
公開特許公報(A)
公開日
2025-10-24
出願番号
2025065178
出願日
2025-04-10
発明の名称
遠心ポンプ
出願人
古河産機システムズ株式会社
代理人
個人
,
個人
,
個人
主分類
F04D
29/62 20060101AFI20251017BHJP(液体用容積形機械;液体または圧縮性流体用ポンプ)
要約
【課題】シムによる調整を不要とするとともに、インペラクリアランスを容易に調整する。
【解決手段】遠心ポンプ1は、シャフト20と一体でシャフト前後の軸受ユニット41,42が軸方向にスライド移動するクリアランス調整部90を備える。クリアランス調整部90は、フレーム50の後部に軸方向にスライド移動可能に内嵌されるとともにシャフト20の後部の軸受ユニット42が内装される軸受ハウジング40を有する。軸受ハウジング40は、自身側方に張出する調整腕44の位置でインペラクリアランスの調整およびその位置保持が可能とされるとともに、自身のスライド移動を補助する押しばね96が、フレーム50側の対向面57に当接して自身軸方向に押圧力を付与するように装着される。
【選択図】図2
特許請求の範囲
【請求項1】
シャフトを回転自在に支持するフレームと、該フレームの前面に固定されるケーシングと、該ケーシング内に収容されるとともに前記シャフトの先端に同軸に設けられるインペラとを備え、前記シャフトの駆動により前記ケーシング内で前記インペラが回転することにより、前記ケーシングに形成された吸込口から吐出口に流体を送る遠心ポンプであって、
前記シャフトと一体でシャフト前後の軸受ユニットを軸方向にスライド移動可能に構成されて、前記ケーシングの内面と前記インペラの羽根の前縁部との対向隙間であるインペラクリアランスを調整するクリアランス調整部を備え、
前記クリアランス調整部は、前記フレームの前部若しくは後部に軸方向にスライド移動可能に内嵌されるとともに前記シャフトの後部の軸受ユニットが内装される軸受ハウジングを有し、
前記軸受ハウジングは、自身側方に張出する調整腕の位置で前記インペラクリアランスの調整およびその位置保持が可能とされるとともに、自身のスライド移動を補助する押しばねが前記フレーム側の対向面に当接して自身軸方向に押圧力を付与するように装着されている、ことを特徴とする遠心ポンプ。
続きを表示(約 570 文字)
【請求項2】
前記押しばねに対し、前記フレーム側の対向面とは軸方向の反対側に、前記押しばねの固定ねじが同軸に装着されて前記押しばねの軸方向のたわみ量を規制している請求項1に記載の遠心ポンプ。
【請求項3】
前記固定ねじおよび前記押しばねを取り外し、これらに替えて、押しボルトを前記フレーム側の対向面とは軸方向の反対側からねじ込むことによって、該押しボルトの先端で前記フレーム側の対向面を押圧可能になっている請求項2に記載の遠心ポンプ。
【請求項4】
前記軸受ハウジングは、前記シャフトの後部を支持する後部軸受ユニットが内装されるとともに軸方向にスライド移動可能なインロー嵌合で前記フレームの後部に支持されており、
前記調整腕は、前記フレームの後端面に形成された調整ボルト固定ねじに対向する位置まで下方に張り出して設けられるとともに、前記調整ボルト固定ねじと同軸の位置に、調整ボルトが挿通される調整ボルト挿通孔が貫通形成され、
前記調整ボルトは、前記調整腕の前後から装着される前側ナットおよび後側ナットによる締め付けで前記軸受ハウジングの軸方向の位置の調整およびその固定をすることにより、前記インペラクリアランスを調整可能になっている請求項1~3のいずれか一項に記載の遠心ポンプ。
発明の詳細な説明
【技術分野】
【0001】
本発明は、遠心ポンプに係り、特に、遠心ポンプのインペラクリアランスを調整する技術に関する。
続きを表示(約 2,300 文字)
【背景技術】
【0002】
遠心ポンプは、ケーシングの内面とインペラの羽根の前縁部との対向隙間であるインペラクリアランスの大小によりポンプの性能が変化する。ケーシング内のインペラが摩耗し、インペラクリアランスが広がるとポンプ性能が低下するため、インペラクリアランスの調整が必要になる。
従来、ポンプ性能が低下した場合、作業者は、フレーム後部の軸受ハウジングに配置されたクリアランス調整シムの厚さを変え、これにより、シャフトの軸方向の位置を調整してポンプ性能の回復を図っている。
【先行技術文献】
【特許文献】
【0003】
特開2012-140875号公報
【発明の概要】
【発明が解決しようとする課題】
【0004】
これに対し、例えば、特許文献1記載の技術では、シャフトの軸受ハウジングをフレームに対して軸方向に沿って移動可能な調整機構を設けており、フレーム下方の調整位置で軸受ハウジングを移動させることにより、シャフトを軸方向にスライド移動可能な構成を採用する。
これにより、作業者は、フレームの軸心下方の調整位置で、軸方向に沿ってシャフトのスライド移動およびその位置を固定できる。そのため、シムによる調整を不要とし、インペラクリアランスの調整作業の作業性を向上させ得る。
【0005】
しかし、特許文献1記載の技術のように、フレームの軸心下方の調整位置でシャフトのスライド移動を調整する場合、シャフトの軸方向に沿ったスライド移動に伴い、調整位置の張り出し分に応じてシャフト側に傾倒モーメントが作用する。そのため、水平方向でのシャフトの円滑なスライド移動に差支えが生じ、インペラクリアランスの調整作業の作業性が低下するという問題がある。
そこで、本発明は、このような問題点に着目してなされたものであって、シムによる調整を不要とするとともに、インペラクリアランスを容易に調整できる遠心ポンプを提供することを課題とする。
【課題を解決するための手段】
【0006】
上記課題を解決するために、本発明の一態様に係る遠心ポンプは、シャフトを回転自在に支持するフレームと、該フレームの前面に固定されるケーシングと、該ケーシング内に収容されるとともに前記シャフトの先端に同軸に設けられるインペラとを備え、前記シャフトの駆動により前記ケーシング内で前記インペラが回転することにより、前記ケーシングに形成された吸込口から吐出口に流体を送る遠心ポンプであって、前記シャフトと一体でシャフト前後の軸受ユニットを軸方向にスライド移動可能に構成されて、前記ケーシングの内面と前記インペラの羽根の前縁部との対向隙間であるインペラクリアランスを調整するクリアランス調整部を備え、前記クリアランス調整部は、前記フレームの前部若しくは後部に軸方向にスライド移動可能に内嵌されるとともに前記シャフトの後部の軸受ユニットが内装される軸受ハウジングを有し、前記軸受ハウジングは、自身側方に張出する調整腕の位置で前記インペラクリアランスの調整およびその位置保持が可能とされるとともに、自身のスライド移動を補助する押しばねが前記フレーム側の対向面に当接して自身軸方向に押圧力を付与するように装着されている。
【発明の効果】
【0007】
本発明によれば、シムによる調整を不要とするとともに、インペラクリアランスを容易に調整できる。
【図面の簡単な説明】
【0008】
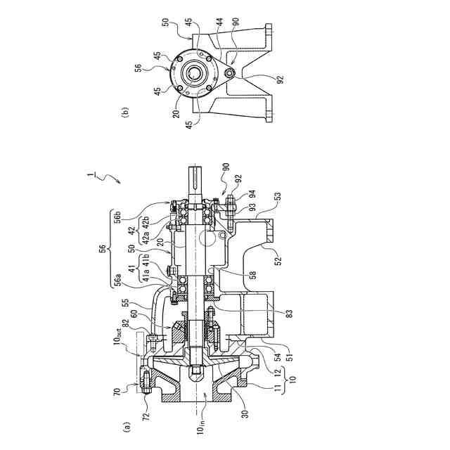
本発明の一態様に係る遠心ポンプの一実施形態の説明図であり、同図(a)は軸線に沿った断面を示し、(b)は(a)の右側面を示している。
図1に示す遠心ポンプの要部の説明図であり、同図(a)は図1のフレーム後部の要部拡大図、(b)は(a)の右側面図、(c)は(b)のZ-Z断面図である。
本発明の一態様に係る遠心ポンプの他の実施形態の説明図であり、同図は軸線に沿った断面を示している。
従来の遠心ポンプの一例を示す図であり、同図(a)は軸線に沿った断面を示し、(b)は(a)の右側面を示している。
【発明を実施するための形態】
【0009】
以下、本発明の一実施形態について、図面を適宜参照しつつ説明する。なお、図面は模式的なものである。そのため、厚みと平面寸法との関係、比率等は現実のものとは異なることに留意すべきであり、図面相互間においても互いの寸法の関係や比率が異なる部分が含まれている。
また、以下に示す実施形態は、本発明の技術的思想を具体化するための装置や方法を例示するものであって、本発明の技術的思想は、構成部品の材質、形状、構造、配置等を下記の実施形態に特定するものではない。
【0010】
[遠心ポンプ]
図1に示すように、本実施形態の遠心ポンプ1は、シャフト20を回転自在に支持するフレーム50を備える。フレーム50前面のケーシング装着面54にはケーシング10が固定される。ケーシング10の後部中央には、シャフト20の周囲を軸封する軸封部60が設けられている。
本実施形態のケーシング10は、シャフト20と直交する面に沿って二分割された分割型とされ、軸方向前側のフロントケーシング11と、軸方向後側のバックケーシング12と、を含んで構成される。フレーム50の前端上部とケーシング装着面54の裏面とは、横断面が略T字状の連結リブ55によって繋がれている。
(【0011】以降は省略されています)
この特許をJ-PlatPat(特許庁公式サイト)で参照する
関連特許
個人
海流製造装置。
2か月前
株式会社スギノマシン
圧縮機
2か月前
株式会社ツインバード
送風装置
2か月前
株式会社ツインバード
送風装置
2か月前
カヤバ株式会社
電動ポンプ
1か月前
カヤバ株式会社
電動ポンプ
4か月前
日機装株式会社
遠心ポンプ
1か月前
株式会社不二越
電動油圧ポンプ
3日前
ビッグボーン株式会社
送風装置
3か月前
株式会社不二越
蓄圧装置
4か月前
株式会社不二越
電動油圧ポンプ
3日前
株式会社ノーリツ
ロータリ圧縮機
3か月前
サンデン株式会社
スクロール圧縮機
2か月前
サンデン株式会社
スクロール圧縮機
2か月前
樫山工業株式会社
真空ポンプ
2か月前
サンデン株式会社
スクロール圧縮機
2か月前
サンデン株式会社
可変容量型圧縮機
1か月前
株式会社クボタ
作業機
1か月前
株式会社豊田自動織機
流体機械
3か月前
株式会社アイシン
ポンプケース
2か月前
株式会社ニクニ
縦型スクリューポンプ
4日前
株式会社島津製作所
真空ポンプ
2か月前
エドワーズ株式会社
真空ポンプ
2か月前
株式会社チロル
送風機、送風機付衣服
3か月前
株式会社島津製作所
真空ポンプ
3か月前
株式会社豊田自動織機
電動圧縮機
3か月前
株式会社豊田自動織機
電動圧縮機
3か月前
株式会社豊田自動織機
電動圧縮機
3か月前
NTN株式会社
電動オイルポンプ
2か月前
株式会社豊田自動織機
電動圧縮機
3か月前
株式会社ナノバブル研究所
気液駆動装置
2か月前
株式会社豊田自動織機
電動圧縮機
3か月前
已久工業股ふん有限公司
空気圧縮機構造
4か月前
株式会社豊田自動織機
電動圧縮機
4か月前
株式会社豊田自動織機
電動圧縮機
4か月前
サンデン株式会社
ヘリカルコンプレッサ
5日前
続きを見る
他の特許を見る