TOP
|
特許
|
意匠
|
商標
特許ウォッチ
Twitter
他の特許を見る
公開番号
2025152686
公報種別
公開特許公報(A)
公開日
2025-10-10
出願番号
2024054708
出願日
2024-03-28
発明の名称
スクロール型電動圧縮機
出願人
株式会社豊田自動織機
代理人
個人
,
個人
主分類
F04C
18/02 20060101AFI20251002BHJP(液体用容積形機械;液体または圧縮性流体用ポンプ)
要約
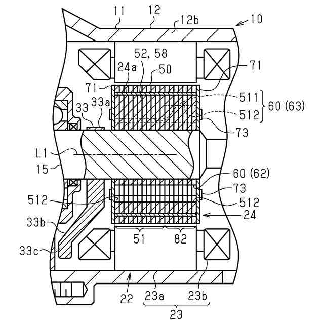
【課題】部品点数の削減及び軸方向に小型化できるスクロール型電動圧縮機を提供すること。
【解決手段】スクロール型電動圧縮機において、ロータ24は、バランスウェイトが生じさせた遠心力を相殺する位置に設けられたバランス調整部58を有している。調整用鋼板51は、第1流通孔511の径方向の寸法を、軸方向に対してバランスウェイトと重なる第2流通孔512の径方向の寸法よりも小さくした位置に形成された重量部52を有するとともに、バランス調整部58は、重量部52を軸方向に積層して形成されている。
【選択図】図2
特許請求の範囲
【請求項1】
回転軸と、
前記回転軸に固定されたロータ及び前記ロータを囲む円筒状のステータを備えるモータと、
前記回転軸の回転によって駆動して流体を圧縮する圧縮部と、
前記モータ及び前記圧縮部を収容するハウジングと、を有し、
前記圧縮部は、前記ハウジング内に設けられる固定スクロール及び前記回転軸の回転に伴って公転するとともに、前記固定スクロールとの間に前記流体を圧縮する圧縮室を形成する旋回スクロールと、を有し、
前記ハウジングは、前記モータを収容するモータハウジング、前記圧縮部を収容する圧縮部ハウジング、及び、前記ロータと前記旋回スクロールとの間で前記回転軸を回転可能に支承する軸支ハウジングを有し、
前記回転軸には、前記回転軸の径方向に延在するとともに、前記回転軸の軸方向に対して前記ロータ及び前記軸支ハウジングに対向するバランスウェイトが設けられ、
前記ロータは、前記軸方向に複数の積層鋼板を積層して形成され、
前記ロータには、前記軸方向に貫通し、かつ内部を前記流体が流通する流体流通孔が前記ロータの周方向へ複数形成され、
前記流体流通孔は、前記積層鋼板に形成された流通孔を前記軸方向に積層して形成されているスクロール型電動圧縮機において、
前記ロータは、前記バランスウェイトが生じさせた遠心力を相殺する位置に設けられたバランス調整部を有し、
前記積層鋼板は、前記流通孔の前記径方向の寸法を、前記軸方向に対して前記バランスウェイトと重なる前記流通孔の前記径方向の寸法よりも小さくした位置に形成された重量部を有するとともに、前記バランス調整部は、前記重量部を前記軸方向に積層して形成されていることを特徴とするスクロール型電動圧縮機。
続きを表示(約 400 文字)
【請求項2】
前記ロータは、焼き嵌めによって前記回転軸と一体に設けられ、
前記流体流通孔は、前記ロータの周方向へ円弧状に延びる長孔状であり、かつ前記流体流通孔の内周面は、前記回転軸の軸線を中心とする同心円に沿って延びており、前記バランス調整部よりも前記径方向の内側に位置する前記流体流通孔は、前記軸方向に対して前記バランスウェイトと重なる前記流体流通孔に比べて前記径方向の内側に位置していることを特徴とする請求項1に記載のスクロール型電動圧縮機。
【請求項3】
前記バランス調整部は、前記重量部を前記ロータの軸方向の全体に積層して設けられている請求項1又は請求項2に記載のスクロール型電動圧縮機。
【請求項4】
前記バランス調整部は、前記重量部を前記ロータの軸方向の一部に積層して設けられている請求項1又は請求項2に記載のスクロール型電動圧縮機。
発明の詳細な説明
【技術分野】
【0001】
本発明は、スクロール型電動圧縮機に関する。
続きを表示(約 2,200 文字)
【背景技術】
【0002】
例えば、特許文献1には、回転軸としての駆動軸にバランスウェイトを一体化するとともに、電動モータにロータウェイトを一体化したスクロール型電動圧縮機が開示されている。このようなスクロール型電動圧縮機の作動時、旋回スクロールとしての可動スクロールの公転に伴う遠心力が駆動軸に作用するとともに、バランスウェイトが生じさせた遠心力が駆動軸に作用する。さらに、スクロール型圧縮機の作動時には、ロータウェイトが生じさせた遠心力もロータを通じて駆動軸に作用する。これらにより、スクロール型電動圧縮機では、バランスウェイトが生じさせた遠心力及びロータウェイトが生じさせた遠心力によって、駆動軸に作用する可動スクロールの遠心力を相殺するようになっている。
【先行技術文献】
【特許文献】
【0003】
特開2021-36133号公報
【発明の概要】
【発明が解決しようとする課題】
【0004】
駆動軸に作用する可動スクロールの遠心力を相殺するように構成されたスクロール型電動圧縮機においては、部品点数の削減及び軸方向への小型化が望まれている。
【課題を解決するための手段】
【0005】
上記問題点を解決するためのスクロール型電動圧縮機は、回転軸と、前記回転軸に固定されたロータ及び前記ロータを囲む円筒状のステータを備えるモータと、前記回転軸の回転によって駆動して流体を圧縮する圧縮部と、前記モータ及び前記圧縮部を収容するハウジングと、を有し、前記圧縮部は、前記ハウジング内に設けられる固定スクロール及び前記回転軸の回転に伴って公転するとともに、前記固定スクロールとの間に前記流体を圧縮する圧縮室を形成する旋回スクロールと、を有し、前記ハウジングは、前記モータを収容するモータハウジング、前記圧縮部を収容する圧縮部ハウジング、及び、前記ロータと前記旋回スクロールとの間で前記回転軸を回転可能に支承する軸支ハウジングを有し、前記回転軸には、前記回転軸の径方向に延在するとともに、前記回転軸の軸方向に対して前記ロータ及び前記軸支ハウジングに対向するバランスウェイトが設けられ、前記ロータは、前記軸方向に複数の積層鋼板を積層して形成され、前記ロータには、前記軸方向に貫通し、かつ内部を前記流体が流通する流体流通孔が前記ロータの周方向へ複数形成され、前記流体流通孔は、前記積層鋼板に形成された流通孔を前記軸方向に積層して形成されているスクロール型電動圧縮機において、前記ロータは、前記バランスウェイトが生じさせた遠心力を相殺する位置に設けられたバランス調整部を有し、前記積層鋼板は、前記流通孔の前記径方向の寸法を、前記軸方向に対して前記バランスウェイトと重なる前記流通孔の前記径方向の寸法よりも小さくした位置に形成された重量部を有するとともに、前記バランス調整部は、前記重量部を前記軸方向に積層して形成されていることを要旨とする。
【0006】
これによれば、スクロール型圧電動縮機の作動時、旋回スクロールの公転に伴う遠心力が回転軸に作用するとともに、バランスウェイトが生じさせた遠心力が回転軸に作用する。さらに、バランス調整部が生じさせた遠心力もロータを通じて回転軸に作用する。これらにより、スクロール型電動圧縮機では、バランスウェイトが生じさせた遠心力及びバランス調整部が生じさせた遠心力によって、回転軸に作用する旋回スクロールの遠心力を相殺できる。
【0007】
上記バランス調整部を有するロータは、積層鋼板における流通孔の径方向の寸法を調整して重量部の重量を調整することで、バランス調整部を設けている。つまり、バランス調整部によるロータの重量に係るバランス調整は、径方向への流通孔の寸法調整だけで行うことができる。このため、ロータのバランス調整は、ロータにウェイト等の別部材を設けることなく行うことができる。よって、ロータの軸方向の端面に別部材を追加してロータに係るバランス調整を行う場合と比べると、ロータの部品点数を削減できるとともに、ロータを軸方向に小型化できる。
【0008】
スクロール型電動圧縮機について、前記ロータは、焼き嵌めによって前記回転軸と一体に設けられ、前記流体流通孔は、前記ロータの周方向へ円弧状に延びる長孔状であり、かつ前記流体流通孔の内周面は、前記回転軸の軸線を中心とする同心円に沿って延びており、前記バランス調整部よりも前記径方向の内側に位置する前記流体流通孔は、前記軸方向に対して前記バランスウェイトと重なる前記流体流通孔に比べて前記径方向の内側に位置していてもよい。
【0009】
これによれば、ロータを焼き嵌めによって回転軸に一体化するとき、ロータは加熱される。このとき、ロータは、流体流通孔の存在により、ロータの径方向へ膨張しやすくなる。よって、流体流通孔の寸法をロータの径方向に小さくしても、ロータと回転軸を一体化しやすい。
【0010】
スクロール型電動圧縮機について、前記バランス調整部は、前記重量部を前記ロータの軸方向の全体に積層して設けられていてもよい。
これによれば、ロータの重量のバランスを軸方向に一定にできるため、バランス調整をしたロータを簡単に製造できる。
(【0011】以降は省略されています)
特許ウォッチbot のツイートを見る
この特許をJ-PlatPat(特許庁公式サイト)で参照する
関連特許
株式会社豊田自動織機
産業車両
12日前
株式会社豊田自動織機
操作装置
25日前
株式会社豊田自動織機
トランス
25日前
株式会社豊田自動織機
産業車両
1か月前
株式会社豊田自動織機
荷役装置
17日前
株式会社豊田自動織機
電力変換器
1か月前
株式会社豊田自動織機
電力変換装置
1か月前
株式会社豊田自動織機
双方向充電器
1か月前
株式会社豊田自動織機
排気浄化装置
26日前
株式会社豊田自動織機
双方向充電器
11日前
株式会社豊田自動織機
車両制御装置
23日前
株式会社豊田自動織機
電磁ブレーキ装置
1か月前
株式会社豊田自動織機
電力供給システム
9日前
株式会社豊田自動織機
ターボチャージャ
4日前
株式会社豊田自動織機
ターボチャージャ
17日前
株式会社豊田自動織機
燃料電池ユニット
23日前
株式会社豊田自動織機
エンジン式産業車両
1か月前
株式会社豊田自動織機
スクロール型圧縮機
1か月前
株式会社豊田自動織機
織機用異常検知装置
17日前
株式会社豊田自動織機
スクロール型圧縮機
1か月前
株式会社豊田自動織機
スクロール型圧縮機
1か月前
株式会社豊田自動織機
内燃機関の制御装置
10日前
株式会社豊田自動織機
ねじりコイルばね装置
1か月前
株式会社豊田自動織機
繊維機械の検査システム
17日前
株式会社豊田自動織機
車両のルーフサイド構造
26日前
株式会社豊田自動織機
スクロール型電動圧縮機
1か月前
株式会社豊田自動織機
インバータ一体型電動機
1か月前
株式会社豊田自動織機
内燃機関の制御システム
1か月前
株式会社豊田自動織機
ローリングピストン型圧縮機
1か月前
株式会社豊田自動織機
両回転式スクロール型圧縮機
1か月前
株式会社豊田自動織機
両回転式スクロール型圧縮機
1か月前
株式会社豊田自動織機
両回転式スクロール型圧縮機
1か月前
トヨタ自動車株式会社
蓄電池
10日前
株式会社豊田自動織機
ローリングピストン型電動圧縮機
1か月前
トヨタ自動車株式会社
二次電池
1か月前
株式会社豊田自動織機
内燃機関の吸気温度制御システム
17日前
続きを見る
他の特許を見る