TOP
|
特許
|
意匠
|
商標
特許ウォッチ
Twitter
他の特許を見る
公開番号
2025178157
公報種別
公開特許公報(A)
公開日
2025-12-05
出願番号
2025080575
出願日
2025-05-13
発明の名称
多段圧縮機
出願人
エヴァレンス・エスイー
代理人
個人
,
個人
,
個人
主分類
F04D
29/28 20060101AFI20251128BHJP(液体用容積形機械;液体または圧縮性流体用ポンプ)
要約
【課題】ラジアル圧縮機またはダイアゴナル圧縮機として設計された新しいタイプの多段圧縮機を提供する。
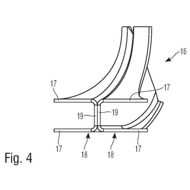
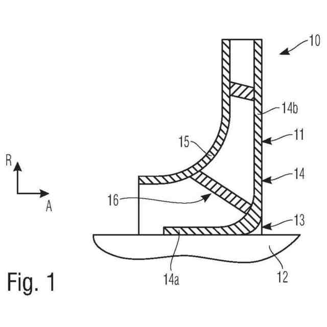
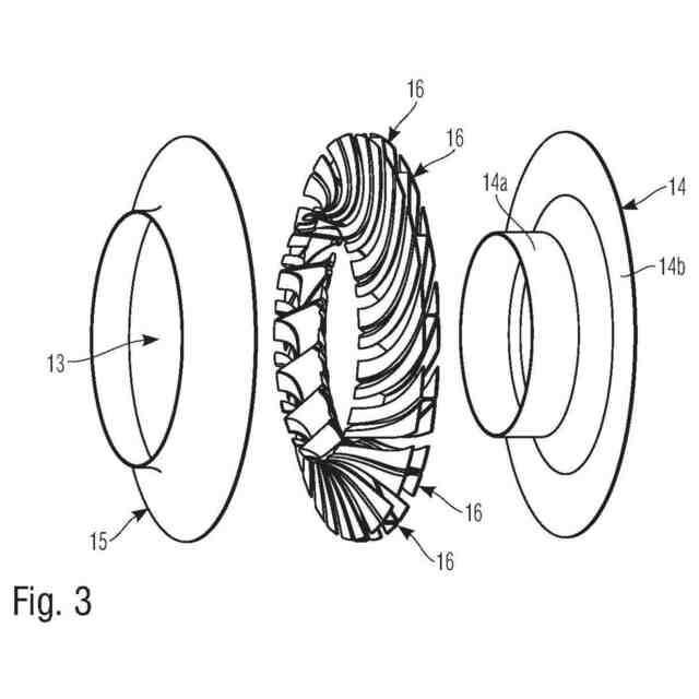
【解決手段】多段圧縮機(10)、すなわち多段ラジアル圧縮機または多段ダイアゴナル圧縮機は、圧縮機ロータを有し、圧縮機ロータは、ロータシャフト(12)と、ロータシャフト(12)に固定され、軸方向に流入し、半径方向または対角方向に流出する複数のインペラ(11)とを備え、各々のインペラ(11)は、湾曲した内側シュラウド(14)、湾曲した外側シュラウド(15)、および内側シュラウド(14)と外側シュラウド(15)との間に配置された複数の湾曲したインペラブレード(16)を備え、内側シュラウド(14)、外側シュラウド(15)およびインペラブレード(16)はそれぞれファイバ複合材料からなり、ロータシャフト(12)は、それぞれのインペラ(11)の内側シュラウド(14)の凹部(13)を通って延在している。
【選択図】図1
特許請求の範囲
【請求項1】
多段圧縮機(10)、すなわち、多段ラジアル圧縮機または多段ダイアゴナル圧縮機であって、
圧縮機ロータを有し、該圧縮機ロータは、ロータシャフト(12)と、該ロータシャフト(12)に固定され、軸方向に流入し、半径方向または対角方向に流出する複数のインペラ(11)とを有し、 各々のインペラ(11)は、湾曲した内側シュラウド(14)と、湾曲した外側シュラウド(15)と、前記内側シュラウド(14)と前記外側シュラウド(15)との間に配置された複数の湾曲したインペラブレード(16)とを含み、前記内側シュラウド(14)、前記外側シュラウド(15)及び前記インペラブレード(16)は、それぞれファイバ複合材料からなり、前記ロータシャフト(12)は、それぞれの前記インペラ(11)の前記内側シュラウド(14)の凹部(13)を通って延在している、ことを特徴とする多段圧縮機。
続きを表示(約 1,200 文字)
【請求項2】
前記インペラブレード(16)、前記内側シュラウド(14)及び前記外側シュラウド(15)は、一体設計で形成されたそれぞれの前記インペラ(11)の一体部分である、ことを特徴とする請求項1に記載の多段圧縮機。
【請求項3】
前記インペラブレード(16)、前記内側シュラウド(14)及び前記外側シュラウド(15)は、差動設計で形成されたそれぞれの前記インペラ(11)の別個の構成要素であり、これらの構成要素は、少なくとも一体的な接続を介して接続されている、ことを特徴とする請求項1に記載の多段圧縮機。
【請求項4】
前記インペラブレード(16)は、少なくとも接着接続を介して前記内側シュラウド(14)及び前記外側シュラウド(15)に接続されている、ことを特徴とする請求項3に記載の多段圧縮機。
【請求項5】
前記インペラブレード(16)が、機械的接続要素、特にボルト、リベットまたはねじを介して前記内側シュラウド(14)及び前記外側シュラウド(15)に付加的に接続されている、ことを特徴とする請求項4に記載の多段圧縮機。
【請求項6】
金属材料またはファイバ複合材料からなる前記ロータシャフト(12)と、各々のインペラ(11)とが、少なくとも摩擦接続を介して接続されている、ことを特徴とする請求項1~5のいずれか一項に記載の多段圧縮機。
【請求項7】
前記ロータシャフト(12)と各々のインペラ(11)とが圧入接続を介して接続されている、ことを特徴とする請求項6に記載の多段圧縮機。
【請求項8】
前記ロータシャフト(13)と各々のインペラ(11)とが一体的な接続及び/または正の接続を介して更に接続されている、ことを特徴とする請求項6または7に記載の多段圧縮機。
【請求項9】
前記内側シュラウド(14)のファイバ複合材料は、前記ロータシャフト(12)への前記接続領域(14a)に高剛性ファイバを含み、
前記ロータシャフト(12)への前記接続領域(14a)の外側の前記内側シュラウド(14)のファイバ複合材料、並びに前記外側シュラウド(15)及びインペラブレード(16)のファイバ複合材料は、高強度ファイバを含む、ことを特徴とする請求項1~8のいずれか一項に記載の多段圧縮機。
【請求項10】
前記ロータシャフト(12)への前記接続領域(14a)における前記内側シュラウド(14)のファイバ複合材料は更に、高強度ファイバを含み、
前記ロータシャフト(12)への前記接続領域(14a)の外側にある前記内側シュラウド(14)のファイバ複合材料、並びに前記外側シュラウド(15)及び前記インペラブレード(16)のファイバ複合材料は更に、高剛性ファイバを含む、ことを特徴とする請求項9に記載の多段圧縮機。
(【請求項11】以降は省略されています)
発明の詳細な説明
【技術分野】
【0001】
本発明は、多段圧縮機(multi-stage compressor)に関する。
続きを表示(約 1,700 文字)
【背景技術】
【0002】
熱流体機械では、一方では圧縮機が、他方では蒸気タービンとガスタービンとが、基本的に区別されている。流体機械は、ターボ機械とも呼ばれる。圧縮機では、軸流圧縮機(axial compressor)とラジアル圧縮機、及びダイアゴナル圧縮機(diagonal compressor)が基本的に区別されている。更に、軸流圧縮機、ラジアル圧縮機、及びダイアゴナル圧縮機では、単段圧縮機(single-stage compressor)と多段圧縮機とが区別されている。本発明は、多段圧縮機、すなわち、多段ラジアル圧縮機または多段ダイアゴナル圧縮機に関する。
【0003】
例えば水素ガスまたはヘリウムガスを圧縮するような軽いガスを圧縮するためには、効率的な圧縮を可能にするために、圧縮機を高い周速で運転しなければならない。今日までに知られている多段ラジアル圧縮機または多段ダイアゴナル圧縮機は、金属製であり、軽いガスを圧縮するために必要とされる高い周速で作動させるのに条件付きでのみ適している。
【0004】
特許文献1は、樹脂トランスファ成形(RTM:resin transfer moulding)法を用いて複合材料インペラとして製造されるラジアル圧縮機のインペラを開示している。インペラは、ファイバ複合材料、すなわち樹脂に埋め込まれたファイバから形成されている。
【0005】
特許文献2には、複数のブレードを有するターボ機械のためのインペラが開示されている。ブレードの内壁は、パターンに織られたファイバ構造を含む織物要素に接続されている。
【先行技術文献】
【特許文献】
【0006】
独国特許出願公開第112011100312号明細書
欧州特許第2504581号明細書
【発明の概要】
【発明が解決しようとする課題】
【0007】
高い周速で作動させることができ、従って軽いガスを圧縮するのに適した、ラジアル圧縮機またはダイアゴナル圧縮機として設計された新しいタイプの多段圧縮機が必要とされている。このことから出発して、本発明の目的は、ラジアル圧縮機またはダイアゴナル圧縮機として設計された新しいタイプの多段圧縮機を作成することに基づいている。
【課題を解決するための手段】
【0008】
この目的は、請求項1に記載の多段圧縮機によって達成される。本発明によれば、各々のインペラは、湾曲した内側シュラウドと、湾曲した外側シュラウドと、内側シュラウドと外側シュラウドとの間に配置された複数の湾曲したインペラブレードとを備え、内側シュラウド、外側シュラウド、及びインペラブレードは、それぞれファイバ複合材料からなり、ロータシャフトは、それぞれのインペラの内側シュラウド内の凹部を通って延在している。内側シュラウドはハブシュラウドと呼ぶこともでき、外側シュラウドはカバーシュラウドと呼ぶこともできる。湾曲したインペラブレードは、三次元的にねじることができる。
【0009】
本発明では、ラジアル圧縮機またはダイアゴナル圧縮機として設計された多段圧縮機が初めて提案され、そのインペラは、湾曲した内側シュラウドと、湾曲した外側シュラウドと、湾曲した内側シュラウドと湾曲した外側シュラウドとの間に配置された複数の湾曲した、特に三次元的にねじられたインペラブレードとを有し、これらは全体としてファイバ複合材料からなる。ロータシャフトは、それぞれのインペラの内側シュラウド内の凹部を通って延在している。このような多段圧縮機は、高い周速で運転することができる。従って、このような圧縮機は、水素ガス、またはヘリウムガス、天然ガス、アンモニア、ネオン若しくは少なくとも2つのこのようなガスの混合物のような他の軽いガスを圧縮するのに適している。
【0010】
インペラブレード、内側シュラウド及び外側シュラウドは、一体設計のそれぞれのインペラの一体部品とすることができる。
(【0011】以降は省略されています)
この特許をJ-PlatPat(特許庁公式サイト)で参照する
関連特許
個人
海流製造装置。
2か月前
株式会社スギノマシン
圧縮機
2か月前
株式会社ツインバード
送風装置
2か月前
株式会社ツインバード
送風装置
2か月前
カヤバ株式会社
電動ポンプ
4か月前
日機装株式会社
遠心ポンプ
1か月前
カヤバ株式会社
電動ポンプ
1か月前
株式会社不二越
電動油圧ポンプ
4日前
ビッグボーン株式会社
送風装置
3か月前
株式会社不二越
電動油圧ポンプ
4日前
株式会社不二越
蓄圧装置
4か月前
株式会社酉島製作所
ポンプ
5か月前
株式会社ノーリツ
ロータリ圧縮機
3か月前
株式会社不二越
ベーンポンプ
4か月前
サンデン株式会社
スクロール圧縮機
2か月前
サンデン株式会社
スクロール圧縮機
2か月前
株式会社坂製作所
スクロール圧縮機
5か月前
小倉クラッチ株式会社
ルーツブロア
4か月前
サンデン株式会社
スクロール圧縮機
2か月前
株式会社ノーリツ
ロータリー圧縮機
5か月前
サンデン株式会社
可変容量型圧縮機
1か月前
樫山工業株式会社
真空ポンプ
2か月前
株式会社島津製作所
真空ポンプ
2か月前
株式会社ニクニ
縦型スクリューポンプ
5日前
株式会社クボタ
作業機
1か月前
エドワーズ株式会社
真空ポンプ
2か月前
株式会社豊田自動織機
流体機械
3か月前
株式会社島津製作所
真空ポンプ
3か月前
株式会社チロル
送風機、送風機付衣服
3か月前
株式会社アイシン
ポンプケース
2か月前
サンデン株式会社
ヘリカルコンプレッサ
6日前
已久工業股ふん有限公司
空気圧縮機構造
4か月前
株式会社豊田自動織機
電動圧縮機
3か月前
サンデン株式会社
ヘリカルコンプレッサ
6日前
株式会社ナノバブル研究所
気液駆動装置
2か月前
株式会社豊田自動織機
電動圧縮機
3か月前
続きを見る
他の特許を見る