TOP
|
特許
|
意匠
|
商標
特許ウォッチ
Twitter
他の特許を見る
公開番号
2025171777
公報種別
公開特許公報(A)
公開日
2025-11-20
出願番号
2024077434
出願日
2024-05-10
発明の名称
壁内配線用のブランクプレート
出願人
日動電工株式会社
代理人
個人
主分類
H02G
3/12 20060101AFI20251113BHJP(電力の発電,変換,配電)
要約
【課題】ブランクプレートを壁材の開口部に設置する場合や、ブランクプレートの開口を開放して壁体内に通線する場合の施工性の向上を図れるブランクプレートを提供する。
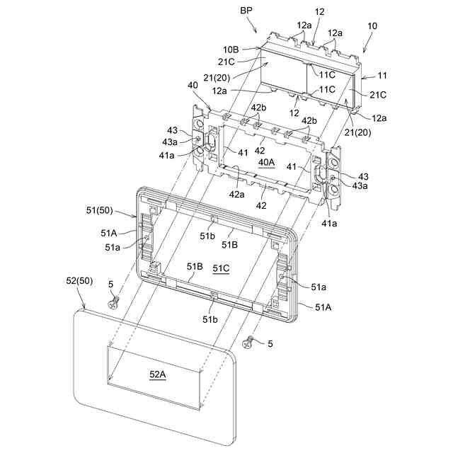
【解決手段】通線用の開口を形成する枠部材10と、開口を開閉する開閉プレート20とが備えられ、枠部材10は、寸法形状が規格化された配線器具用取付枠40を介して、開口が壁材に形成された通線用の開口部に臨む前後向きで開口部に取り付け可能に構成され、開閉プレート20を有する枠部材10の前面部10Bが、配線器具用取付枠40とともに使用される配線器具用の化粧パネル50に形成された配線器具用の挿通口52Aに挿通可能な当該挿通口52Aと略同じ大きさの同形状に形成され、開閉プレート20は、枠部材10が開口部に取り付けられた状態で開閉自在となるように前面部10Bに支持されている。
【選択図】図3
特許請求の範囲
【請求項1】
通線用の開口を形成する枠部材と、前記開口を開閉する開閉プレートとが備えられ、
前記枠部材は、寸法形状が規格化された配線器具用取付枠を介して、前記開口が壁材に形成された通線用の開口部に臨む前後向きで前記開口部に取り付け可能に構成され、
前記開閉プレートを有する前記枠部材の前面部が、前記配線器具用取付枠とともに使用される配線器具用の化粧パネルに形成された配線器具用の挿通口に挿通可能な当該挿通口と略同じ大きさの同形状に形成され、
前記開閉プレートは、前記枠部材が前記開口部に取り付けられた状態で開閉自在となるように前記前面部に支持されている壁内配線用のブランクプレート。
続きを表示(約 430 文字)
【請求項2】
前記開閉プレートの開度調整により前記開口の開口面積が変更可能に構成されている請求項1に記載の壁内配線用のブランクプレート。
【請求項3】
前記開閉プレートの開閉方向が前記開口の長手方向に設定されている請求項1又は2に記載の壁内配線用のブランクプレート。
【請求項4】
前記開閉プレートは、前記開口の長手方向で二分割された2枚の分割プレートで構成され、
前記分割プレートは、前記開口における長手方向の両端側にて当該開口の短手方向に沿って延びる軸心を中心にして、前記開口を閉塞する閉位置と当該開口を開放する壁体内側の開位置とにわたって揺動する揺動開閉式に構成され、
前記軸心が、前記分割プレートにおける軸心側の端部よりも前記分割プレートの中央側に位置して、前記軸心側の端部が、前記分割プレートを前記閉位置に閉操作する際の操作部となるように構成されている請求項3に記載の壁内配線用のブランクプレート。
発明の詳細な説明
【技術分野】
【0001】
本発明は、例えば、テレビ端子を有するテレビ用コンセント部と壁掛けテレビとを接続するケーブルなどの配線の中間部分を、石膏ボードなどの壁材を使用して構成された壁体内に通して隠すのに使用される壁内配線用のブランクプレートに関する。
続きを表示(約 1,900 文字)
【背景技術】
【0002】
近年では、壁掛けテレビの普及により、例えば、テレビ端子を有するテレビ用コンセント部と壁掛けテレビの設置箇所とが離れている場合に、テレビ用コンセント部と壁掛けテレビとを接続するケーブルなどの配線の中間部分を、石膏ボードなどの壁材を使用して構成された壁体内に通して隠すのに使用されるウォールマウントボックスセットが市販されている(例えば非特許文献1参照)。
【0003】
このウォールマウントボックスセットには、壁材に形成された矩形の開口部に連通する連通口などが形成された配線ボックスと、壁材の開口部を塞ぐブランクプレート(キャップ)とが備えられている。ブランクプレートには、壁材の開口部に密接状態で内嵌合される矩形の枠部材と、この枠部材に着脱可能に内嵌合される凹字状の化粧プレートと、この化粧プレートと枠部材とで形成される通線用の開口を開閉する開閉プレートとが備えられている。開閉プレートは、化粧プレートとともに枠部材から取り外された場合に、通線用の開口を閉塞する閉位置と通線用の開口を開放する開位置とにわたって揺動可能となるように化粧プレートに取り付けられている。
【先行技術文献】
【非特許文献】
【0004】
“ウォールマウントボックスセットのカタログ”、[online]、[令和6年4月15日検索]、インターネット<URL:https://www.nd-ele.co.jp/pdf/newproducts/NSP_5.pdf>
【発明の概要】
【発明が解決しようとする課題】
【0005】
非特許文献1に記載のウォールマウントボックスセットを壁材に設置する場合、ブランクプレートの枠部材を壁材の開口部に内嵌合してブランクプレートを設置するにあたり、枠部材に対する開口部の開口精度が厳しく設定されていて開口部の寸法に全く余裕がないことから、施工現場にてブランクプレートを壁材の開口部に設置する際の施工性の低下を招き易くなっている。
【0006】
又、壁材の開口部に設置されたブランクプレートの通線用の開口を開放して壁体内に対する通線を行う場合には、開口部に内嵌合させたブランクプレートの枠部材から、ブランクプレートの化粧プレートと開閉プレートとを一旦取り外して、開閉プレートを閉位置から開位置に揺動変位させて通線用の開口を開放させた後、再び化粧プレートと開閉プレートとを枠部材に取り付ける手間を要することになる。
【0007】
従って、ブランクプレートを壁材の開口部に設置する場合や、ブランクプレートの通線用の開口を開放して壁体内に対する通線を行う場合の施工性の面で改善の余地がある。
【0008】
この実情に鑑み、本発明の主たる課題は、ブランクプレートを壁材の開口部に設置する場合や、ブランクプレートの開口を開放して壁体内に対する通線を行う場合の施工性の向上を図ることができるブランクプレートを提供する点にある。
【課題を解決するための手段】
【0009】
本発明の第1特徴構成は、通線用の開口を形成する枠部材と、前記開口を開閉する開閉プレートとが備えられ、
前記枠部材は、寸法形状が規格化された配線器具用取付枠を介して、前記開口が壁材に形成された通線用の開口部に臨む前後向きで前記開口部に取り付け可能に構成され、
前記開閉プレートを有する前記枠部材の前面部が、前記配線器具用取付枠とともに使用される配線器具用の化粧パネルに形成された配線器具用の挿通口に挿通可能な当該挿通口と略同じ大きさの同形状に形成され、
前記開閉プレートは、前記枠部材が前記開口部に取り付けられた状態で開閉自在となるように前記前面部に支持されている点にある。
【0010】
本構成によると、壁内配線用のブランクプレートを壁材の開口部に設置する場合には、ブランクプレートの枠部材が、コンセントやスイッチなどの配線器具の取り付け用としてJIS(日本産業規格)にて寸法形状が規格化されている配線器具用取付枠を介して壁材の開口部に取り付けられることにより、ブランクプレートの枠部材と壁材の開口部との間に余裕を持たせることができる。これにより、例えば、ブランクプレートの枠部材を壁材の開口部に密接状態で内嵌合して取り付ける場合のように、開口部の開口精度を厳しく設定する必要がなくなる。
(【0011】以降は省略されています)
この特許をJ-PlatPat(特許庁公式サイト)で参照する
関連特許
日動電工株式会社
コネクタ付き電線ヒューズ
9か月前
日動電工株式会社
壁内配線用のブランクプレート
1日前
個人
電気を重力で発電装置
15日前
個人
高圧電気機器の開閉器
2日前
キヤノン電子株式会社
モータ
14日前
キヤノン電子株式会社
モータ
22日前
日星電気株式会社
ケーブル組立体
1か月前
コーセル株式会社
電源装置
23日前
トヨタ自動車株式会社
モータ
14日前
株式会社アイドゥス企画
減反モータ
2日前
株式会社デンソー
回転機
1か月前
個人
二次電池繰返パルス放電器用印刷基板
28日前
株式会社ミツバ
回転電機
1か月前
株式会社デンソー
電力変換装置
29日前
矢崎総業株式会社
電源回路
1日前
株式会社デンソー
非接触受電装置
1か月前
トヨタ自動車株式会社
固定子の加熱装置
25日前
山洋電気株式会社
モータ
28日前
個人
非対称鏡像力を有する4層PWB電荷搬送体
9日前
ローム株式会社
モータドライバ回路
9日前
日産自動車株式会社
ロータシャフト
9日前
トヨタ自動車株式会社
ステータの製造装置
15日前
日産自動車株式会社
ロータシャフト
9日前
京商株式会社
模型用非接触電力供給システム
2日前
株式会社TMEIC
電力変換装置
1か月前
トヨタ自動車株式会社
可変界磁ロータ
17日前
株式会社明治ゴム化成
ワイヤレス給電用部品
24日前
株式会社マキタ
電動作業機
22日前
株式会社アイシン
電力変換装置
14日前
トヨタ紡織株式会社
ロータの製造装置
23日前
個人
電線盗難防止方法及び電線盗難防止装置
22日前
ルネサスエレクトロニクス株式会社
半導体装置
14日前
豊田合成株式会社
車両用非接触充電装置
14日前
本田技研工業株式会社
回転電機用ロータ
2日前
大阪瓦斯株式会社
充放電中継装置
15日前
大阪瓦斯株式会社
充放電中継装置
15日前
続きを見る
他の特許を見る