TOP
|
特許
|
意匠
|
商標
特許ウォッチ
Twitter
他の特許を見る
公開番号
2025177931
公報種別
公開特許公報(A)
公開日
2025-12-05
出願番号
2024085094
出願日
2024-05-24
発明の名称
車両充電装置
出願人
河村電器産業株式会社
代理人
個人
,
個人
,
個人
主分類
H02J
7/00 20060101AFI20251128BHJP(電力の発電,変換,配電)
要約
【課題】 追加する機器に対して電力線の接続作業を容易とし、更に接続した機器に過電流が発生しても、電源が遮断される機器が最小限で済む車両充電装置を提供する。
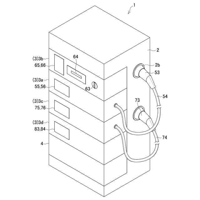
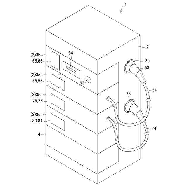
【解決手段】 規格化された同一の形状で、個々に車両充電に関わる特定の機能を備えた複数のユニット3と、複数のユニット3の装着が可能であって、装着されたユニット3に対して電源を供給する機能を備えたユニット装着部2aを有するユニットベース2とを有し、ユニット3の電源側端子31はプラグイン型を成すと共に、ユニット装着部2aには、電源側端子31が接続される幹線バー21が配置され、更にユニット3は電源側端子31から供給される電流が予め設定された値を超えたら、電源側端子31をその負荷側の電路から遮断する分岐ブレーカ5を備え、充電ケーブル54は、ユニットベース2に装着されたユニット3の少なくとも1つに備えられている。
【選択図】 図1
特許請求の範囲
【請求項1】
電動車両に接続する充電プラグを備えた充電ケーブルを少なくとも1つ備えた車両充電装置であって、
規格化された同一の形状で、個々に車両充電に関わる特定の機能を備えた複数のユニットと、
複数の前記ユニットの装着が可能であって、装着された前記ユニットに対して電源を供給する機能を備えたユニット装着部を有するユニットベースとを有し、
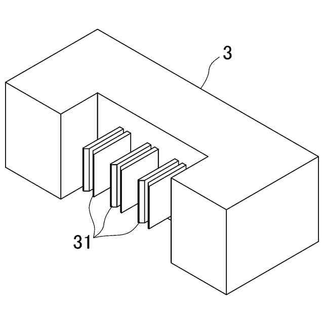
前記ユニットの電源側端子はプラグイン型を成すと共に、前記ユニット装着部には、前記電源側端子が接続される幹線バーが配置され、
更に前記ユニットは、前記電源側端子から前記ユニットに供給される電流が予め設定された値を超えたら、前記電源側端子をその負荷側の電路から遮断する分岐ブレーカを備え、
前記充電ケーブルは、前記ユニットベースに装着された前記ユニットの少なくとも1つに備えられていることを特徴とする車両充電装置。
続きを表示(約 320 文字)
【請求項2】
前記ユニットベースは、外部電源から自身に供給される電流が予め設定された値を超えたら、前記外部電源から前記幹線バーを遮断する幹線ブレーカを有していることを特徴とする請求項1記載の車両充電装置。
【請求項3】
前記ユニットベースに装着された前記ユニットは、前記充電ケーブルを備えた充電器ユニットに加えて、前記充電ケーブルから出力される電力量を金額換算する課金ユニット、車両から電力を取り出すV2Xユニット、そして商用電力の受電電力情報或いは受電時間帯情報を元に前記充電ケーブルから出力する電流を制御する電力制御ユニットのうちの少なくとも1つが含まれることを特徴とする請求項1又は2記載の車両充電装置。
発明の詳細な説明
【技術分野】
【0001】
本発明は、電気自動車等の車両に搭載された蓄電池を充電するための車両充電装置に関する。
続きを表示(約 2,400 文字)
【背景技術】
【0002】
車両充電装置を設置する場合、まず必要最小限の機能を備えた装置を設置し、その後必要に応じて機能を追加するのがコストを考えると望ましいため、拡張し易い構造の車両充電装置を選択する施工主が多い。
このような背景から、機能の追加がし易い車両充電装置が提案されている。例えば特許文献1では、平行に立設した2本の門柱の間に車両充電のためのコンセントに加え、他の機能を備えた筐体を設置可能とし、機能の拡張をし易くした。
【先行技術文献】
【特許文献】
【0003】
特開2012-105375号公報
【発明の概要】
【発明が解決しようとする課題】
【0004】
上記特許文献1の技術は、充電関連機器の追加に加えて、郵便ポストやインターホン機器を取り付けることも可能であり、機能に一定の拡張性があった。
しかしながら、車両充電に関わる機能特に充電ケーブルを追加する場合は、新たな電力線の接続作業が発生するし、供給電力の大幅な変更が伴うため遮断容量の変更等が発生するが、その具体的な記載はない。
また、機能追加後に過電流の発生等不具合が生じたら、電力供給元の分電盤の遮断器が遮断動作することが考えられる。この場合、遮断した下流側にある全ての機器の電源が遮断されるため、不具合のない他の機器もダメージを受けることになる。
【0005】
そこで、本発明はこのような問題点に鑑み、追加する機器に対して電力線の接続作業を容易とし、更に接続した機器に過電流が発生しても、電源が遮断される機器が最小限で済む車両充電装置を提供することを目的としている。
【課題を解決するための手段】
【0006】
上記課題を解決する為に、本発明の構成は、電動車両に接続する充電プラグを備えた充電ケーブルを少なくとも1つ備えた車両充電装置であって、規格化された同一の形状で、個々に車両充電に関わる特定の機能を備えた複数のユニットと、複数のユニットの装着が可能であって、装着されたユニットに対して電源を供給する機能を備えたユニット装着部を有するユニットベースとを有し、ユニットの電源側端子はプラグイン型を成すと共に、ユニット装着部には、電源側端子が接続される幹線バーが配置され、更にユニットは、電源側端子からユニットに供給される電流が予め設定された値を超えたら、電源側端子をその負荷側の電路から遮断する分岐ブレーカを備え、充電ケーブルは、ユニットベースに装着されたユニットの少なくとも1つに備えられていることを特徴とする。
この構成によれば、充電ケーブルの増設等の機能の追加はユニットを増やすことで実施でき、機能を容易に拡張できる。しかも、その際の電力線の接続等は、プラグイン型の端子を接続するだけであり、電線のネジ止め等の作業が必要ない。そして、ユニットは分岐ブレーカを備えているため、過電流の発生により遮断される機器は最小限の単位で済む。
【0007】
本発明の別の態様は、上記構成において、ユニットベースは、外部電源から自身に供給される電流が予め設定された値を超えたら、外部電源から幹線バーを遮断する幹線ブレーカを有していることを特徴とする。
この構成によれば、ユニットベースに電力を供給している分電盤等の離れた場所にある遮断器を操作する事無く、幹線ブレーカを遮断操作することでユニットの追加工事等を行うことができる。
【0008】
本発明の別の態様は、上記構成において、ユニットベースに装着されたユニットは、充電ケーブルを備えた充電器ユニットに加えて、充電ケーブルから出力される電力量を金額換算する課金ユニット、車両から電力を取り出すV2Xユニット、そして商用電力の受電電力情報或いは受電時間帯情報を元に充電ケーブルから出力する電流を制御する電力制御ユニットのうちの少なくとも1つが含まれることを特徴とする。
尚、V2Xユニットは、Vehicle to Xユニットの略で、電動車両の蓄電電力を取り出すユニットであり、例えばV2H(Vehicle to Home)ユニットやV2G(Vehicle to Grid)ユニットとして実現できる。V2Hユニットは電動車両の蓄電電力を家庭で利用するために取り出すユニットのことであり、V2Gユニットは電動車両の蓄電電力を商用電力網に送電するために取り出すユニットのことである。
この構成によれば、課金ユニットを装着すれば、利用者から適正な料金を徴収できるし、V2Xユニットを備えれば停電時に車両の電力を取り出して利用できる。更に、商用電力の受電電力情報或いは受電時間帯情報を元に充電ケーブルから出力する電流を制御する電力制御ユニットを備えれば、商用電力のピーク値の抑制、夜間電力の利用等を考慮した充電を実施でき、電気料金の削減に有効である。
【発明の効果】
【0009】
本発明によれば、充電ケーブルの増設等の機能の追加はユニットを増やすことで実施でき、機能を容易に拡張できる。そして、ユニットは分岐ブレーカを備えているため、ユニットを個々に過電流から保護できる。
【図面の簡単な説明】
【0010】
本発明に係る車両充電装置の一例を示す斜視図である。
ユニットを取り外したユニットベースの斜視説明図である。
ユニットの説明図であり、後方から見た斜視図である。
図1に示す車両充電装置のブロック図である。
充電ユニットのブロック図である。
課金ユニットのブロック図である。
V2Xユニットのブロック図である。
電力制御ユニットのブロック図である。
【発明を実施するための形態】
(【0011】以降は省略されています)
この特許をJ-PlatPat(特許庁公式サイト)で参照する
関連特許
個人
電気を重力で発電装置
1か月前
個人
高圧電気機器の開閉器
20日前
キヤノン電子株式会社
モータ
1か月前
株式会社東光高岳
充電器
今日
株式会社アイドゥス企画
減反モータ
20日前
トヨタ自動車株式会社
モータ
1か月前
株式会社デンソー
端子台
13日前
株式会社デンソー
回転電機
4日前
株式会社ダイヘン
送配電装置
4日前
富士電機株式会社
電力変換装置
4日前
ローム株式会社
半導体集積回路
11日前
本田技研工業株式会社
回転電機
6日前
株式会社不二越
空冷式油圧装置
4日前
富士電機株式会社
電力変換装置
4日前
株式会社日立製作所
回転電機
11日前
株式会社TMEIC
制御装置
12日前
矢崎総業株式会社
電源回路
19日前
矢崎総業株式会社
給電装置
12日前
株式会社東光高岳
充電対象切換システム
今日
株式会社イノコンバンク
無線給電システム
4日前
日産自動車株式会社
ロータシャフト
27日前
日産自動車株式会社
ロータシャフト
27日前
トヨタ自動車株式会社
ステータの製造装置
1か月前
個人
非対称鏡像力を有する4層PWB電荷搬送体
27日前
ローム株式会社
モータドライバ回路
27日前
大和ハウス工業株式会社
敷設用機器
12日前
株式会社アイシン
電力変換装置
1か月前
株式会社TMEIC
電力変換装置
12日前
サンデン株式会社
モータ
5日前
サンデン株式会社
モータ
5日前
トヨタ自動車株式会社
可変界磁ロータ
1か月前
株式会社土井製作所
ケーブル保護管路
11日前
西芝電機株式会社
緊急切断方法及び軸発電機
今日
京商株式会社
模型用非接触電力供給システム
20日前
ルネサスエレクトロニクス株式会社
半導体装置
1か月前
株式会社豊田自動織機
電力供給システム
1か月前
続きを見る
他の特許を見る