TOP
|
特許
|
意匠
|
商標
特許ウォッチ
Twitter
他の特許を見る
10個以上の画像は省略されています。
公開番号
2025144582
公報種別
公開特許公報(A)
公開日
2025-10-03
出願番号
2024044293
出願日
2024-03-20
発明の名称
汚物処理装置
出願人
株式会社LIXIL
代理人
弁理士法人グランダム特許事務所
主分類
B09B
3/35 20220101AFI20250926BHJP(固体廃棄物の処理;汚染土壌の再生)
要約
【課題】排出口から破砕片を良好に排出することができる汚物処理装置を提供する。
【解決手段】汚物処理装置10は、吸水状態のポリマーPを含む被処理物の破砕片Fが収容される処理槽39と、処理槽39内の破砕片Fを処理槽39の外部へ排出する排出口47と、処理槽39内の破砕片Fを排出口47に押し込むように排出口47に向けて水を吐出する複数の吐出口55Cを有する第2ノズル55Bと、を備えている。
【選択図】図6
特許請求の範囲
【請求項1】
吸水状態のポリマーを含む被処理物の破砕片が収容される処理槽と、
前記処理槽内の前記破砕片を前記処理槽の外部へ排出する排出口と、
前記処理槽内の前記破砕片を前記排出口に押し込むように前記排出口に向けて水を吐出する複数の吐出口を有するノズルと、
を備えている汚物処理装置。
続きを表示(約 850 文字)
【請求項2】
各前記吐出口は、直線状に水を吐出する、請求項1に記載の汚物処理装置。
【請求項3】
各前記吐出口から吐出された水は、前記排出口の内縁に沿うように流れる、請求項2に記載の汚物処理装置。
【請求項4】
各前記吐出口の吐出方向は、前記排出口の内縁に向かっている、請求項2に記載の汚物処理装置。
【請求項5】
各前記吐出口から吐出された水は、前記排出口の中心に対して同心円状に等間隔になるように前記排出口に流入する、請求項3に記載の汚物処理装置。
【請求項6】
各前記吐出口の吐出方向は、前記排出口の中心に対して同心円状に等間隔になるように前記排出口に向かっている、請求項3に記載の汚物処理装置。
【請求項7】
前記排出口は、前記処理槽の側壁に設けられており、
複数の前記吐出口は、前記排出口に向けて斜め下方に傾斜して水を吐出し、
複数の前記吐出口のうち、半分以上の前記吐出口の吐出方向は、前記排出口の中心よりも下方を向いている、請求項1に記載の汚物処理装置。
【請求項8】
前記排出口の中心と、前記排出口から直線状に延びた排出路の下流端における中心とを結んだ線は、前記排出路の第1中心軸線であり、
各前記吐出口の前記吐出方向は、互いに平行であり、水平方向に対する前記吐出方向の傾斜角度は、前記水平方向に対する前記第1中心軸線の傾斜角度よりも大きい、請求項7に記載の汚物処理装置。
【請求項9】
各前記吐出口から前記吐出方向に向けて吐出された水における、前記吐出方向に直交する切断面は、吐水領域であり、
各前記吐出口から前記吐出方向に並ぶ複数の各前記吐水領域の中心を通る第2中心軸線は、前記処理槽内の所定の点において前記第1中心軸線と交差し、前記所定の点と前記排出口との間において、前記第1中心軸線よりも下方を通る、請求項8に記載の汚物処理装置。
発明の詳細な説明
【技術分野】
【0001】
本開示は汚物処理装置に関するものである。
続きを表示(約 1,800 文字)
【背景技術】
【0002】
特許文献1には、破砕した使用済みの紙おむつ(以下、破砕片ともいう)と離水剤とを処理槽において撹拌して、破砕片に含まれるポリマーから水分を取り除く離水処理を行う技術が開示されている。
【先行技術文献】
【特許文献】
【0003】
特開2021-146224号公報
【発明の概要】
【発明が解決しようとする課題】
【0004】
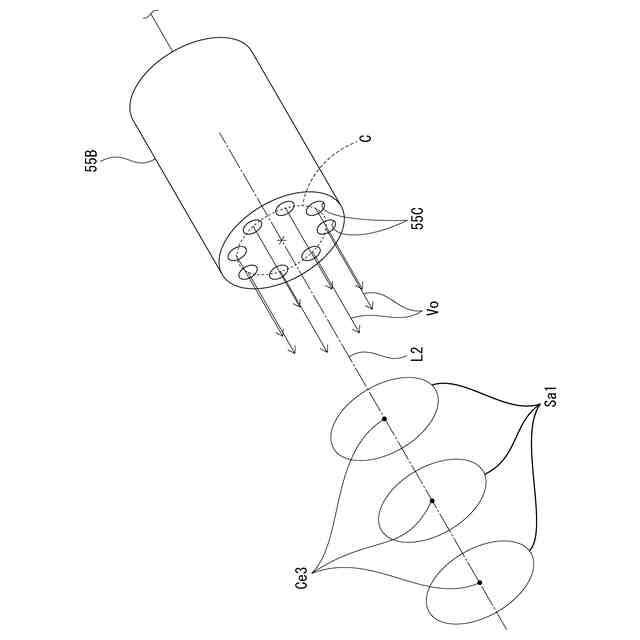
特許文献1は、離水処理を終えた破砕片を処理槽の排出口から排出する際、第2ノズルから排出口に向けて直進して吐出された水流によって排出口に破砕片を押し込んで排出させている。このような水流は、その外周面に接する物体を巻き込んで流す作用を発揮する。例えば、第2ノズルから吐出された水の直径が排出口の直径に比べてとても小さい場合、この水の外周面から離れた排出口の内面に近い位置には、物体を巻き込んで流す作用が働かず、第2ノズルによって破砕片を排出口に押し込む効果は排出口の中央付近に限定的に作用する。このため、良好に破砕片を処理槽から排出する技術が望まれている。
【0005】
本開示は、上記従来の実情に鑑みてなされたものであって、排出口から破砕片を良好に排出することができる汚物処理装置を提供することを解決すべき課題としている。
【課題を解決するための手段】
【0006】
本開示の汚物処理装置は、吸水状態のポリマーを含む被処理物の破砕片が収容される処理槽と、前記処理槽内の前記破砕片を前記処理槽の外部へ排出する排出口と、前記処理槽内の前記破砕片を前記排出口に押し込むように前記排出口に向けて水を吐出する複数の吐出口を有するノズルと、を備えている。
【図面の簡単な説明】
【0007】
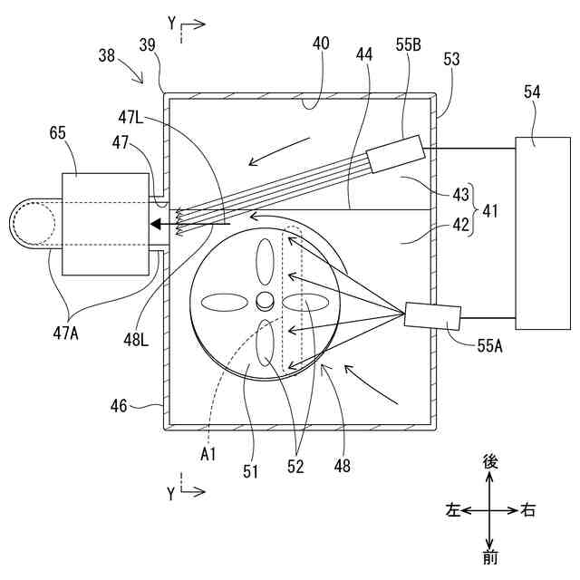
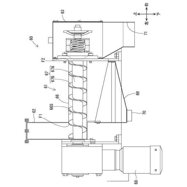
実施形態1の汚物処理装置の構成を示す正面図である。
脱臭装置の平面図である。
図1のX-X線断面図である。
離水処理装置の平断面図である。
図4のY-Y線断面図である。
離水処理装置の拡大側断面図である。
第2ノズルを示す拡大斜視図である。
排出口を右方から見た部分拡大図である。
脱水装置の拡大側断面図である。
離水処理及び脱水処理の制御を示すフローチャートである。
他の実施形態におけるノズルの形態を示す斜視図である。
【発明を実施するための形態】
【0008】
<実施形態1>
以下、本開示の汚物処理装置10を具体化した実施形態1を図1~図10を参照して説明する。以下の説明において、上下の方向については、図1にあらわれる向きを、そのまま上方、下方と定義する。左右の方向については、図1にあらわれる向きを、そのまま左方、右方と定義する。前後の向きについては、図2、3、4における下方を前方、上方を後方と定義する。
【0009】
汚物処理装置10は、被処理物である使用済の紙おむつDを廃棄するための処理を行う装置である。汚物処理装置10は、複数の使用済みの紙おむつDが時間差で不定期的に発生する介護施設等に設置される。
【0010】
処理対象の紙おむつDは、高吸水性ポリマーP(SAP,super absorbent polymer、以下単にポリマーPと表記する)やパルプを、不織布等のシート材S内に収容したものである。シート材Sは、ポリプロピレン製の不織布等からなる表層材と、ポリエチレン等の樹脂材からなる防水材とを有する。表層材と防水材との間にパルプやポリマーPが挟まれている。パルプとポリマーPは、し尿等の汚物の水分を吸収する吸水性能と、水分を吸収した状態に保つ保水性能とを有する。シート材Sは、ポリプロピレンやポリエチレン等の密度が水よりも小さい樹脂材を含む。水分を吸収する前のポリマーPの粒径は150~600μmであり、水よりも密度が大きい。水分を吸収したポリマーPは膨潤してゲル状となり、吸水状態のポリマーPの粒径は600μm~4mmである。汚物処理装置10における被処理物としては、衛生用品である。衛生用品には、紙おむつ、ナプキン、ペット用シート等が含まれる。
(【0011】以降は省略されています)
この特許をJ-PlatPat(特許庁公式サイト)で参照する
関連特許
花王株式会社
焼却灰の処理方法
1か月前
花王株式会社
焼却灰の処理方法
1か月前
トヨタ自動車株式会社
バイオ炭製造方法
1か月前
テクニカ合同株式会社
廃棄鶏の処理方法
1か月前
個人
有機材料製造装置
1日前
株式会社シーパーツ
自動車解体破砕方法
1か月前
清水建設株式会社
遮水層構築の降雨対策方法
8日前
株式会社クリンテック
熱分解炉
8日前
株式会社LIXIL
汚物処理装置
1か月前
国立大学法人東北大学
重金属の不溶化方法
1か月前
九電産業株式会社
樹脂複合製品の製造方法
1か月前
株式会社エネアグリ
乾式メタン発酵システムおよび乾式メタン発酵方法
16日前
株式会社エネアグリ
乾式メタン発酵システムおよび乾式メタン発酵方法
16日前
王子ホールディングス株式会社
ベールの製造方法
29日前
株式会社神鋼環境ソリューション
メタン発酵装置、及び、メタン発酵方法
28日前
JFEエンジニアリング株式会社
焼却灰貯留装置
9日前
JFEエンジニアリング株式会社
焼却灰処理システム
1か月前
トリニティ工業株式会社
使用済みフィルタ処理装置、使用済みフィルタ処理方法
1か月前
生態環境部南京環境科学研究所
重金属汚染土壌を原位置で生態学的に修復する方法
14日前
株式会社宮原機工
有機物並びに有機廃棄物の炭化装置
1か月前
川崎重工業株式会社
焼却灰の骨材化システムおよび骨材化方法
1か月前
川崎重工業株式会社
焼却灰の骨材化システムおよび骨材化方法
1か月前
太平洋セメント株式会社
有価金属含有廃棄物からの金の回収方法
1か月前
五洋建設株式会社
廃棄物処分場、廃棄物処分場の覆土材料および覆土材料の製造方法
28日前
UBE三菱セメント株式会社
再生骨材の製造方法、粒子の分別方法及び品質評価方法
1か月前
太平洋セメント株式会社
カリウム含有肥料製造方法
29日前
学校法人早稲田大学
金属シリコンとガラスの溶融分離方法
14日前
株式会社環境保全サービス
ガラスの回収システム及びクラッシャ
1か月前
株式会社IMPACT
オイルフィルターからの油抽出装置及びオイルフィルターからの油抽出方法
2か月前
JFEエンジニアリング株式会社
焼却灰処理装置および焼却灰処理方法
29日前
JFEエンジニアリング株式会社
焼却灰処理装置および焼却灰処理方法
29日前
太平洋セメント株式会社
重金属類不溶化材、及びそれを用いた重金属類の不溶化方法
29日前
大地環境科技控股集團有限公司
バイオマス有機廃棄物の処理方法及び得られる水溶性有機肥料
1か月前
UBE三菱セメント株式会社
廃棄物処理方法、クリンカ製造方法及び廃棄物処理システム
28日前
UBE三菱セメント株式会社
廃棄物処理システム、廃棄物処理方法及びクリンカ製造方法
28日前
株式会社タクマ
マットレス分解炉システムおよびそれを備える燃焼施設
23日前
続きを見る
他の特許を見る