TOP
|
特許
|
意匠
|
商標
特許ウォッチ
Twitter
他の特許を見る
10個以上の画像は省略されています。
公開番号
2025147679
公報種別
公開特許公報(A)
公開日
2025-10-07
出願番号
2024048042
出願日
2024-03-25
発明の名称
自動車解体破砕方法
出願人
株式会社シーパーツ
代理人
個人
,
個人
主分類
B09B
3/35 20220101AFI20250930BHJP(固体廃棄物の処理;汚染土壌の再生)
要約
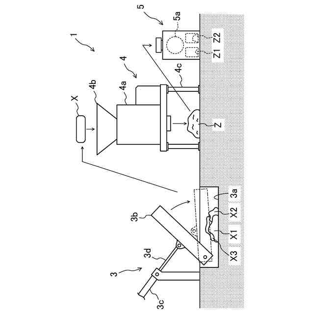
【課題】省スペースで作業可能であり、且つ、作業時に使用する消費エネルギーを減らすことができ、しかも、効率良く有用物を回収できる低コストな自動車解体破砕方法を提供する。
【解決手段】本発明の自動車解体破砕方法は、使用済自動車10を解体及び破砕して有用物を取り出すようになっていて、ルーフ切離工程、シート取出工程、本体上側解体工程、本体下側解体工程、外装樹脂部品取外工程、熱交換器取外工程及びガラス部材取外工程の各作業を自動車解体機2で順に実施し、各工程から得られた解体残存物Xを50馬力以下の出力の破砕機で破砕して破砕物を得る。その後、磁力選別機で破砕物から金属物を取り除く。
【選択図】図1
特許請求の範囲
【請求項1】
使用済自動車を解体及び破砕して有用物を取り出す自動車解体破砕方法であって、
前記使用済自動車のルーフ部を前記使用済自動車の本体部から切り離した後、前記ルーフ部のルーフパネル部からルーフ内装部品を引き剥がし、その後、当該ルーフ内装部品から樹脂パネル部を除くルーフ残存物を取り出す各作業を自動車解体機で行うルーフ切離工程と、
前記本体部からシート部品を取り出した後、当該シート部品のシートフレーム部からシート電装部品とシート樹脂パーツとを引き剥がし、その後、前記シートフレーム部からシート残存物を取り出す各作業を前記自動車解体機で行うシート取出工程と、
前記本体部から車内内装部品を引き剥がした後、前記本体部及び前記車内内装部品から車内電装部品と車内樹脂パーツとを引き剥がし、その後、前記本体部の上側領域及び前記車内内装部品から本体上側残存物を取り外す各作業を前記自動車解体機で行う本体上側解体工程と、
前記本体部を反転させた後、足回り部品を取り外し、その後、前記本体部の下側及び前記足回り部品から本体下側残存物を取り外す各作業を前記自動車解体機で行う本体下側解体工程と、
前記本体部の外装樹脂部品を取り外した後、当該外装樹脂部品と前記本体部との間に位置する外装樹脂部品付随残存物を取り外す各作業を前記自動車解体機で行う外装樹脂部品取外工程と、
前記本体部から熱交換器を取り外した後、当該熱交換器と前記本体部との間に位置する熱交換器付随残存物を取り外す各作業を前記自動車解体機で行う熱交換器取外工程と、
前記本体部からガラス部材を取り外した後、当該ガラス部材と前記本体部との間に位置するガラス部材付随残存物を取り外す各作業を前記自動車解体機で行うガラス部材取外工程と、をそれぞれ実施した後、
前記ルーフ残存物、前記シート残存物、前記本体上側残存物、前記本体下側残存物、前記外装樹脂部品付随残存物、前記熱交換器付随残存物、及び、前記ガラス部材付随残存物を纏めて解体残存物とし、しかる後、当該解体残存物を50馬力以下の出力の破砕機で破砕して破砕物を得た後、当該破砕物から磁力選別機を用いて金属物を取り除くようにしたことを特徴とする自動車解体破砕方法。
続きを表示(約 98 文字)
【請求項2】
請求項1に記載の自動車解体破砕方法において、
前記解体残存物の前記破砕機で破砕される際の金属物の含有率は、1%以下であることを特徴とする自動車解体破砕方法。
発明の詳細な説明
【技術分野】
【0001】
本発明は、使用済自動車を解体する際に再利用可能な資源を効率良く回収可能な自動車解体破砕方法に関する。
続きを表示(約 2,500 文字)
【背景技術】
【0002】
従来、使用済自動車は、解体及び破砕される過程において有用な金属や部品を回収して再利用することが行われる。近年では、使用済自動車が保有する金属や部品といった有用物を極力捨てることなく回収できるように様々な取り組みがなされている。例えば、特許文献1に開示されている自動車の解体においては、使用済自動車のウインドガラスを使用済自動車の本体部から取り除いた後、使用済自動車のルーフ部を本体部から切り離し、その後、本体部の車室内から車内樹脂パーツを取り外すとともに、ルーフ部からもルーフ樹脂パーツを取り外して解体自動車にしている。
【先行技術文献】
【特許文献】
【0003】
特開平6-64503号公報
【発明の概要】
【発明が解決しようとする課題】
【0004】
ところで、上述の如きウインドガラスや樹脂パーツが取り外された解体自動車は、破砕事業者に引き取られた後、シュレッダーにより細かく破砕され、その後、磁力選別や風力選別といった選別工程を経ることで金属類が選別され、最後に残った破砕物から手作業で非鉄金属類、プラスチック類、銅線等を有価物として回収することが一般的に行われる。
【0005】
しかし、上述の如き手順にて使用済自動車の解体と破砕とを順に行う場合、様々な金属や部品がいまだに多く取り付けられたままの状態の解体自動車を破砕する必要があるので、当該破砕に使用するシュレッダーを大型化する必要が生じ、設備を配置するための広大な作業スペースが必要になるとともに、解体自動車一台当たりにおいて消費するエネルギーが非常に大きなものになってしまうという問題がある。また、解体自動車の破砕後においては、有用物とそれ以外のものとが破砕物の中に複雑に混在する状態であり、複雑な選別工程による選別を経ないと有用物を細かく回収できないので、作業者の手作業による選別作業が必須となってしまい、効率良く有用物を回収できないばかりか、コストが嵩むという問題もある。
【0006】
本発明は、斯かる点に鑑みてなされたものであり、その目的とするところは、省スペースで作業可能であり、且つ、作業時に使用する消費エネルギーを減らすことができ、しかも、効率良く有用物を回収できる低コストな自動車解体破砕方法を提供することにある。
【課題を解決するための手段】
【0007】
上記の目的を達成するために、本発明では、自動車解体機を利用して使用済自動車から引き剥がせるもの、或いは、取り外せるものは全て引き剥がすか、取り外した後でその作業後に発生する残存物のみを破砕するようにしたことを特徴とする。
【0008】
具体的には、使用済自動車を解体及び破砕して有用物を取り出す自動車解体破砕方法を対象とし、次のような対策を講じた。
【0009】
すなわち、第1の発明に係る自動車解体破砕方法は、前記使用済自動車のルーフ部を前記使用済自動車の本体部から切り離した後、前記ルーフ部のルーフパネル部からルーフ内装部品を引き剥がし、その後、当該ルーフ内装部品から樹脂パネル部を除くルーフ残存物を取り出す各作業を自動車解体機で行うルーフ切離工程と、前記本体部からシート部を取り出した後、当該シート部のシートフレーム部からシート電装部品とシート樹脂パーツとを引き剥がし、その後、前記シートフレーム部からシート残存物を取り出す各作業を前記自動車解体機で行うシート取出工程と、前記本体部から車内内装部品を引き剥がした後、前記本体部及び前記車内内装部品から車内電装部品と車内樹脂パーツとを引き剥がし、その後、前記本体部の上側領域及び前記車内内装部品から本体上側残存物を取り外す各作業を前記自動車解体機で行う本体上側解体工程と、前記本体部を反転させた後、足回り部品を取り外し、その後、前記本体部の下側及び前記足回り部品から本体下側残存物を取り外す各作業を前記自動車解体機で行う本体下側解体工程と、前記本体部の外装樹脂部品を取り外した後、当該外装樹脂部品と前記本体部との間に位置する外装樹脂部品付随残存物を取り外す各作業を前記自動車解体機で行う外装樹脂部品取外工程と、前記本体部から熱交換器を取り外した後、当該熱交換器と前記本体部との間に位置する熱交換器付随残存物を取り外す各作業を前記自動車解体機で行う熱交換器取外工程と、前記本体部からガラス部材を取り外した後、当該ガラス部材と前記本体部との間に位置するガラス部材付随残存物を取り外す各作業を前記自動車解体機で行うガラス部材取外工程と、をそれぞれ実施した後、前記ルーフ残存物、前記シート残存物、前記本体上側残存物、前記本体下側残存物、前記外装樹脂部品付随残存物、前記熱交換器付随残存物、及び、前記ガラス部材付随残存物を纏めて解体残存物とし、しかる後、当該解体残存物を50馬力以下の出力の破砕機で破砕して破砕物を得た後、当該破砕物から磁力選別機を用いて金属物を取り除くようにしたことを特徴とする。
このように構成される自動車解体破砕方法では、使用済自動車を解体する各工程において、解体残存物を取り出す作業に必要な設備が自動車解体機だけとなるように作用する。また、使用済自動車からほとんどの有用物を取り除いた後の解体残存物だけを破砕機で破砕するように作用する。さらに、複雑な選別工程による選別作業の必要が無くなるとともに、作業者による手作業の選別作業の必要が無くなるように作用する。
【0010】
第2の発明に係る自動車解体破砕方法は、第1の発明において、前記解体残存物の前記破砕機で破砕される際の金属物の含有率は、1%以下であることを特徴とする。
このように構成される自動車解体破砕方法では、解体残存物を破砕する際において当該解体残存物に含まれる金属物によって破砕機に掛かる負荷がほとんど無くなるように作用する。
【発明の効果】
(【0011】以降は省略されています)
この特許をJ-PlatPat(特許庁公式サイト)で参照する
関連特許
トヨタ自動車株式会社
空箱処理装置
3か月前
ダイハツ工業株式会社
発酵システム
3か月前
トヨタ自動車株式会社
空箱処理装置
3か月前
株式会社クボタ
嫌気性処理方法
5か月前
花王株式会社
焼却灰の処理方法
2か月前
花王株式会社
焼却灰の処理方法
2か月前
個人
ビール粕からのセルロース抽出方法
4日前
トヨタ自動車株式会社
バイオ炭製造方法
2か月前
テクニカ合同株式会社
廃棄鶏の処理方法
2か月前
個人
有機材料製造装置
24日前
三菱マテリアル株式会社
被処理物の解体装置
5か月前
株式会社トクヤマ
石膏粒体のか焼方法
3か月前
株式会社シーパーツ
自動車解体破砕方法
1か月前
株式会社マクニカ
乾熱減容処理装置
3か月前
清水建設株式会社
汚染拡散防止構造
3か月前
有限会社ジャパンガスセパレーション
メタンガス発生装置
6か月前
清水建設株式会社
加熱井戸の設置方法
3か月前
学校法人東京農業大学
メタンガスの製造方法
4か月前
学校法人 中央大学
剥離回収方法
4日前
鹿島建設株式会社
土壌の浄化方法
3か月前
株式会社ミダック
覆土材料
5か月前
清水建設株式会社
遮水層構築の降雨対策方法
1か月前
株式会社クリンテック
熱分解炉
1か月前
株式会社LIXIL
汚物処理装置
1か月前
国立大学法人東海国立大学機構
有機物処理装置
5か月前
株式会社クボタ
メタン発酵装置およびメタン発酵処理方法
5か月前
個人
太陽光電池モジュール資源回収方法
10日前
極東開発工業株式会社
廃棄物処理装置
4か月前
日本シーム株式会社
容器処理装置
11日前
国立大学法人東北大学
重金属の不溶化方法
1か月前
日本シーム株式会社
容器処理装置
11日前
トヨタ自動車株式会社
乾燥処理装置
4か月前
九電産業株式会社
樹脂複合製品の製造方法
2か月前
花王株式会社
吸水性ポリマーの処理方法
5か月前
株式会社クボタ
収穫残渣の保管方法およびメタン発酵処理方法
5か月前
王子ホールディングス株式会社
ベールの製造方法
1か月前
続きを見る
他の特許を見る