TOP
|
特許
|
意匠
|
商標
特許ウォッチ
Twitter
他の特許を見る
公開番号
2025171854
公報種別
公開特許公報(A)
公開日
2025-11-20
出願番号
2024077592
出願日
2024-05-10
発明の名称
太陽光電池モジュール資源回収方法
出願人
個人
,
富岳高度産業株式会社
代理人
個人
主分類
B09B
5/00 20060101AFI20251113BHJP(固体廃棄物の処理;汚染土壌の再生)
要約
【課題】太陽光電池モジュールから資源をより簡易に回収する方法を提供する。
【解決手段】
太陽光電池モジュール資源回収方法は、太陽光電池セル10、封止材20、バックシート30および基板40が一体化された状態で太陽光モジュール100を粉砕する粉砕工程S1と、粉砕工程にて生成された粉砕物どうしを擦り合わせ、粉砕物における太陽光電池セルを粉末状にするとともに粉砕物における封止材の破片、バックシートの破片および基板の破片を互いに分離する分離工程と、を備える。
【選択図】図2
特許請求の範囲
【請求項1】
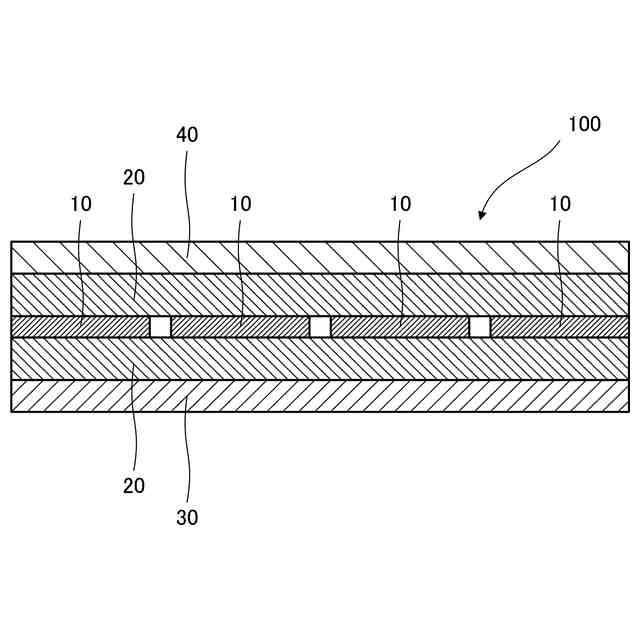
シリコンを含む太陽光電池セルと、前記太陽光電池セルを封止する第1樹脂製の封止材と、前記封止材を介して前記太陽光電池セルの背面に設けられる第2樹脂製のバックシートと、前記封止材を介して前記太陽光電池セルの前面に設けられるガラス製の基板と、を備える太陽光モジュールから資源を回収する方法であって、
前記太陽光電池セル、前記封止材、前記バックシートおよび前記基板が一体化された状態で前記太陽光モジュールを粉砕する粉砕工程と、
前記粉砕工程にて生成された粉砕物どうしを擦り合わせ、前記粉砕物における前記太陽光電池セルを粉末状にするとともに前記粉砕物における前記封止材の破片、前記バックシートの破片および前記基板の破片を互いに分離する分離工程と、を備える、
太陽光電池モジュール資源回収方法。
続きを表示(約 200 文字)
【請求項2】
前記分離工程では、前記粉砕物をペプチド溶液に投入して撹拌する、
請求項1に記載の太陽光電池モジュール資源回収方法。
【請求項3】
前記分離工程にて得られた前記太陽光電池セルの粉末状物、前記封止材の破片、前記バックシートの破片および前記基板の破片をペプチド溶液に投入し沈殿させる沈殿工程をさらに備える、
請求項1に記載の太陽光電池モジュール資源回収方法。
発明の詳細な説明
【技術分野】
【0001】
本発明は、太陽光電池モジュールから資源を回収する方法に関する。
続きを表示(約 1,300 文字)
【背景技術】
【0002】
太陽光電池は、太陽光というクリーンエネルギーを利用して発電するため、環境に対する負荷の低減に効果的とされている。太陽光電池に含まれる太陽光電池モジュールは、光電変換を実現する太陽光電池セル、太陽光電池セルを封止する封止材、太陽光電池セルの前面を保護するガラス基板、太陽光電池セルの背面を保護するバックシートを備える。太陽光電池モジュールは、太陽光を浴びる過酷な環境での使用による経年劣化、光透過度の低下、機械的特性の劣化等のため交換が必要になるが、劣化した太陽光電池モジュールから有価資源を回収して再利用することが求められている。
【0003】
特許文献1には、太陽光電池モジュールを各マテリアルに分離する方法が開示されている。この方法では、まず、太陽光電池モジュールからバックシートを機械的に剥離する前工程が行われ、バックシートが剥離された太陽光電池モジュールを剥離剤溶液中に浸漬し太陽光電池モジュールからガラス基板を分離する分離工程が行われ、その後、封止材と太陽光電池セルを分離回収する工程が行われる。
【先行技術文献】
【特許文献】
【0004】
特開2014-104406号公報
【発明の概要】
【発明が解決しようとする課題】
【0005】
特許文献1に記載の方法では、太陽光電池モジュールからバックシートのみを機械的に剥離する工程が必要であり、手間がかかる。
【0006】
そこで、本発明は、太陽光電池モジュールから資源をより簡易に回収する方法を提供することを目的とする。
【課題を解決するための手段】
【0007】
本発明は、シリコンを含む太陽光電池セルと、前記太陽光電池セルを封止する第1樹脂製の封止材と、前記封止材を介して前記太陽光電池セルの背面に設けられる第2樹脂製のバックシートと、前記封止材を介して前記太陽光電池セルの前面に設けられるガラス製の基板と、を備える太陽光モジュールから資源を回収する方法であって、前記太陽光電池セル、前記封止材、前記バックシートおよび前記基板が一体化された状態で前記太陽光モジュールを粉砕する粉砕工程と、前記粉砕工程にて生成された粉砕物どうしを擦り合わせ、前記粉砕物における前記太陽光電池セルを粉末状にするとともに前記粉砕物における前記封止材の破片、前記バックシートの破片および前記基板の破片を互いに分離する分離工程と、を備える。
【発明の効果】
【0008】
本発明によれば、太陽光電池モジュールから資源をより簡易に回収する方法を提供することができる。
【図面の簡単な説明】
【0009】
本発明の実施形態に用いられる太陽光電池モジュールの概略断面図である。
本発明の第1実施形態に係る太陽光電池モジュール資源回収方法の流れを示す図である。
【発明を実施するための形態】
【0010】
以下、本発明の実施形態に係る太陽光電池モジュール資源回収方法について、図面を参照して説明する。
(【0011】以降は省略されています)
この特許をJ-PlatPat(特許庁公式サイト)で参照する
関連特許
トヨタ自動車株式会社
空箱処理装置
3か月前
トヨタ自動車株式会社
空箱処理装置
3か月前
ダイハツ工業株式会社
発酵システム
3か月前
花王株式会社
焼却灰の処理方法
2か月前
花王株式会社
焼却灰の処理方法
2か月前
テクニカ合同株式会社
廃棄鶏の処理方法
2か月前
トヨタ自動車株式会社
バイオ炭製造方法
2か月前
個人
有機材料製造装置
16日前
株式会社トクヤマ
石膏粒体のか焼方法
2か月前
株式会社シーパーツ
自動車解体破砕方法
1か月前
株式会社マクニカ
乾熱減容処理装置
3か月前
清水建設株式会社
汚染拡散防止構造
2か月前
清水建設株式会社
加熱井戸の設置方法
2か月前
学校法人東京農業大学
メタンガスの製造方法
3か月前
鹿島建設株式会社
土壌の浄化方法
3か月前
株式会社クリンテック
熱分解炉
23日前
清水建設株式会社
遮水層構築の降雨対策方法
23日前
株式会社LIXIL
汚物処理装置
1か月前
個人
太陽光電池モジュール資源回収方法
2日前
国立大学法人東北大学
重金属の不溶化方法
1か月前
極東開発工業株式会社
廃棄物処理装置
4か月前
日本シーム株式会社
容器処理装置
3日前
日本シーム株式会社
容器処理装置
3日前
トヨタ自動車株式会社
乾燥処理装置
3か月前
九電産業株式会社
樹脂複合製品の製造方法
2か月前
王子ホールディングス株式会社
ベールの製造方法
1か月前
株式会社エネアグリ
乾式メタン発酵システムおよび乾式メタン発酵方法
1か月前
株式会社エネアグリ
乾式メタン発酵システムおよび乾式メタン発酵方法
1か月前
株式会社トクヤマ
廃石膏ボードから紙片と石膏粒体を回収する方法
2か月前
株式会社神鋼環境ソリューション
メタン発酵装置、及び、メタン発酵方法
1か月前
光宇應用材料股ふん有限公司
環境にやさしい低炭素二酸化ケイ素の製造方法
2か月前
JFEエンジニアリング株式会社
焼却灰貯留装置
24日前
個人
フォーミング生成抑制材の製造方法及び廃タイヤのリサイクル処理方法
3か月前
トヨタ自動車株式会社
電池の処理方法および電池の処理システム
4か月前
トリニティ工業株式会社
使用済みフィルタ処理装置、使用済みフィルタ処理方法
2か月前
太平洋セメント株式会社
重金属類不溶化材及び固化不溶化処理方法
3か月前
続きを見る
他の特許を見る