TOP
|
特許
|
意匠
|
商標
特許ウォッチ
Twitter
他の特許を見る
公開番号
2025159805
公報種別
公開特許公報(A)
公開日
2025-10-22
出願番号
2024062578
出願日
2024-04-09
発明の名称
乾式メタン発酵システムおよび乾式メタン発酵方法
出願人
株式会社エネアグリ
代理人
個人
主分類
B09B
3/65 20220101AFI20251015BHJP(固体廃棄物の処理;汚染土壌の再生)
要約
【課題】
簡便な構成でメタン発酵に供される有機系資源の前処理が可能であり、効率よくメタン発酵を行うことが可能な乾式メタン発酵システムおよび乾式メタン発酵方法を提供する。
【解決手段】
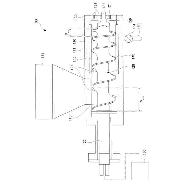
乾式メタン発酵システムは、有機系資源を混練および爆砕して、有機系資源粉砕物を製造する混練爆砕機と、前記有機系資源粉砕物を収容し乾式メタン発酵を行うための乾式メタン発酵槽とを備え、前記混練爆砕機は、円筒状の空間を有する筐体と、前記空間内に配置されたアルキメディアン・スクリューとを有し、前記筐体は、前記空間の一方の円筒端部側にある前記有機系資源を投入する投入口と、前記空間の他方の円筒端部側にある有機系資源粉砕物を取り出す取出口とを有し、前記アルキメディアン・スクリューはそのピッチが前記投入口から前記取出口へ向けて漸減している。
【選択図】 図2
特許請求の範囲
【請求項1】
有機系資源を混練および爆砕して、有機系資源粉砕物を製造する混練爆砕機と、
前記有機系資源粉砕物を収容し乾式メタン発酵を行うための乾式メタン発酵槽とを備え、
前記混練爆砕機は、円筒状の空間を有する筐体と、前記空間内に配置されたアルキメディアン・スクリューとを有し、
前記筐体は、前記空間の一方の円筒端部側にある前記有機系資源を投入する投入口と、前記空間の他方の円筒端部側にある有機系資源粉砕物を取り出す取出口とを有し、
前記アルキメディアン・スクリューはそのピッチが前記投入口から前記取出口へ向けて漸減している、乾式メタン発酵システム。
続きを表示(約 1,100 文字)
【請求項2】
前記アルキメディアン・スクリューの最も前記取出口側のピッチは、前記投入口側のピッチの5.0%以上70%以下である、請求項1に記載の乾式メタン発酵システム。
【請求項3】
前記混練爆砕機は、取出口付近の前記有機系資源に2.5×10
5
以上14.0×10
5
N/m
2
以下の圧力が負荷されるように前記アルキメディアン・スクリューの前記ピッチが調整されている、請求項1に記載の乾式メタン発酵システム。
【請求項4】
さらに、前記混練爆砕機において前記有機系資源から生じた気体および液体について共生酢酸生成細菌群により酢酸を含む発酵物を生成させる酢酸資化性発酵槽を備え、
前記乾式メタン発酵槽は、前記有機系資源粉砕物とともに前記酢酸を含む発酵物を収容して乾式メタン発酵を行うための槽である、請求項1に記載の乾式メタン発酵システム。
【請求項5】
複数のバッチ式の前記乾式メタン発酵槽を備える、請求項1に記載の乾式メタン発酵システム。
【請求項6】
混練爆砕機により、有機系資源を混練および爆砕して、有機系資源粉砕物を得る第1の工程と、
前記有機系資源粉砕物について乾式メタン発酵を行う第2の工程と、を有し、
前記混練爆砕機は、円筒状の空間を有する筐体と、前記空間内に配置されたアルキメディアン・スクリューとを有し、
前記筐体は、前記空間の一方の円筒端部側にある前記有機系資源を投入する投入口と、前記空間の他方の円筒端部側にある有機系資源粉砕物を取り出す取出口とを有し、
前記アルキメディアン・スクリューはそのピッチが前記投入口から前記取出口へ向けて漸減している、乾式メタン発酵方法。
【請求項7】
さらに、前記混練爆砕機において前記有機系資源から生じた気体および液体について共生酢酸生成細菌群により酢酸を含む発酵物を生成させる第3の工程を有し、前記第2の工程において、前記有機系資源粉砕物と前記酢酸を含む発酵物とについて乾式メタン発酵が行われる、請求項6に記載の乾式メタン発酵方法。
【請求項8】
前記第1の工程と前記第2の工程を繰り返し、
前記第2の工程においては、バッチ式乾式メタン発酵槽において前記メタン発酵を行い、
2回目以降の前記第2の工程において、前回の第2の工程において前記有機系資源粉砕物を投入した前記バッチ式乾式メタン発酵槽と異なる前記バッチ式乾式メタン発酵槽に前記有機系資源粉砕物を投入する、請求項6に記載の乾式メタン発酵方法。
発明の詳細な説明
【技術分野】
【0001】
本発明は、乾式メタン発酵システムおよび乾式メタン発酵方法に関する。
続きを表示(約 1,400 文字)
【背景技術】
【0002】
限りある資源を有効に活用し、豊かな社会を創生するために、地球温暖化防止やエネルギーの安定供給等の多くの社会問題の解決方法が検討されている。これらの社会問題の中でも、近年、廃棄物の処理は解決すべき重要なテーマの一つである。食品廃棄物や農林水産物、家畜排泄物等の有機廃棄物は年間2億トンを超えており、埋設する場合には広大な敷地を要し、焼却する場合にも莫大な処分費用を要する。
【0003】
メタン発酵技術は、有機物についてメタン菌を利用してメタン、水素等の有用な気体を含むバイオガスを製造する技術である。メタンや水素は燃焼させることによりエネルギーとして利用できるとともに化学品の原料としても有用である。このようなメタン発酵技術を有機廃棄物について適用することにより、廃棄物を有効な資源に変換することが可能であり、廃棄に伴う負担や焼却に伴う二酸化炭素の排出を抑制することができる。さらに、有機廃棄物の発生場所付近でメタン発酵を行うと、資源の地産地消が可能となり、有機廃棄物や得られた資源の輸送に要する費用や負担を省略することができる。
【0004】
このメタン発酵技術には、比較的低い固形分濃度、例えば10%以下でメタン発酵を行う湿式メタン発酵と、比較的高い固形分濃度、例えば15%以上45%以下でメタン発酵を行う乾式メタン発酵とがある。
【0005】
湿式メタン発酵は、装置が簡便でありメンテナンスコストが低いというメリットが存在する半面、乾式メタン発酵と比較してガス発生量が少ない、排水量が多く処理コストが大きい等のデメリットが存在する。一方で、乾式メタン発酵は、バイオガスの発生量が多い反面、消費電力が大きい、装置が比較的複雑である等のデメリットが存在する。
【0006】
特許文献1には、有機性廃棄物から非生物分解性有機物の少なくとも一部を前処理残渣として分離する前処理手段を備えた乾式メタン発酵装置が提案されている。
【先行技術文献】
【特許文献】
【0007】
特開2017-177008号公報
【発明の概要】
【発明が解決しようとする課題】
【0008】
ところで、乾式メタン発酵を行うにあたっては、有機系の原料(有機系資源)に対していくつかの前処理を行うことが好ましい。例えば、有機系資源のメタン発酵を促進させるために、原料の微細化を行ない、表面積を増加させることが好ましい。また、有機系資源に加熱を行うことにより、有機系資源を変性させ、酵素作用を受けやすい状態とすることができる。さらには、乾式メタン発酵を行うためには、有機系資源の水分量の調節が必須であり、通常前処理として乾燥が行われる。このような有機系資源の微細化、加熱、水分量の調節を行うには比較的いくつかの装置を組み合わせた複雑な構成が必要となる。
【0009】
また、乾式メタン発酵においては、当然ながら、有機系の原料からできる限り効率よく多くのメタンガスを得ることが好ましい。
【0010】
したがって、本発明の目的は、簡便な構成でメタン発酵に供される有機系資源の前処理が可能であり、効率よくメタン発酵を行うことが可能な乾式メタン発酵システムおよび乾式メタン発酵方法を提供することにある。
【課題を解決するための手段】
(【0011】以降は省略されています)
この特許をJ-PlatPat(特許庁公式サイト)で参照する
関連特許
トヨタ自動車株式会社
空箱処理装置
3か月前
トヨタ自動車株式会社
空箱処理装置
3か月前
ダイハツ工業株式会社
発酵システム
3か月前
花王株式会社
焼却灰の処理方法
2か月前
花王株式会社
焼却灰の処理方法
2か月前
テクニカ合同株式会社
廃棄鶏の処理方法
2か月前
トヨタ自動車株式会社
バイオ炭製造方法
2か月前
個人
有機材料製造装置
16日前
株式会社トクヤマ
石膏粒体のか焼方法
2か月前
株式会社シーパーツ
自動車解体破砕方法
1か月前
株式会社マクニカ
乾熱減容処理装置
3か月前
清水建設株式会社
汚染拡散防止構造
2か月前
清水建設株式会社
加熱井戸の設置方法
2か月前
学校法人東京農業大学
メタンガスの製造方法
3か月前
鹿島建設株式会社
土壌の浄化方法
3か月前
株式会社クリンテック
熱分解炉
23日前
清水建設株式会社
遮水層構築の降雨対策方法
23日前
株式会社LIXIL
汚物処理装置
1か月前
個人
太陽光電池モジュール資源回収方法
2日前
国立大学法人東北大学
重金属の不溶化方法
1か月前
極東開発工業株式会社
廃棄物処理装置
4か月前
日本シーム株式会社
容器処理装置
3日前
日本シーム株式会社
容器処理装置
3日前
トヨタ自動車株式会社
乾燥処理装置
3か月前
九電産業株式会社
樹脂複合製品の製造方法
2か月前
王子ホールディングス株式会社
ベールの製造方法
1か月前
株式会社エネアグリ
乾式メタン発酵システムおよび乾式メタン発酵方法
1か月前
株式会社エネアグリ
乾式メタン発酵システムおよび乾式メタン発酵方法
1か月前
株式会社トクヤマ
廃石膏ボードから紙片と石膏粒体を回収する方法
2か月前
株式会社神鋼環境ソリューション
メタン発酵装置、及び、メタン発酵方法
1か月前
光宇應用材料股ふん有限公司
環境にやさしい低炭素二酸化ケイ素の製造方法
2か月前
JFEエンジニアリング株式会社
焼却灰貯留装置
24日前
個人
フォーミング生成抑制材の製造方法及び廃タイヤのリサイクル処理方法
3か月前
トヨタ自動車株式会社
電池の処理方法および電池の処理システム
4か月前
トリニティ工業株式会社
使用済みフィルタ処理装置、使用済みフィルタ処理方法
2か月前
太平洋セメント株式会社
重金属類不溶化材及び固化不溶化処理方法
3か月前
続きを見る
他の特許を見る