TOP
|
特許
|
意匠
|
商標
特許ウォッチ
Twitter
他の特許を見る
公開番号
2025132233
公報種別
公開特許公報(A)
公開日
2025-09-10
出願番号
2024029648
出願日
2024-02-29
発明の名称
樹脂複合製品の製造方法
出願人
九電産業株式会社
代理人
弁理士法人東京国際特許事務所
主分類
B09B
5/00 20060101AFI20250903BHJP(固体廃棄物の処理;汚染土壌の再生)
要約
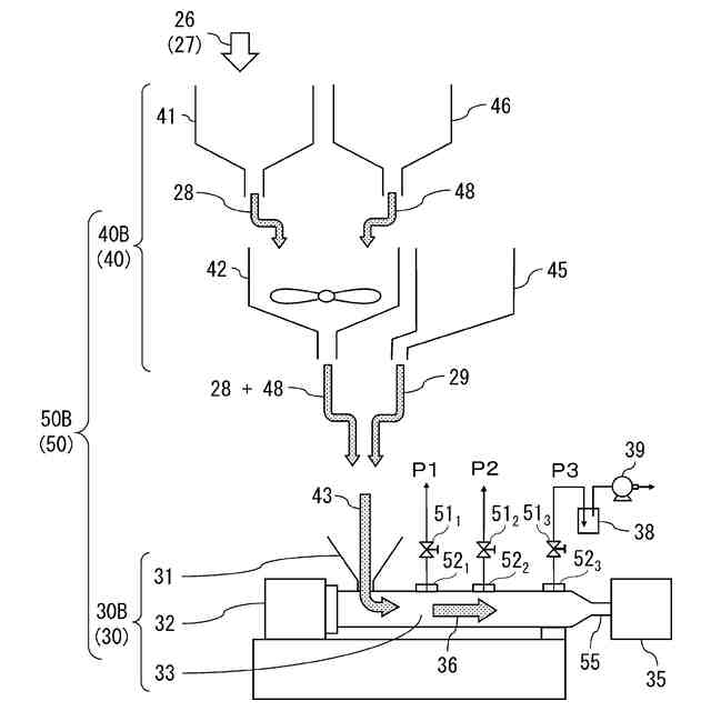
【課題】持続可能な開発目標(SDGs)の実現するために、石炭火力発電の副産物である既成灰の使用を促進し、二酸化炭素の排出削減に貢献する樹脂複合製品の製造技術を提供する。
【解決手段】火力発電10における石炭の燃焼残渣である石炭灰25(25a,25b)を専用処分場20で埋設処理し生成した既成灰26又は石炭の燃焼排煙24を脱硫し生成した金属硫酸塩27を回収する工程と、回収した既成灰26又は金属硫酸塩27の粒度、配合及び含水量の少なくとも一つを調整し再生粉体28にする工程と、再生粉体28及び合成樹脂29の混合体43を合成樹脂29が溶融する温度で加熱混錬し溶融混練体36を取り出す工程と、を含む。
【選択図】図1
特許請求の範囲
【請求項1】
火力発電における石炭の燃焼残渣である石炭灰を専用処分場で埋設処理し生成した既成灰、又は前記石炭の燃焼排煙を脱硫し生成した金属硫酸塩を、回収する工程と、
回収した前記既成灰又は前記金属硫酸塩の、粒度、配合及び含水量の少なくとも一つを調整し再生粉体にする工程と、
前記再生粉体及び合成樹脂の混合体を前記合成樹脂が溶融する温度で加熱混錬し溶融混練体を取り出す工程と、を含む、樹脂複合製品の製造方法。
続きを表示(約 590 文字)
【請求項2】
請求項1に記載の樹脂複合製品の製造方法において、
前記再生粉体に、前記金属硫酸塩、層状ケイ酸塩、多糖類ナノファイバー及び親水性セルロース誘導体の少なくとも一つを水又は多価アルコールに分散させた分散体を、さらに配合して前記混合体にする樹脂複合製品の製造方法。
【請求項3】
請求項1又は請求項2に記載の樹脂複合製品の製造方法において、
前記溶融混練体の取出口よりも上段に設けた脱水部で大気圧よりも高い設定圧力で脱水する工程を含む樹脂複合製品の製造方法。
【請求項4】
請求項1又は請求項2に記載の樹脂複合製品の製造方法において、
前記再生粉体を調整する工程において、
前記埋設処理することなく貯蔵している前記石炭灰又は燃焼設備の焼却灰を、さらに配合する樹脂複合製品の製造方法。
【請求項5】
請求項1又は請求項2に記載の樹脂複合製品の製造方法において、
前記石炭灰は、クリンカアッシュ及びフライアッシュの少なくとも一方で構成される樹脂複合製品の製造方法。
【請求項6】
請求項1又は請求項2に記載の樹脂複合製品の製造方法において、
取り出した前記溶融混練体を、ペレット、成形品、又は前記ペレットを経由した前記成形品にする樹脂複合製品の製造方法。
発明の詳細な説明
【技術分野】
【0001】
本発明は、石炭火力発電の副産物を使用することで、持続可能な開発目標(SDGs)の実現に貢献する樹脂複合製品を製造する技術に関する。
続きを表示(約 1,600 文字)
【背景技術】
【0002】
地球温暖化の原因とされるCO2の排出量を削減し、環境負荷を軽減する社会を実現する取り組みが世界中で進められている。そのような状況のもと、発電事業における石炭火力への依存を控えようとする国がある一方で、新興国ではエネルギー源としての安定的供給、経済性、環境適合、安全性の観点からさらなる活用が求められている。
【0003】
石炭の燃焼に伴うCO2排出量は他の化石燃料と比較して多いため、石炭火力発電では発電効率の向上により削減成果を実現する取り組みがなされている。さらに、石炭火力発電においては、環境負荷の軽減に向け、燃焼後の排ガスから硫黄成分を除去する脱硫装置が設けられている。
【0004】
ところで、石炭火力発電に伴う副産物として、フライアッシュ及びクリンカアッシュ等の石炭灰や、脱硫装置から石膏等が大量に生成する。日本国内の石炭火力発電における石炭灰の発生量は、年間で約900万トンで、そのうち約9割がフライアッシュである。また日本国内の石炭火力発電における、脱硫工程から発生する石膏は、年間約170万トンである。
【0005】
そして、フライアッシュは、直径0.1~300μm程度の球状粒子であるため、粒度調整のうえ工業規格化されて(「JIS灰」と呼ばれる)、セメント原料等に使用されている。また孔隙構造をとるクリンカアッシュは、軽量性、排水性、通気性、保水性及び保肥性に優れる特性を利用して、ゴルフ場や道路の下層路盤材、およびグラウンドの中層材、岸壁裏込材、テールアルメなどの軽量盛土材などに多く使用されている。また石膏はセメント原料の配合助剤又は石膏ボード等に大半が使用されている(例えば、非特許文献1,2)。
【先行技術文献】
【非特許文献】
【0006】
一般財団法人カーボンフロンティア機構ホームページ(https://www.jcoal.or.jp/ashdb/whatash/ashoutline.html)
一般財団法人セメント協会ホームページ(https://www.jcassoc.or.jp/cement/1jpn/jc.html#03)
【発明の概要】
【発明が解決しようとする課題】
【0007】
しかしながら、上述した石炭火力発電の副産物のうち、使用されずに専用処分場に埋設処理されるものも、多くあるのが実情である。具体的には、需要を超えるクリンカアッシュや、工業規格に適合しないフライアッシュ(「JIS外灰」という)等が埋設処分の対象になる。そして、昨今の石炭灰の使用動向を展望すると、専用処分場のひっ迫が今後予想され、その容量の確保や環境面の改善が望まれている。
【0008】
ここで、石炭火力発電で排出直後の石炭灰を新生灰といい、専用処分場に埋設処理されている石炭灰を既成灰を区別して呼称する。もしも、既成灰の使用を促進できれば、現在の専用処分場の延命化に繋がるだけではなく、既にある大量のストックから需要量に応じて柔軟な出荷に対応できる等、利点は多いと考えられる。
【0009】
しかしこれでは、新生灰を差し置いて既成灰を優先使用させる説明として、合理性や必然性が十分とは言い難い。また、石炭灰の使用を促すインセンティブが働く仕組みも未整備である。
【0010】
本発明はこのような事情を考慮してなされたもので、持続可能な開発目標(SDGs)の実現するために、石炭火力発電の副産物である既成灰の使用を促進し、二酸化炭素の排出削減に貢献する樹脂複合製品の製造技術を提供する。
【課題を解決するための手段】
(【0011】以降は省略されています)
この特許をJ-PlatPat(特許庁公式サイト)で参照する
関連特許
九電産業株式会社
樹脂複合製品の製造方法
22日前
九電産業株式会社
樹脂複合製品の製造方法
22日前
トヨタ自動車株式会社
空箱処理装置
1か月前
トヨタ自動車株式会社
空箱処理装置
1か月前
ダイハツ工業株式会社
発酵システム
1か月前
花王株式会社
焼却灰の処理方法
13日前
株式会社クボタ
嫌気性処理方法
3か月前
花王株式会社
焼却灰の処理方法
13日前
トヨタ自動車株式会社
バイオ炭製造方法
21日前
テクニカ合同株式会社
廃棄鶏の処理方法
13日前
三菱マテリアル株式会社
被処理物の解体装置
3か月前
株式会社トクヤマ
石膏粒体のか焼方法
1か月前
株式会社マクニカ
乾熱減容処理装置
1か月前
清水建設株式会社
汚染拡散防止構造
1か月前
学校法人東京農業大学
メタンガスの製造方法
2か月前
清水建設株式会社
加熱井戸の設置方法
1か月前
有限会社ジャパンガスセパレーション
メタンガス発生装置
4か月前
株式会社ミダック
覆土材料
3か月前
鹿島建設株式会社
土壌の浄化方法
1か月前
国立大学法人東海国立大学機構
有機物処理装置
3か月前
株式会社クボタ
メタン発酵装置およびメタン発酵処理方法
3か月前
極東開発工業株式会社
廃棄物処理装置
2か月前
国立大学法人東北大学
重金属の不溶化方法
今日
株式会社クボタ
収穫残渣の保管方法およびメタン発酵処理方法
3か月前
九電産業株式会社
樹脂複合製品の製造方法
22日前
トヨタ自動車株式会社
乾燥処理装置
2か月前
花王株式会社
吸水性ポリマーの処理方法
3か月前
株式会社大林組
有機フッ素化合物の浄化方法
3か月前
ヤンマーホールディングス株式会社
発酵処理装置
4か月前
株式会社トクヤマ
廃石膏ボードから紙片と石膏粒体を回収する方法
1か月前
光宇應用材料股ふん有限公司
環境にやさしい低炭素二酸化ケイ素の製造方法
1か月前
個人
フォーミング生成抑制材の製造方法及び廃タイヤのリサイクル処理方法
2か月前
鹿島建設株式会社
炭酸カルシウムの回収システム、炭酸カルシウムの回収方法
4か月前
トヨタ自動車株式会社
電池の処理方法および電池の処理システム
2か月前
株式会社豊田中央研究所
分離方法及び分離装置
4か月前
トリニティ工業株式会社
使用済みフィルタ処理装置、使用済みフィルタ処理方法
23日前
続きを見る
他の特許を見る