TOP
|
特許
|
意匠
|
商標
特許ウォッチ
Twitter
他の特許を見る
公開番号
2025114100
公報種別
公開特許公報(A)
公開日
2025-08-05
出願番号
2024008550
出願日
2024-01-24
発明の名称
空箱処理装置
出願人
トヨタ自動車株式会社
代理人
個人
主分類
B09B
3/30 20220101AFI20250729BHJP(固体廃棄物の処理;汚染土壌の再生)
要約
【課題】段ボールの空箱の処理を簡便に行うこと。
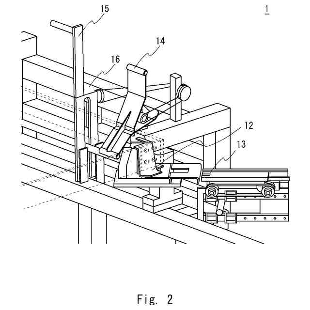
【解決手段】空箱処理装置1は、段ボールの空箱の展開を行う空箱処理装置であって、展開前の空箱を載置する載置部11と、空箱の角部の切り裂きを行う刃部12と、刃部12が空箱の角部に当接するように移動させる可動部13と、刃部12の切り裂きにより展開された段ボールを下降させる動作を行うガイド部14と、可動部13と、ガイド部14と、を動作させる動力を与える操作レバー15と、操作レバー15の操作に応じて発生した動力を、可動部13に伝達するとともに、ガイド部14に伝達するか否かを変更可能である動力伝達部16と、を備え、動力伝達部16は、刃部12により空箱の角部の切り裂きが行われた後に、ガイド部14に動力の伝達を開始する。
【選択図】図1
特許請求の範囲
【請求項1】
段ボールの空箱の展開を行う空箱処理装置であって、
展開前の空箱を載置する載置部と、
前記空箱の角部の切り裂きを行う刃部と、
前記刃部が前記空箱の角部に当接するように移動させる可動部と、
前記刃部の切り裂きにより展開された段ボールを下降させる動作を行うガイド部と、
前記可動部と、前記ガイド部と、を動作させる動力を与える操作レバーと、
前記操作レバーの操作に応じて発生した動力を、前記可動部に伝達するとともに、前記ガイド部に伝達するか否かを変更可能である動力伝達部と、を備え、
前記動力伝達部は、
前記刃部により前記空箱の角部の切り裂きが行われた後に、前記ガイド部への動力の伝達を開始する、
空箱処理装置。
発明の詳細な説明
【技術分野】
【0001】
本開示は、空箱処理装置に関する。
続きを表示(約 1,400 文字)
【背景技術】
【0002】
近年、工場などの量産ラインにおいて、段ボールなどが廃材として発生しないように、汎用通い箱を利用して物流が行われている。しかしながら、搬送の対象物が電池等であり、製品の大きさや海上輸送のルールなどに応じて、対象物が段ボールによる梱包で搬送される場合がある。
【0003】
特許文献1には、商品を収容した段ボール箱を自動で開梱してトレーに投入するための段ボール箱開梱システムが開示されている。
【先行技術文献】
【特許文献】
【0004】
特開2020-075731号公報
【発明の概要】
【発明が解決しようとする課題】
【0005】
廃材となる直方体状の段ボールは、蓋部を開いて十字展開して平積みしていくことにより、体積を小さくしておきたいという要望がある。しかしながら、段ボールをはじめとする梱包部材は、開梱や廃材処理は人による作業が前提とされており、例えば直方体の箱を十字に平面展開して平積みしていくには、立体を構成する辺を挟みやカッターなどの手工具で作業者が切断して重ねていく手間がかかる。一方で、ロボットを用いる場合には、箱のまま破砕することを前提とした大型クラッシャーの利用が一般的である。そのため、段ボールを展開して平積みしていく作業を簡便に行いたいという要望がある。
【0006】
本開示は、段ボールの空箱の処理を簡便に行う空箱処理装置を提供するものである。
【課題を解決するための手段】
【0007】
本開示にかかる空箱処理装置は、段ボールの空箱の展開を行う空箱処理装置であって、
展開前の空箱を載置する載置部と、前記空箱の角部の切り裂きを行う刃部と、前記刃部が前記空箱の角部に当接するように移動させる可動部と、前記刃部の切り裂きにより展開された段ボールを下降させる動作を行うガイド部と、前記可動部と、前記ガイド部と、を動作させる動力を与える操作レバーと、前記操作レバーの操作に応じて発生した動力を、前記可動部に伝達するとともに、前記ガイド部に伝達するか否かを変更可能である動力伝達部と、を備え、前記動力伝達部は、前記刃部により前記空箱の角部の切り裂きが行われた後に、前記ガイド部への動力の伝達を開始する。
これにより、動力を発生させる操作レバーを増設せずに、刃部を利用した段ボールの展開後に、ガイド部による段ボールの落下動作を行うことができる。
【発明の効果】
【0008】
本開示よれば、段ボールの空箱の処理を簡便に行うことができる空箱処理装置を提供することができる。
【図面の簡単な説明】
【0009】
実施の形態1にかかる空箱処理装置の要部を示した斜視図である。
実施の形態1にかかる空箱処理装置の要部を拡大した斜視図である。
実施の形態1にかかる空き箱処理装置の処理フローを示した図である。
【発明を実施するための形態】
【0010】
実施の形態1
以下、図面を参照して本実施の形態に係る空箱処理装置について説明する。図1は、空箱処理装置1の構成の要部を示す図である。
(【0011】以降は省略されています)
この特許をJ-PlatPat(特許庁公式サイト)で参照する
関連特許
トヨタ自動車株式会社
車両
4日前
トヨタ自動車株式会社
電池
今日
トヨタ自動車株式会社
車両
4日前
トヨタ自動車株式会社
電解液
4日前
トヨタ自動車株式会社
電動車
4日前
トヨタ自動車株式会社
電動車
4日前
トヨタ自動車株式会社
回転子
4日前
トヨタ自動車株式会社
電動車
4日前
トヨタ自動車株式会社
電動車
今日
トヨタ自動車株式会社
電源装置
4日前
トヨタ自動車株式会社
蓄電装置
4日前
トヨタ自動車株式会社
駆動装置
4日前
トヨタ自動車株式会社
切断装置
4日前
トヨタ自動車株式会社
制御装置
4日前
トヨタ自動車株式会社
電動車両
4日前
トヨタ自動車株式会社
ロボット
今日
トヨタ自動車株式会社
蓄電セル
4日前
トヨタ自動車株式会社
電池パック
今日
トヨタ自動車株式会社
電気自動車
4日前
トヨタ自動車株式会社
電池パック
今日
トヨタ自動車株式会社
積層構造体
4日前
トヨタ自動車株式会社
シフト機構
4日前
トヨタ自動車株式会社
電極積層体
5日前
トヨタ自動車株式会社
電池パック
4日前
トヨタ自動車株式会社
充電システム
4日前
トヨタ自動車株式会社
車両制御装置
4日前
トヨタ自動車株式会社
駐車支援方法
4日前
トヨタ自動車株式会社
車両診断装置
4日前
トヨタ自動車株式会社
コネクタ構造
4日前
トヨタ自動車株式会社
空間評価装置
4日前
トヨタ自動車株式会社
情報処理装置
今日
トヨタ自動車株式会社
軌道生成装置
今日
トヨタ自動車株式会社
車両制御装置
今日
トヨタ自動車株式会社
情報処理装置
4日前
トヨタ自動車株式会社
重量物収容装置
4日前
トヨタ自動車株式会社
熱管理システム
4日前
続きを見る
他の特許を見る