TOP
|
特許
|
意匠
|
商標
特許ウォッチ
Twitter
他の特許を見る
公開番号
2025112130
公報種別
公開特許公報(A)
公開日
2025-07-31
出願番号
2024006234
出願日
2024-01-18
発明の名称
乾燥処理装置
出願人
トヨタ自動車株式会社
代理人
弁理士法人高田・高橋国際特許事務所
主分類
B09B
3/40 20220101AFI20250724BHJP(固体廃棄物の処理;汚染土壌の再生)
要約
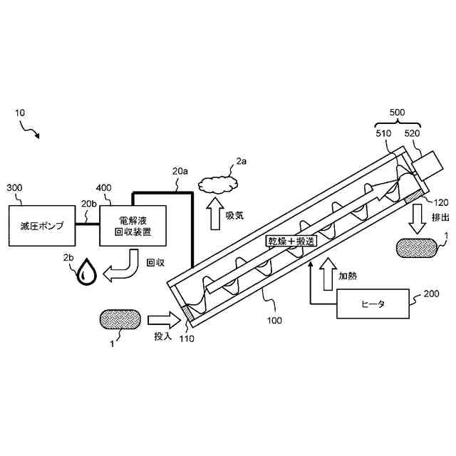
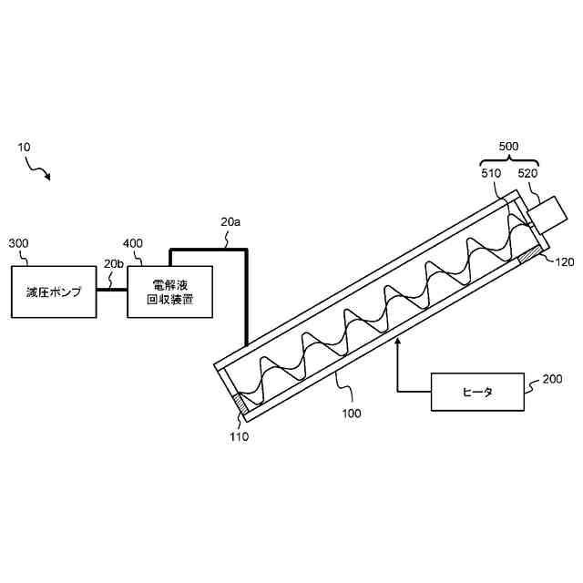
【課題】電解液を含有する電池の破砕片から電解液を除去するための乾燥処理工程を含む使用済み電池の処理方法に関して、工程短縮を可能とする乾燥処理装置を提案する。
【解決手段】乾燥処理装置は、破砕片を投入するための投入口と破砕片を排出するための排出口を有する筐体と、筐体の内部空間に設けられたスクリュー羽根とスクリュー羽根を駆動する駆動装置を含み、スクリュー羽根の押し出し作用によって投入口から投入された破砕片を排出口まで搬送するスクリューコンベアと、筐体を加熱するヒータを備える。乾燥処理装置は、ヒータが筐体を加熱している最中に、駆動装置がスクリュー羽根を駆動する。
【選択図】図1
特許請求の範囲
【請求項1】
電解液を含有する電池の破砕片から前記電解液を気化させる乾燥処理装置であって、
前記破砕片を投入するための投入口と前記破砕片を排出するための排出口を有する筐体と、
前記筐体の内部空間に設けられたスクリュー羽根と前記スクリュー羽根を駆動する駆動装置を含み、前記スクリュー羽根の押し出し作用によって前記投入口から投入された前記破砕片を前記排出口まで搬送するスクリューコンベアと、
前記筐体を加熱するヒータと、
を備え、
前記ヒータが前記筐体を加熱している最中に、前記駆動装置が前記スクリュー羽根を駆動する
乾燥処理装置。
続きを表示(約 520 文字)
【請求項2】
請求項1に記載の乾燥処理装置であって、
前記筐体に接続され、前記内部空間を減圧する減圧ポンプをさらに備え、
前記ヒータが前記筐体を加熱している最中に、前記減圧ポンプが駆動される
乾燥処理装置。
【請求項3】
請求項2に記載の乾燥処理装置であって、
前記筐体と前記減圧ポンプの間に設けられ、気体状態の前記電解液を凝縮して回収する電解液回収装置をさらに備える
乾燥処理装置。
【請求項4】
請求項1乃至3のいずれか1項に記載の乾燥処理装置であって、
前記内部空間を形成する前記筐体の内側壁面は、前記筐体の下方に向かって凸状湾曲する底壁面を含み、
前記ヒータは、前記スクリュー羽根の軸方向に沿う前記筐体の外側壁面を加熱するように構成され、
前記スクリュー羽根の外縁部は、前記底壁面の湾曲部に当接するように構成されている
乾燥処理装置。
【請求項5】
請求項1乃至3のいずれか1項に記載の乾燥処理装置であって、
前記スクリューコンベアは、無軸式のスクリューコンベアであるである
乾燥処理装置。
発明の詳細な説明
【技術分野】
【0001】
本開示は、電解液を含有する電池の破砕片を電解液が気化するように乾燥処理を行う技術に関する。
続きを表示(約 1,600 文字)
【背景技術】
【0002】
特許文献1は、使用済みリチウムイオン電池の処理方法に関する技術を開示している。特許文献1には、リチウムイオン電池の破砕片(粉砕材料)の乾燥処理を行う工程と、乾燥された破砕片を搬送用設備(コンベア)で輸送容器に搬送する工程と、を含むリチウムイオン電池の処理方法が開示されている。
【0003】
その他、本開示に関連する技術分野の技術水準を示す文献として、以下の特許文献2~4を例示することができる。
【先行技術文献】
【特許文献】
【0004】
特開2023-052213号公報
特開平08-117719号公報
特開2003-200146号公報
特開2002-273400号公報
【発明の概要】
【発明が解決しようとする課題】
【0005】
特許文献1で開示されるように、使用済み電池の処理方法として、電解液を含有する電池の破砕片から電解液を除去するための乾燥処理を行う工程を含む処理方法がある。乾燥処理は、電解液を十分に除去することが求められるため、少なくない時間を要する処理である。このため、このような処理方法では、乾燥処理を行う工程と次の処理工程まで搬送を行う工程が律速過程となるおそれがある。本開示の1つの目的は、乾燥処理を行う工程を含む処理方法に関して、工程短縮を可能とする技術を提供することにある。
【課題を解決するための手段】
【0006】
本開示の1つの観点は、電解液を含有する電池の破砕片から電解液を気化させる乾燥処理装置に関連する。乾燥処理装置は、破砕片を投入するための投入口と破砕片を排出するための排出口を有する筐体と、筐体の内部空間に設けられたスクリュー羽根とスクリュー羽根を駆動する駆動装置を含み、スクリュー羽根の押し出し作用によって投入口から投入された破砕片を排出口まで搬送するスクリューコンベアと、筐体を加熱するヒータを備える。乾燥処理装置は、ヒータが筐体を加熱している最中に、駆動装置がスクリュー羽根を駆動する。
【発明の効果】
【0007】
本開示によれば、乾燥処理装置は、筐体に投入された破砕片を、破砕片から電解液を気化させる乾燥処理を行いながら投入口から排出口まで搬送することができる。これにより、乾燥処理工程と搬送工程を集約することができる。結果として、乾燥処理工程を含む処理方法において、効果的な工程短縮を実現することができる。
【図面の簡単な説明】
【0008】
実施の形態に係る乾燥処理装置の構成を示す図である。
図1に示す構成に基づいて、実施の形態に係る乾燥処理装置の動作を示す図である。
実施の形態に係る乾燥処理装置に関して、破砕片の加熱を効率的に行うための構成について説明するための図である。
【発明を実施するための形態】
【0009】
以下、図面を参照しながら、本開示の実施形態について説明する。なお、各図において、同一又は相当する部分には同一符号を付してその説明を簡略化し又は省略する。
【0010】
1 概要
使用済み電池は、再資源化や廃棄を目的として、様々な処理工程を経て処理される。特に使用済み電池の処理では、電池に含まれる電解液を適切に除去・回収することが求められる。このために、使用済み電池の処理方法として、粉砕された電池の破砕片を乾燥させることにより電解液を含有する破砕片から電解液を気化させる処理工程(乾燥処理工程)を含む処理方法がある。乾燥処理工程では、電池の破砕片を電解液の気化条件に応じた温度・圧力の雰囲気で保持することが行われる。本実施の形態は、乾燥処理工程を実施するための乾燥処理装置に関する。
(【0011】以降は省略されています)
この特許をJ-PlatPat(特許庁公式サイト)で参照する
関連特許
トヨタ自動車株式会社
情報処理装置
今日
トヨタ自動車株式会社
可変界磁ロータ
今日
トヨタ自動車株式会社
ハイブリッド車両の制御装置
今日
花王株式会社
焼却灰の処理方法
1か月前
花王株式会社
焼却灰の処理方法
1か月前
トヨタ自動車株式会社
バイオ炭製造方法
1か月前
テクニカ合同株式会社
廃棄鶏の処理方法
1か月前
株式会社トクヤマ
石膏粒体のか焼方法
2か月前
株式会社シーパーツ
自動車解体破砕方法
28日前
株式会社マクニカ
乾熱減容処理装置
2か月前
清水建設株式会社
汚染拡散防止構造
2か月前
清水建設株式会社
加熱井戸の設置方法
2か月前
鹿島建設株式会社
土壌の浄化方法
2か月前
株式会社クリンテック
熱分解炉
5日前
清水建設株式会社
遮水層構築の降雨対策方法
5日前
株式会社LIXIL
汚物処理装置
1か月前
国立大学法人東北大学
重金属の不溶化方法
1か月前
九電産業株式会社
樹脂複合製品の製造方法
1か月前
株式会社エネアグリ
乾式メタン発酵システムおよび乾式メタン発酵方法
13日前
株式会社エネアグリ
乾式メタン発酵システムおよび乾式メタン発酵方法
13日前
王子ホールディングス株式会社
ベールの製造方法
26日前
株式会社神鋼環境ソリューション
メタン発酵装置、及び、メタン発酵方法
25日前
株式会社トクヤマ
廃石膏ボードから紙片と石膏粒体を回収する方法
2か月前
JFEエンジニアリング株式会社
焼却灰貯留装置
6日前
光宇應用材料股ふん有限公司
環境にやさしい低炭素二酸化ケイ素の製造方法
2か月前
トリニティ工業株式会社
使用済みフィルタ処理装置、使用済みフィルタ処理方法
1か月前
JFEエンジニアリング株式会社
焼却灰処理システム
1か月前
太平洋セメント株式会社
重金属類不溶化材及び固化不溶化処理方法
3か月前
東洋建設株式会社
遮水構造体の施工方法及び圧着機
3か月前
生態環境部南京環境科学研究所
重金属汚染土壌を原位置で生態学的に修復する方法
11日前
株式会社宮原機工
有機物並びに有機廃棄物の炭化装置
1か月前
川崎重工業株式会社
焼却灰の骨材化システムおよび骨材化方法
1か月前
川崎重工業株式会社
焼却灰の骨材化システムおよび骨材化方法
1か月前
太平洋セメント株式会社
有価金属含有廃棄物からの金の回収方法
1か月前
株式会社環境保全サービス
ガラスの回収システム及びクラッシャ
28日前
学校法人早稲田大学
金属シリコンとガラスの溶融分離方法
11日前
続きを見る
他の特許を見る