TOP
|
特許
|
意匠
|
商標
特許ウォッチ
Twitter
他の特許を見る
10個以上の画像は省略されています。
公開番号
2025141592
公報種別
公開特許公報(A)
公開日
2025-09-29
出願番号
2024041603
出願日
2024-03-15
発明の名称
太陽電池ガラス
出願人
株式会社LIXIL
代理人
個人
主分類
E06B
5/00 20060101AFI20250919BHJP(戸,窓,シャッタまたはローラブラインド一般;はしご)
要約
【課題】発電した電力を有効に利用することのできる太陽電池ガラスを提供する。
【解決手段】太陽電池ガラス10は、第1ガラスパネル11と、第2ガラスパネル12と、第1ガラスパネル11と第2ガラスパネル12の間に挟まれるように配置された太陽電池モジュール13と、エレクトロクロミックモジュール14の室内側面12b上に配置された、電力の印加により光透過率を変化可能なエレクトロクロミックモジュール14と、太陽電池モジュール13で生じた電力を調整してエレクトロクロミックモジュール14に供給する電力制御部40とを備える。
【選択図】図1
特許請求の範囲
【請求項1】
ガラスパネルと、
前記ガラスパネルの主面上に配置された、電力の印加により光透過率を変化可能なエレクトロクロミックモジュールと、
前記エレクトロクロミックモジュールよりも室外側に配置された太陽電池モジュールと、
前記太陽電池モジュールで生じた電力を調整して前記エレクトロクロミックモジュールに供給する電力制御部と、
を備える太陽電池ガラス。
続きを表示(約 1,300 文字)
【請求項2】
前記電力制御部は、前記太陽電池モジュールで生じた電力を蓄電する蓄電池を含む、請求項1に記載の太陽電池ガラス。
【請求項3】
前記ガラスパネルは、室外側に配置される第1ガラスパネルと、室内側に配置される第2ガラスパネルと、を含み、
前記太陽電池モジュールは、前記第1ガラスパネルの室内側面と前記第2ガラスパネルの室外側面との間に挟まれるように配置され、
前記エレクトロクロミックモジュールは、前記第2ガラスパネルの室内側面上に配置される、請求項1または2に記載の太陽電池ガラス。
【請求項4】
前記第2ガラスパネルとの間に空気層を形成するように配置された第3ガラスパネルをさらに備える、請求項3に記載の太陽電池ガラス。
【請求項5】
前記ガラスパネルは、室外側に配置される第1ガラスパネルと、室内側に配置される第2ガラスパネルと、を含み、
前記太陽電池モジュールは、前記第1ガラスパネルの室内側面と前記第2ガラスパネルの室外側面との間に挟まれるように配置され、
前記第2ガラスパネルとの間に空気層を形成するように配置された第3ガラスパネルをさらに備え、
前記エレクトロクロミックモジュールは、前記第3ガラスパネルの室外側面上または室内側面上に配置される、請求項1または2に記載の太陽電池ガラス。
【請求項6】
前記ガラスパネルは、室外側に配置される第1ガラスパネルと、室内側に配置される第2ガラスパネルと、を含み、
前記第1ガラスパネルと前記第2ガラスパネルとの間に空気層が形成され、
前記太陽電池モジュールは、前記第1ガラスパネルの室内側面上に配置され、
前記エレクトロクロミックモジュールは、前記第2ガラスパネルの室外側面上または室内側面上に配置される、請求項1または2に記載の太陽電池ガラス。
【請求項7】
前記ガラスパネルは、室外側に配置される第1ガラスパネルと、室内側に配置される第2ガラスパネルと、を含み、
前記第1ガラスパネルと前記第2ガラスパネルとの間に空気層が形成され、
前記太陽電池モジュールは、前記第1ガラスパネルの室内側面上に配置され、
前記エレクトロクロミックモジュールは、前記太陽電池モジュール上に配置される、請求項1または2に記載の太陽電池ガラス。
【請求項8】
前記太陽電池モジュールは、前記ガラスパネルの室内側面上に配置され、
前記エレクトロクロミックモジュールは、前記太陽電池モジュール上に配置される、請求項1または2に記載の太陽電池ガラス。
【請求項9】
前記ガラスパネルは、室外側に配置される第1ガラスパネルと、室内側に配置される第2ガラスパネルと、を含み、
前記第1ガラスパネルと前記第2ガラスパネルとの間に空気層が形成され、
前記太陽電池モジュールは、前記第2ガラスパネルの室内側面上に配置され、
前記エレクトロクロミックモジュールは、前記太陽電池モジュール上に配置される、請求項1または2に記載の太陽電池ガラス。
発明の詳細な説明
【技術分野】
【0001】
本発明は、太陽電池モジュールを備えた太陽電池ガラスに関する。
続きを表示(約 1,600 文字)
【背景技術】
【0002】
従来、一対のガラスパネル間に太陽電池セル層を設けた合わせガラスタイプの太陽電池ガラスが知られている。また、合わせガラスタイプの太陽電池ガラスとガラスパネルとの間に中空層を設けた合わせ複層ガラスタイプの太陽電池複層ガラスも知られている(例えば特許文献1参照)。
【先行技術文献】
【特許文献】
【0003】
特開2017-85750号公報
【発明の概要】
【発明が解決しようとする課題】
【0004】
しかしながら、特許文献1に開示されるような従来の太陽電池モジュールを備えるガラスでは、発電した電力をどのように利用するのか開示されていない。
【0005】
本発明は、このような課題に鑑みてなされ、その目的は、発電した電力を有効に利用することのできる太陽電池ガラスを提供することにある。
【課題を解決するための手段】
【0006】
上記課題を解決するために、本発明のある態様の太陽電池ガラスは、ガラスパネルと、ガラスパネルの主面上に配置された、電力の印加により光透過率を変化可能なエレクトロクロミックモジュールと、エレクトロクロミックモジュールよりも室外側に配置された太陽電池モジュールと、太陽電池モジュールで生じた電力を調整してエレクトロクロミックモジュールに供給する電力制御部と、を備える。
【図面の簡単な説明】
【0007】
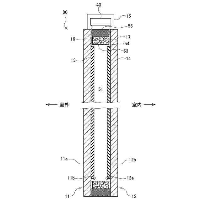
第1実施形態に係る太陽電池ガラスを示す概略断面図である。
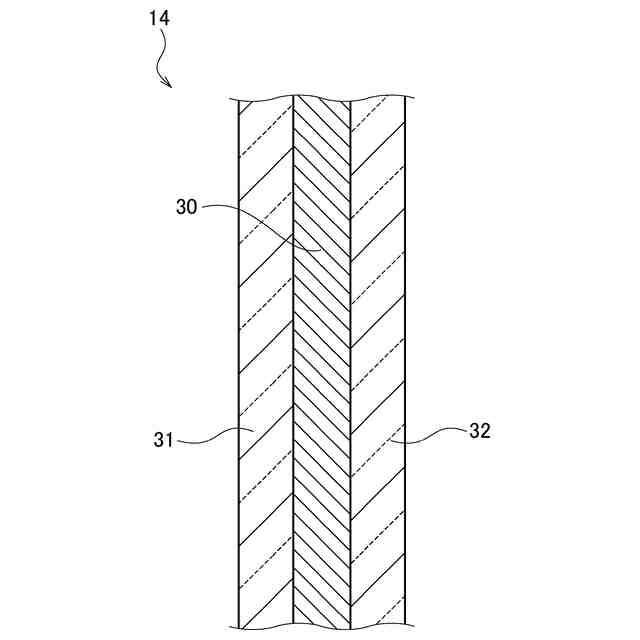
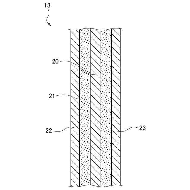
太陽電池モジュールの層構成の一例を示す図である。
エレクトロクロミックモジュールの層構成の一例を示す図である。
電力制御部の機能ブロック図である。
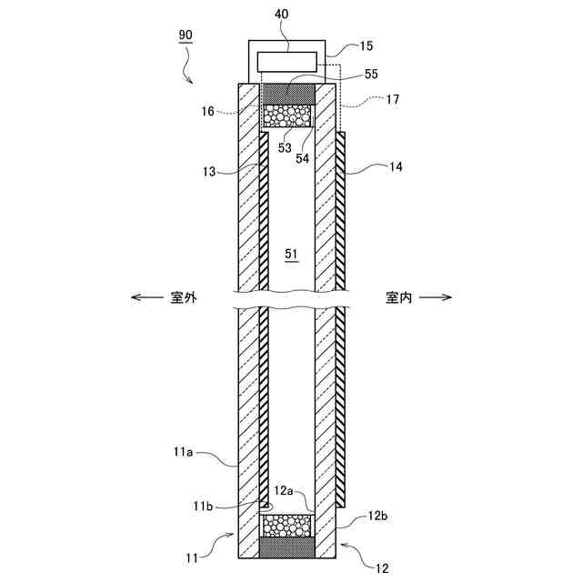
第2実施形態に係る太陽電池ガラスを示す概略断面図である。
第3実施形態に係る太陽電池ガラスを示す概略断面図である。
第4実施形態に係る太陽電池ガラスを示す概略断面図である。
第5実施形態に係る太陽電池ガラスを示す概略断面図である。
第6実施形態に係る太陽電池ガラスを示す概略断面図である。
第7実施形態に係る太陽電池ガラスを示す概略断面図である。
第8実施形態に係る太陽電池ガラスを示す概略断面図である。
第9実施形態に係る太陽電池ガラスを示す概略断面図である。
【発明を実施するための形態】
【0008】
以下、本発明を好適な実施の形態をもとに図面を参照しながら説明する。以下の構成は本開示を理解するための例示を目的とするものであり、本開示の範囲は、添付の請求の範囲によってのみ定まる。各図面に示される同一または同等の構成要素、部材には、同一の符号を付するものとし、適宜重複した説明は省略する。また、各図面における部材の寸法は、理解を容易にするために適宜拡大、縮小して示される。また、各図面において実施の形態を説明する上で重要ではない部材の一部は省略して表示する。
【0009】
(第1実施形態)
図1は、第1実施形態に係る太陽電池ガラス10を示す概略断面図である。図1に示す太陽電池ガラス10の外周端部は、フレーム(サッシ)により支持され得る。太陽電池ガラス10とフレームとを備えるガラス窓は、建物や乗り物の開口部に配置され得る。
【0010】
図1に示すように、太陽電池ガラス10は、透光性を有する一対のガラスパネル(第1ガラスパネル11および第2ガラスパネル12)と、太陽電池モジュール13(PVモジュール)と、エレクトロクロミックモジュール(ECモジュール)14と、太陽電池ガラス10の上部に設けられた端子箱15と、を備える。
(【0011】以降は省略されています)
この特許をJ-PlatPat(特許庁公式サイト)で参照する
関連特許
株式会社LIXIL
建具
14日前
株式会社LIXIL
トイレ装置
14日前
株式会社LIXIL
シリンダ錠
17日前
株式会社LIXIL
カーテンウォール
7日前
株式会社LIXIL
カーテンウォール
7日前
株式会社LIXIL
混合装置及び水回り装置
今日
株式会社LIXIL
建具及び建具の施工方法
14日前
株式会社LIXIL
シリンダ錠及び建物設備機器群
17日前
株式会社LIXIL
支援装置、支援プログラム、及び方法
10日前
株式会社LIXIL
トイレ装置、トイレシステム及び排卵推測装置
21日前
株式会社LIXIL
床モジュール、床構造体及び床構造体の施工方法
3日前
株式会社LIXIL
物品収納提案装置、物品収納提案方法、端末装置
14日前
株式会社LIXIL
屋根構造体
9日前
株式会社LIXIL
改装サッシ
21日前
株式会社LIXIL
表示制御装置、表示制御システム、プログラム及び表示制御方法
17日前
株式会社LIXIL
吐水システム、浴室ユニット、コンピュータプログラム及び制御方法
8日前
株式会社LIXIL
制御装置、コンピュータプログラム、調整方法、及び、制御システム
今日
大和ハウス工業株式会社
外壁の断熱改修構造および外壁の断熱改修方法
今日
株式会社LIXIL
制御装置、混合装置ユニット、水回り装置、コンピュータプログラム、及び制御方法
今日
株式会社LIXIL
制御装置、混合装置ユニット、水回り装置、コンピュータプログラム、及び制御方法
今日
株式会社LIXILトータルサービス
コンピュータープログラム、情報管理装置、端末装置、情報管理システム及び制御方法
14日前
中国電力株式会社
脚立
2か月前
株式会社ESP
止水板
2か月前
株式会社ナカオ
作業台
1か月前
三協立山株式会社
開口部装置
1か月前
三協立山株式会社
開口部装置
1か月前
三協立山株式会社
開口部装置
1か月前
三協立山株式会社
開口部装置
17日前
三協立山株式会社
開口部装置
1か月前
三協立山株式会社
開口部装置
1か月前
ミサワホーム株式会社
水切り材
2か月前
不二サッシ株式会社
引違いサッシ
16日前
不二サッシ株式会社
引違いサッシ
1か月前
文化シヤッター株式会社
止水装置
16日前
株式会社TJMデザイン
脚立用ホルダー
3か月前
文化シヤッター株式会社
引戸装置
7日前
続きを見る
他の特許を見る