TOP
|
特許
|
意匠
|
商標
特許ウォッチ
Twitter
他の特許を見る
10個以上の画像は省略されています。
公開番号
2025114399
公報種別
公開特許公報(A)
公開日
2025-08-05
出願番号
2024009074
出願日
2024-01-24
発明の名称
縦型ブラインド
出願人
株式会社ニチベイ
代理人
個人
主分類
E06B
9/36 20060101AFI20250729BHJP(戸,窓,シャッタまたはローラブラインド一般;はしご)
要約
【課題】より容易に隣り合うキャリア同士の最大間隔を調整することが可能な縦型ブラインドを提供する。
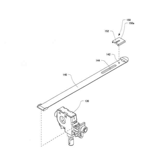
【解決手段】ヘッドレール110の内部をヘッドレール110の長手方向に沿って移動可能に設けられ、夫々からルーバー120を吊り下げる複数のキャリア130と、複数のキャリア130のうち隣り合うキャリア130の間を連結し、複数のキャリア130の展開時における隣り合うキャリア130の間の最大距離を規定するスペーサリンク140と、スペーサリンク140に対して相対移動不能に固定され、最大距離を短く調整するピッチスペーサ150と、を備えることを特徴とする。かかる構成によれば、スペーサリンクにピッチスペーサを取り付けるだけの容易な作業で隣り合うキャリア同士の最大間隔を調整できる。よって、より容易に隣り合うキャリア同士の最大間隔を調整することが可能である。
【選択図】図4
特許請求の範囲
【請求項1】
ヘッドレールの内部を前記ヘッドレールの長手方向に沿って移動可能に設けられ、夫々からルーバーを吊り下げる複数のキャリアと、
前記複数のキャリアのうち隣り合うキャリアの間を連結し、前記複数のキャリアの展開時における前記隣り合うキャリアの間の最大距離を規定するスペーサリンクと、
前記スペーサリンクに対して相対移動不能に固定され、前記最大距離を短く調整するピッチスペーサと、
を備えることを特徴とする、縦型ブラインド。
続きを表示(約 710 文字)
【請求項2】
前記隣り合うキャリアのうち一方のキャリアは、前記スペーサリンクの一端部に前記スペーサリンクに対して相対移動不能に連結され、
前記隣り合うキャリアのうち他方のキャリアは、前記スペーサリンクの他端部から前記一方のキャリアまでの間を摺動可能となるように前記スペーサリンクに連結され、
前記ピッチスペーサは、前記他方のキャリアと前記スペーサリンクの他端部との間に配置されることで、前記最大距離を短く調整することを特徴とする、請求項1に記載の縦型ブラインド。
【請求項3】
前記スペーサリンクと前記ピッチスペーサとの間には、前記ピッチスペーサを前記スペーサリンクに着脱可能に固定するための固定手段が設けられることを特徴とする、請求項2に記載の縦型ブラインド。
【請求項4】
前記固定手段は、前記ピッチスペーサを前記スペーサリンクに固定する位置を、前記スペーサリンクの前記長手方向における複数の位置から選択可能に構成されることを特徴とする、請求項3に記載の縦型ブラインド。
【請求項5】
前記固定手段は、前記スペーサリンク及び前記ピッチスペーサのいずれか一方に設けられる係止部と、前記スペーサリンク及び前記ピッチスペーサのいずれか他方に設けられ前記係止部が係止可能な被係止部とで構成されることを特徴とする、請求項3又は4に記載の縦型ブラインド。
【請求項6】
前記固定手段は前記スペーサリンクに形成された窪みであり、前記ピッチスペーサは前記窪みに嵌合して相対移動不能に固定されることを特徴とする、請求項4に記載の縦型ブラインド。
発明の詳細な説明
【技術分野】
【0001】
本発明は、縦型ブラインドに関する。
続きを表示(約 1,400 文字)
【背景技術】
【0002】
従来の縦型ブラインドとしては、特開2010-180677号公報(特許文献1)に示されるものがある。同文献に示される縦型ブラインドは、ヘッドレール内を移動可能に配列された複数のキャリアのそれぞれからルーバーを吊り下げ支持し、隣り合うキャリア同士をスペーサリンクでそれぞれ連結することにより、先頭に位置するマスターキャリアに牽引されて後続のキャリアが順次引き出されるように構成されている。また、キャリアとスペーサリンクとの間には、隣り合うキャリア同士の最大間隔を調整することが可能な間隔調整手段が設けられている。
【0003】
この間隔調整手段は、例えばキャリアに設けられる係止部と、スペーサリンクに設けられる複数の被係止部とで構成され、係止部に係止される被係止部を変更することにより、隣り合うキャリア同士の最大間隔を調整することができる。
【0004】
このような縦型ブラインドによれば、製品幅に応じて隣り合うキャリア同士の最大間隔を調整し、キャリアの展開時に隣り合うルーバーの間隔を全て略同一にすることができる。
【先行技術文献】
【特許文献】
【0005】
特開2010-180677号公報
【発明の概要】
【発明が解決しようとする課題】
【0006】
しかしながら、特許文献1に示されるような従来の縦型ブラインドは、間隔調整手段を用いて隣り合うキャリア同士の最大間隔を小さくするように調整する場合には、スペーサリンクの端部がキャリアから突出する。このため、キャリアの畳込み時に隣り合うキャリアに干渉しないように当該突出部分を切断する必要があり、調整作業に手間を要していた。そのため、より容易に隣り合うキャリア同士の最大間隔を調整することが可能な縦型ブラインドが望まれていたという課題があった。
【0007】
本発明は上記課題に鑑みてなされたものであり、より容易に隣り合うキャリア同士の最大間隔を調整することが可能な縦型ブラインドを提供することを目的とする。
【課題を解決するための手段】
【0008】
上記課題を解決するために、本発明によれば、ヘッドレールの内部を前記ヘッドレールの長手方向に沿って移動可能に設けられ、夫々からルーバーを吊り下げる複数のキャリアと、前記複数のキャリアのうち隣り合うキャリアの間を連結し、前記複数のキャリアの展開時における前記隣り合うキャリアの間の最大距離を規定するスペーサリンクと、前記スペーサリンクに対して相対移動不能に固定され、前記最大距離を短く調整するピッチスペーサと、を備えることを特徴とする、縦型ブラインドが提供される。
【0009】
かかる構成によれば、スペーサリンクにピッチスペーサを取り付けるだけの容易な作業で隣り合うキャリア同士の最大間隔を調整できる。よって、より容易に隣り合うキャリア同士の最大間隔を調整することが可能である。
【0010】
また、ピッチスペーサがスペーサリンクに対して相対移動不能に固定されるため、キャリアを畳み込んだ際にスペーサリンク上をピッチスペーサが移動してしまうことでスペーサリンクの上下方向の重なり代が大きくなることを抑止でき、結果として、スペーサリンクがヘッドレールの天面と干渉してキャリアの畳込み不良が生じることを抑止できる。
(【0011】以降は省略されています)
この特許をJ-PlatPat(特許庁公式サイト)で参照する
関連特許
株式会社ニチベイ
遮蔽構造
10日前
株式会社ニチベイ
ルーバー回転装置及び間仕切装置
8日前
株式会社ニチベイ
ルーバー回転装置及び間仕切装置
8日前
株式会社ナカオ
作業台
1か月前
三協立山株式会社
開口部装置
1か月前
三協立山株式会社
開口部装置
1か月前
三協立山株式会社
開口部装置
1か月前
三協立山株式会社
開口部装置
4日前
三協立山株式会社
開口部装置
1か月前
三協立山株式会社
開口部装置
1か月前
文化シヤッター株式会社
止水装置
3日前
不二サッシ株式会社
引違いサッシ
1か月前
不二サッシ株式会社
引違いサッシ
3日前
三協立山株式会社
サッシの製造方法
1か月前
株式会社LIXIL
太陽電池ガラス
12日前
株式会社LIXIL
建具
8日前
株式会社LIXIL
建具
9日前
株式会社LIXIL
建具
9日前
株式会社LIXIL
建具
9日前
株式会社LIXIL
建具
9日前
株式会社LIXIL
建具
9日前
株式会社LIXIL
建具
12日前
株式会社LIXIL
建具
22日前
株式会社LIXIL
建具
22日前
株式会社LIXIL
建具
22日前
株式会社LIXIL
建具
9日前
株式会社LIXIL
建具
22日前
株式会社LIXIL
建具
1日前
倉敷紡績株式会社
外構ユニット
2日前
三和シヤッター工業株式会社
枠構造
1か月前
三和シヤッター工業株式会社
制御システム
2日前
清水建設株式会社
化粧カバー
15日前
ソムフィ株式会社
電動開閉部制御ユニット
24日前
株式会社ニチベイ
ロールスクリーン
15日前
ミサワホーム株式会社
屋外設置物の支持構造
2日前
三和シヤッター工業株式会社
フック棒
3日前
続きを見る
他の特許を見る